123886 (689685), страница 3
Текст из файла (страница 3)
Kб– коэффициент, Kб=1,2(1.табл.9.19);
Kт– коэффициент, Kт=1(1.табл.9.20).
Pэ4= 1*5877*1,2*1=7052 Н
Расчетную долговечность L4, млн.об, вычисляют по формуле
L4=(C/Pэ4)3,
где C–динамическая грузоподъемность, C=63,7 кН (табл.2).
L4=(63,7/7,052)3= 737 млн.об.
Расчетную долговечность Lh4, ч, вычислят по формуле
Lh4=(L4*106)/(60*n),
где n–частота вращения ведомого вала, n=237,3 об/мин(табл.1).
Lh4=(737*106)/(60*237,3)≈ 52 000 ч
Данная долговечность приемлема
2.2.8 Уточненный расчет валов
Принимаем для валов Сталь 45, термическая обработка–нормализация.
Пределы выносливости σ-1, τ-1, МПа вычисляют по формуле
σ-1=0,43*[σв]
τ-1=0,58* σ-1,
где [σв]–предел прочности, [σв]=570 МПа (1.табл.3.3).
σ-1=0,43*570=245 МПа
τ-1=0,58*245=142 МПа
Ведущий вал
Сечение А-А (под муфтой)
Концентрация напряжений вызвана наличием шпоночной канавки.
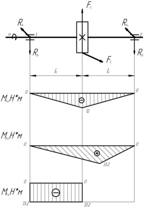
Изгибающий момент М1, Н*мм, по ГОСТ 16162-78 вычисляют по формуле
М1=2,5*√T1*(L/2),
где L–длина посадочного участка полумуфты, L=0,08 м.
М1=2,5*√33,2*1000*(0,08/2)=18,2 Н*мм
Момент сопротивления сечения W1, мм3, вычисляют по формуле
W1=π*(dв1)3/32-(b1*t1*(dв1-t1)2/(2*dв1)),
W1=3,14*(30)3/32-(10*5*(30-5)2/(2*30))=2,13*103 мм3
Амплитуду и максимальное напряжение цикла по нормальным напряжениям συ, МПа, вычисляют по формуле
συ= σmax= М1/ W1
συ= σmax=18,2*103/2,13*103=8,5 МПа
Коэффициент запаса прочности по нормальным напряжениям sυ вычисляют по формуле
sσ= σ-1/(( kσ/ εσ)* συ),
где kσ=1,6 (1.табл.8.5);
εσ=0,88 (1.табл.8.8).
sσ= 245/((1,6/0,88)*22,2)=6,07
Момент сопротивления кручению Wк1, мм3, вычисляют по формуле
Wк1=π*(dк1)3/16-(b1*t1*(dк1-t1)2/(2*dк1)),
Wк1= 3,14*(30)3/16-(10*5*(30-5)2/(2*30))=4,23*103 мм3
Амплитуду и среднее напряжение цикла касательных напряжений τυ, МПа,
вычисляют по формуле
τυ= τm= τmax/2=0,5*T1/ Wк1
τυ= τm= τmax/2=0,5*33,2*103/4,23*103=3,92 МПа
Коэффициент запаса прочности по касательным напряжениям sτ вычисляют по формуле
sτ= τ-1/(( kτ/ ετ)* τυ+ψττm),
где kτ=1,5 (1.табл.8.5);
ετ=0,77 (1.табл.8.8);
ψτ–коэффициент, ψτ=0,1.
sτ= 142/((1,5/0,77)*3,92+0,1*3,92)=17,15
Коэффициент запаса прочности s вычисляют по формуле
s= (sσ* sτ)/(√( sσ)2+( sτ)2)≥[s]
s= (6,07*17,15)/(√(6,07)2+(17,15)2) = 5,72>[s]=2
Полученный коэффициент соответствует нормативам
Ведомый вал
Сечение Б-Б
Концентрация напряжений вызвана напрессовкой подшипника.
Суммарный изгибающий момент М2, Н*мм, вычисляют по формуле
М2=√(Mx2)2+(My2)2,
где Mx2, My2–изгибающие моменты под правым подшипником,
Mx2=50,43*103 Н*мм
My2=275,52*103 Н*мм
М2=√50,43*103)2+(275,52*103)2=280*103 Н*мм
Момент сопротивления сечения Wнетто2, мм3, вычисляют по формуле
Wнетто2=π*(dп2)3/32
Wнетто2=3,14*(40)3/32)=6,28*103 мм3
Амплитуду и максимальное напряжение цикла по нормальным напряжениям συ, МПа, вычисляют по формуле
συ= σmax= М2/ W2
συ= σmax=280*103/6,28*103=44,6 МПа
Коэффициент запаса прочности по нормальным напряжениям sυ вычисляют по формуле
sσ= σ-1/(( kσ/ εσ)* συ),
где kσ/ εσ =2,7 (1.табл.8.7);
sσ= 245/(2,7*44,6)=2,04
Момент сопротивления кручению Wкнетто2, мм3, вычисляют по формуле
Wкнетто2=π*(dп2)3/16
Wкнетто2= 3,14*(40)3/16=12,56*103 мм3
Амплитуду и среднее напряжение цикла касательных напряжений συ, МПа,
вычисляют по формуле
τυ= τm= τmax/2=0,5*T2/ Wкнетто2
τυ= τm= τmax/2=0,5*132,8*103/12,56*103=5,29 МПа
Коэффициент запаса прочности по касательным напряжениям sτ вычисляют по формуле
sτ= τ-1/(( kτ/ ετ)* τυ+ψττm),
где kτ/ ετ =2,02 (1.табл.8.7);
ψτ–коэффициент, ψτ=0,1.
sτ= 142/(2,02*5,29+0,1*5,29)=12,7
Коэффициент запаса прочности s вычисляют по формуле
s= (sσ* sτ)/(√( sσ)2+( sτ)2)≥[s]
s= (2,04*12,7)/(√(2,04)2+(12,7)2)=2,02>[s]=2
Полученный коэффициент соответствует нормативам
Таблица 4–Коэффициенты запаса прочности в опасных сечениях
Опасные сечения А-А Б-Б
Коэффициент запаса прочности s 5,72 2,02
Во всех сечениях s>[s]=2
2.2.9 Проверка прочности шпоночных соединений
Шпонка под полумуфтой
dв1=30 мм
b×h×l= 10×8×60
t1=5 мм
T1=33,2 Н*м
Напряжение смятия σсм, МПа, вычисляют по формуле
σсм=2*T2/( dв1*(h-t)*(l-b))≤ [σсм]
σсм=2*33,2*1000/( 30*(8-5)*(60-10))=14,75 МПа< [σсм] =120 МПа
Условие прочности выполнено
Шпонка под колесом
dк2=45 мм
b×h×l= 14×9×50
t=5,5 мм
T2=132,8 Н*м
σсм=2*132,8*1000/( 45*(9-5,5)*(50-14))=46,8 МПа< [σсм] =120 МПа
Условие прочности выполнено
Шпонка под конической шестерней
dв2=35 мм
b×h×l= 10×8×60
t=5 мм
T2= 132,8 Н*м
σсм=2*132,8*1000/( 35*(8-5)*(60-10))= 50,6 МПа< [σсм] =120 МПа
Условие прочности не выполнено, ставлю 2 шпонки.
















