123855 (689661), страница 4
Текст из файла (страница 4)
КHβ – коэффициент, учитывающий неравномерность распределения нагрузки по длине контактных линий;
КHβ = 1 + (K0Hβ – 1) . КHω; (4.79)
где: K0Hβ – коэффициент, учитывающий неравномерность распределения нагрузки по длине контактных линий в начальный период работы передачи;
K0Hβ = 1,1
КHω – коэффициент, учитывающий приработку зубьев;
КHω = 1 –
; (4.80)
КHω = 1 –
= 0.32;
КHβ = 1 + (1.1 – 1) . 0.32 = 1.032;
КHα – коэффициент, учитывающий распределение нагрузки между зубьями;
КHα = 0,9 + 0,4 .
; (4.81)
где: εγ – суммарный коэффициент перекрытия;
εγ= εα + εβ; (4.82)
εα – коэффициент торцового перекрытия;
εα= εα1 + εα2; (4.83)
где:
εα1 =
; (4.84)
εα2 =
; (4.85)
где: αα1, αα2 – углы профиля зуба в точках на окружностях вершин, град;
αα1 = arcos
; (4.86)
αα2 = arcos
; (4.87)
где: db1, db2 – основные диаметры шестерни и колеса, мм;
db1 = d1 . cos αt; (4.88)
db1 = 105,3 . cos 20.680 = 98,5 мм;
db2 = d2 . cos αt; (4.89)
db2 = 268,8 . cos 20.680 = 283,3 мм;
αα1 = arcos
= 28,680;
αα2 = arcos
= 24,040;
εα1 =
= 0,784;
εα2 =
= 0,868;
εα= 0,784 + 0,868 = 1,65;
εβ – коэффициент осевого перекрытия;
εβ =
; (4.90)
где: PX – осевой шаг, мм;
PX =
; (4.91)
PX =
= 41,49 мм;
εβ =
= 1,976;
εγ= 1,65 + 1,976 = 3,626;
КHα = 1,05;
Найдя все необходимые коэффициенты и подставив их в формулу рабочего контактного напряжения, найдем σН:
σн = 190 . 2,42 . 0,775 .
= 209,2 МПа.
4.3.2 Расчёт зубьев на прочность при изгибе
Расчёт зубьев колёс быстроходной ступени выполняется аналогично расчёту зубьев колёс тихоходной ступени. Должно выполняться условие:
σF
σFP
Расчетное линейное напряжение при изгибе:
для шестерни :
σF1 =
KF · YFS1 · Yβ · Yε; (4.92)
для колеса:
σF2 = σF1
; (4.93)
где: KF – коэффициент нагрузки,
KF = KA · KFV ·KFβ · KFα; (4.94)
где: KFV – коэффициент, учитывающий динамическую нагрузку, возникающую в зоне зацепления до зоны резонанса;
KFV = 1+
; (4.95)
где: ωFV – удельная окружная динамическая сила, Н/мм;
ωFV = δF · q0 · V1 ·
; (4.96)
где: δF = 0,06 – коэффициент, учитывающий влияние вида зубчатой передачи;
ωFV = 0,06·5,6·3,56
= 10,19;
KFV = 1+
= 1,485;
KFβ = (K0Hβ)NF ; (4.97)
где:
NF =
; (4.98)
где:
h =
; (4.99)
h=
= 4,24;
NF =
= 0,948;
K0Hβ = 1,1;
KFβ = 1.10.948 = 1.095;
KFα = KHα = 1.05;
KF = 1,1 · 1,485 · 1,095 · 1,05 = 1,878;
YFS1, YFS2 – коэффициент, учитывающий форму зуба и концентрацию напряжений, определяемые для шестерни и колеса в зависимости от числа зубьев ZV1 и ZV2 (см. п. 4.3.1. и рис. 4.2);
YFS1 = 3,81; YFS2 = 3,62;
Yβ = 1 – εβ ·
≥ 0.7; (4.100)
Yβ = 1 – 1,9
= 0,76 ≥ 0.7;
Yε =
; при: εβ ≥ 1; (4.101)
Yε =
= 0, 61;
для шестерни:
σF1 =
. 1,878 · 3,81 · 0,76 · 0,61 = 18,12;
для колеса:
σF2 = 18,12
= 17,2;
Допускаемое напряжение:
σFP =
· YN · Yδ · YR · YX; (4.102)
где:
σFlimb = σ0Flimb · YT · YZ · Yq · Yd · YA; (4.103)
σ0Flimb = 1.75 · HB;(4.104)
для шестерни:
σ0Flimb1 = 1,75·HB1; (4.105)
σ0Flimb1 = 1,75 · 269 = 470,75 МПа;
для колеса:
σ0Flimb2 = 1,75 · HB1; (4.106)
σ0Flimb2 = 1,75 · 220 = 385 МПа;
Значения коэффициентов YT, YZ, Yq, Yd, YA приведены в п. 4.2.2;
YN – коэффициент долговечности;
для шестерни:
YN1 =
≤ 4; (4.107)
для колеса:
YN2 =
≤ 4; (4.108)
где:
NFlimb = 4·106; q = 6;
NK - суммарное число циклов напряжений, миллионов циклов;
для шестерни:
NK1 = 60·n1·Lh; (4.109)
NK1 = 60 · 646,7 · 20000 = 77604000 ≥ NFlimb;
для колеса:
NK2 = 60·n2· Lh; (4.110)
NK2 = 60 · 239,5 · 20000 = 287400000 ≥ NFlimb;
т.к. NK > NFlimb, то принимаем YN = 1:
Yδ = 1.082 – 0.172 · lg m; (4.111)
Yδ = 1.082 – 0.172 · lg 3,5 = 0.988;
YR = 1.2;
для колеса:
YX1 = 1.05 – 0.000125d1; (4.112)
YX1 = 1.05 – 0.000125 · 105,3 = 1,037;
для шестерни:
YX2 = 1.05 – 0.000125d2; (4.113)
YX2 = 1.05 – 0.000125 · 286,8 =1,014:
di – диаметр делительной окружности колеса быстроходной ступени, мм:
SF = 1.7;
σFlimb1 = σ0Flimb1 · YT · YZ · Yq · Yd · YA; (4.114)
σFlimb1 = 470,75 · 1 · 1 · 1 · 1 · 1 = 470,75 МПа;
σFlimb2 = σ0Flimb2 · YT · YZ · Yq · Yd · YA; (4.115)
σFlimb2 = 385·1 ·1 ·1 ·1 ·1 = 385 МПа:
Допускаемое напряжение, МПа:
для шестерни:
σFP1 =
· YN1 · Yδ · YX1 · YR; (4.116)
σFP1 =
· 1 · 0,988 · 1,2 · 1,037 = 207,7 МПа;
для колеса:
σFP1 =
· YN1 · Yδ · YX1 · YR; (4.117)
σFP1 =
· 1 · 0,988 · 1,2 · 1,014 = 133,4 МПа;
Проверка:
шестерня:
σF1 ≤ σFP1;
18,2 ≤ 207,7:
колесо:
σF2 ≤ σFP2;
17,2 ≤133,4;
4.4. Ориентировочный расчет и конструирование валов
Ориентировочный расчет валов на ранней стадии проектирования, когда изгибающие моменты еще не определены. Расчет выполняют на чистое кручение по пониженным допускаемым напряжениям [τк] и определяют диаметры отдельных ступеней валов.
Основным материалом для валов служат термически, обрабатываемые среднеуглеродистые стали 35, 40, 45 или легированные 40Х, 40ХН и др.
4.4.1. Входной вал
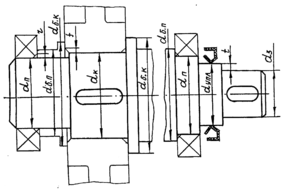
Диаметр выходного конца вала (рис. 4.3), мм:
d1 =
; (4.118)
где: Т1 – вращающий момент на валу (п.2.4.), Н · мм:
[τK] = (20 ÷ 25) МПа – допускаемое напряжение кручения для среднеуглеродистых сталей 35, 40, 45:
d1 =
= 27,4 мм;
Диаметр d1 округляем до целого, стандартного значения: d1 = 28 мм.
рис. 4.3
Диаметр вала под уплотнение, мм:
dупл = d1 + 2 · t; (4.119)
где: t = 2.2 – высота буртика, мм;
dупл = 28 + 2 · 2,2 = 31, 4 мм;
Диаметр dупл округляем до целого стандартного значения dупл = 32 мм.
Диаметр вала dп в месте посадки подшипника может быть равен диаметру вала под уплотнением или больше его, но кратен пяти, т.е.
dп ≥ dупл;
dп = 35 мм;
Между подшипником и шестерней на том же диаметре, что и подшипник, располагают разделительное кольцо. Диаметральные размеры кольца определяются из условия контакта его торцов с колесом и внутренним кольцом подшипника.
Диаметр кольца со стороны подшипника, мм:
dδ.п. = dп + 3 · r; (4.120)
где: r = 2,0 – координата фаски подшипника:
dδ.п. = 35 + 3 · 2,0 = 41 мм;
Диаметр вала под шестерней, мм:
dδ.п. ≥ dk > dп;
42 ≥ 40 > 35;
dk = 40 мм.
Диаметр разделительного кольца со стороны шестерни, мм:
dδ.k. = dk + 3 · f; (4.121)
где: f = 1 – размер фаски, мм:
dδ.k. = 40 + 3 · 1 = 43 мм;
Диаметр dδ.k округляем до целого стандартного значения dδ.k. = 42 мм.
4.4.2 Промежуточный вал
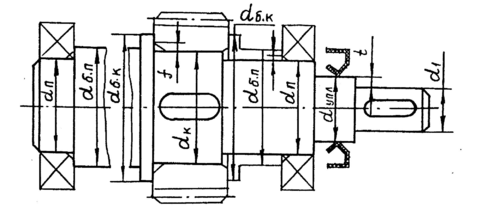
Диаметр вала под колесом и шестерней (рис.4.4), мм:
dk =
(4.122)
где: Т2 – вращающий момент на промежуточном валу ( см. п. 2.4.), Н · мм;
[τK] = (10 ÷ 13) МПа:
dk =
= 43,2 мм;
Диаметр dk округляем до целого стандартного значения dk = 42 мм.
рис. 4.4
Диаметр вала в месте посадки подшипника, мм:
dп = dk – 3 . r; (4.123)
где: r = 3,0 – координата фаски подшипника, мм;
dп = 42 – 3 . 3,0 = 33 мм;
Диаметр dп округляем до числа кратного 5: dп = 35 мм.
Диаметр разделительного кольца со стороны подшипника, мм;
dδ.п. = dп + 3 · r; (4.124)
dδ.п. = 35 + 3 · 3 = 44 мм;
Диаметр dб.п округляем до целого стандартного значения dδ.п = 42 мм.
Диаметр разделительного кольца со стороны колеса и шестерни, мм:
dδ.k. = dk + 3 · f; (4.125)
где: f = 1.6 – размер фаски, мм:
dδ.k. = 42 + 3 · 1,6 = 46,8 мм;
Диаметр dδ.k округляем до целого стандартного значения dδ.k. = 48 мм.
4.4.3 Выходной вал
Диаметр выходного конца вала (рис. 4.5), мм:
dk =
(4.126)
где: Т2 – вращающий момент на валу (п.2.4.), Н · мм:
[τK] = (20 ÷ 25) МПа;
рис. 4.5
dk =
= 46,14 мм;
Диаметр dк округляем до целого стандартного значения dк = 45 мм.
Диаметр вала под уплотнение, мм:
dупл = d1 + 2 · t; (4.127)
где: t = 2,8 – высота буртика, мм;
dупл = 45 + 2 · 2,8 = 50,6 мм;
Диаметр dупл округляем до целого стандартного значения dупл = 50 мм.
Диаметр вала dп в месте посадки подшипника может быть равен диаметру вала под уплотнением или больше его, но кратен пяти, т.е.
dп ≥ dупл;
dп = 55 мм;
Диаметр разделительного кольца со стороны подшипника, мм;
dδ.п. = dп + 3 · r; (4.128)
dδ.п. = 55 + 3 · 3 = 64 мм;
Диаметр dб.п округляем до целого стандартного значения dδ.п = 64 мм.
Диаметр вала под колесом, мм:
dδ.п. ≥ dk > dп;
64 ≥ 60 > 55;
dk = 60 мм.
Диаметр разделительного кольца со стороны колеса, мм:
dδ.k. = dk + 3 · f; (4.129)
где: f = 2.0 – размер фаски, мм:
dδ.k. = 60 + 3 · 1,6 = 64,8 мм;
Диаметр dδ.k округляем до целого стандартного значения dδ.k. = 65 мм.
4.5 Выбор подшипников качения
Подшипники качения выбираются в зависимости от диаметров валов, начиная с легкой серии. Для опор валов с цилиндрическими прямозубыми колесами нужно использовать радиальные шариковые подшипники, для валов с цилиндрическими косозубыми, коническими и червячными колесами и для червяка: – радиально – упорные или роликовые конические. Для выбранных подшипников из таблиц выписать их маркировку, наружный D и внутренний d диаметры и ширину В, величины статической Сor и динамической Сr грузоподъемностей.
Входной вал: подшипники радиально – упорные, однорядные, средней серии, 2шт. (табл. 4.5.1.)
Табл. 4.5.1
| Номер подшипника | 46307 |
| Наружный диаметр D, мм | 80 |
| Внутренний диаметр dп, мм | 35 |
| Ширина, мм | 21 |
| Статическая грузоподъёмность Сor, кН | 24,7 |
| Динамическая грузоподъёмность Сr, кН | 42,8 |
| r, мм | 2,5 |
| r1, мм | 1,2 |
Промежуточный вал: подшипники радиально – упорные, однорядные, средней серии, 2шт. (табл. 4.5.2.)
Табл. 4.5.2
| Номер подшипника | 46307 |
| Наружный диаметр D, мм | 80 |
| Внутренний диаметр dп, мм | 35 |
| Ширина, мм | 21 |
| Статическая грузоподъёмность Сor, кН | 24,7 |
| Динамическая грузоподъёмность Сr, кН | 42,8 |
| r, мм | 2,5 |
| r1, мм | 1,2 |
Выходной вал: подшипники радиальные, однорядные, легкой серии, 2шт. (табл. 4.5.3.)
Табл. 4.5.3
| Номер подшипника | 211 |
| Наружный диаметр D, мм | 100 |
| Внутренний диаметр dп, мм | 55 |
| Ширина, мм | 21 |
| Статическая грузоподъёмность Сor, кН | 31,5 |
| Динамическая грузоподъёмность Сr, кН | 50,3 |
| r, мм | 2,5 |
| r1, мм | 1,2 |
4.6. Конструирование зубчатых колес















