123341 (689437)
Текст из файла
Кафедра КПРА
Курсовая работа по курсу: “Технологические процессы микроэлектроники”
На тему: ”Фильтр верхних частот”
Рязань 2008
Содержание:
Исходные данные
Введение
Анализ технического задания
Разработка топологии
Резисторы
Резисторы типа “квадрат”
Конденсаторы
Расчет площади платы
Заключение
Список литературы
Исходные данные
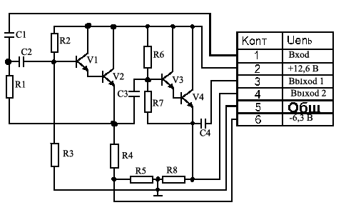
Фильтр верхних частот. Схема электрическая принципиальная №52
Номиналы
R1 – Резистор 10.0 kОМ 1шт; C1, C2 – Конденсатор 10000 пФ 2шт
R2, R3, R6, R7 – Резистор 12.0 kОМ 4шт; С3, С4 – Конденсатор 2.2 мкФ 2шт
R4 – Резистор 3.6 kОМ 1шт;
R5 – Резистор 1.2 kОМ 1шт;
R8 – Резистор 0.2 kОМ 1шт; V1…V4 – Транзистор КТ324В 4шт (СБО.336.031 ТУ)
Плату следует изготовить методом фотолитографии.
Эксплуатационные требования: Тр = -450 +400С, tэ = 4000 ч.
Введение
Постоянной тенденцией в радиоэлектронике является уменьшение габаритов и масс аппаратуры, повышение ее надежности. До появления интегральных микросхем этот процесс протекал в направлении миниатюризации отдельных элементов. Следующим шагом в миниатюризации было создание техники интегральных микросхем. Этот этап принципиально отличался от предыдущих тем, что в нем аппаратура собирается не из отдельных элементов или модулей, а из функциональных схем, образованных в едином технологическом процессе производства. Основными разновидностями технологии микросхем являются: пленочная, полупроводниковая и смешанная.
В пленочной технологии интегральная микросхема образуется нанесением на диэлектрическую подложку в определенной последовательности пленок из соответствующих материалов. Изготовленные таким образом микросхемы называются пленочными интегральными микросхемами (ПИМС). Разновидностью ПИМС являются гибридные интегральные микросхемы (ГИМС), у которых часть элементов, имеющих самостоятельное конструктивное оформление, вносится в виде навесных деталей.
Чрезвычайным важными характеристиками микросхем является степень интеграции и плотность упаковки. Степень интеграции представляет показатель сложности микросхемы и характеризуется числом содержащихся в ней элементов и компонентов. Плотностью упаковки называется отношение числа элементов и компонентов микросхемы к ее объему.
Анализ технического задания
В данном курсовом проекте нужно разработать микросборку фотолитографическим способом.
Фотолитографический технологический процесс основан на термовакуумном, ионно-плазменном, катодном, магнетронном напылении нескольких сплошных слоёв из различных материалов с последующим получением конфигурации каждого слоя методом фотолитографии.
Достоинства: высокая точность изготовления и плотность размещения элементов на подложке.
Недостатки: метод фотолитографии нельзя применять для создания многослойных конструкций тонкоплёночных интегральных микросхем, т.к. каждый раз при получении рисунка очередного слоя требуется обработка подложки травильным раствором, что негативно сказывается на других слоях с возможным изменением их электрофизических свойств. После очередной фотохимической обработки требуется тщательная очистка подложки от реактивов, для обеспечения необходимой адгезии последующих осаждаемых слоёв; таким методом можно выполнить рисунок не более чем двух слоёв различной конфигурации т.е. невозможно изготовить тонкоплёночный конденсатор (кроме танталового) и осуществить пересечение проводников.
Типовая последовательность формирования плёночных элементов при фотолитографическом методе (порядок вакуумного осаждения):
вариант 1
-
осаждение резистивной плёнки;
-
осаждения проводящей плёнки на резистивную;
-
фотолитография и травление проводящего слоя;
-
фотолитография и травление резистивного слоя;
-
нанесение плёнки межслойной изоляции;
-
осаждение проводящей плёнки;
-
фотолитография и травление проводящего слоя;
-
осаждение защитного слоя.
вариант 2
-
нанесение маскирующего слоя;
-
фотолитография конфигурации резисторов;
-
напыление материала резистивной плёнки;
-
удаление маскирующего слоя;
-
напыление проводящей плёнки;
-
фотолитография проводящего слоя;
-
нанесение материала защитного слоя.
При изготовление гибридных микросхем прибегают, как правило, к корпусной защите. При выборе вида и типа корпуса необходимо руководствоваться требованиями, предъявляемыми к условиям эксплуатации гибридных интегральных микросхем, габаритным параметрам с учётом степени интеграции, сложности схемы и др. Также необходимо учитывать, что технология пайки или сварки штырьковых выводов менее трудоёмка и более отработана.
В зависимости от условий хранения и эксплуатации к корпусам микросхем предъявляются различные требования: достаточная механическая прочность, позволяющая выдерживать нагрузки при сборке и эксплуатации; минимальные габариты, для обеспечения компактности сборки; конструкция корпуса должна позволять легко и надёжно выполнять электрические соединения внутри корпуса; обеспечивать минимальные паразитные параметры, надёжную изоляцию элементов, герметичность, минимальное тепловое сопротивление между микросхемой и окружающей средой; защищать микросхему от воздействий электромагнитного поля, света; иметь минимальную стоимость.
Все корпуса можно подразделить на следующие виды: металлостеклянные, металлокерамические, металлополимерные, пластмассовые, стеклокерамические и др.
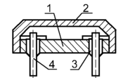
Наиболее надёжным методом герметизации для данного использования или хранения микросхем является корпусная вакуум-плотная герметизация. В зависимости от материала, который применяется для изготовления корпусов и герметизации их внешних выводов, вакуум-плотные корпуса подразделяются на стеклянные, керамические, металлостеклянные, металлокерамические. Основными деталями вакуум-плотных корпусов являются: собственно корпус, крышка, изолятор, выводы. На рис. 3.1 показана конструкция металлостеклянного корпуса: 1-крышка, 2- основание корпуса, 3- вывод, 4- стеклянная бусинка, 5- полупроводниковый кристалл.
рис. 3.1
Металлостеклянные корпуса обладают минимальным тепловым сопротивлением между микросхемой и окружающей средой. Выбор материала для металлостеклянных корпусов, определяет качественный спай между материалами выводов и стеклянных изоляторов выводов от корпусов.
Для герметизации и изоляции внешних выводов применяются в основном твёрдые стёкла с коэффициентом теплового расширения α=(45…55)*10-7, 1/0С Чаще всего в качестве материалов корпуса используют ковар (α=47*10-7, 1/0С, Fe - 54%, Ni – 29%, Co – 17%, обладает хорошей теплопроводностью) и молибден (α=55*10-7, 1/0С). Эти материалы образуют хороший спай с твёрдыми стёклами.
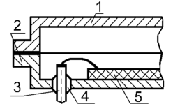
рис. 3.2
Конструкции металлостеклянных корпусов делятся на:
-
металлостеклянный квадратный корпус (рис. 3.2а) состоит из металлического основания 1 с впаянными изолированными выводами 4, металлической крышкой 2 и изолятора 3. Выводы с основанием герметизируют металлостеклянным спаем. При окончательном монтаже общую герметизацию корпуса проводят электронно-лучевой сваркой. Допустимая рассеиваемая мощность 750 мВт;
-
металлостеклянный круглый корпус (рис 3.2б). Основные достоинства: высокая механическая прочность и надёжность. Недостатки: малая плотность упаковки. Состоит из металлического фланца 1, крышки 2, изолятора 3, выводов 4. Фланец имеет ключ, расположенный против вывода. Выводы с основанием герметизируют металлостеклянным спаем. При окончательном монтаже общую герметизацию проводят конденсаторной сваркой (разновидность контактной сварки). Допустимая рассеиваемая мощность 60мВт.
Сварка может осуществляться в вакууме или в среде инертного газа под давлением несколько превышающим атмосферное.
Металлостеклянные корпуса обеспечивают длительную работу в условиях повышенной относительной влажности (до 98%) и в диапазоне температур -60…+1250С, поэтому они наиболее рекомендованы для герметизации гибридных микросхем.
Подложка гибридных интегральных микросхем является диэлектрическим и механическим основанием для расположения плёночных элементов и компонентов, а также служит для теплоотвода. Материал подложки должен обладать :
-
высоким удельным электрическим сопротивлением, никой диэлектрической проницаемостью;
-
высокой механической прочностью в малых толщинах;
-
высоким коэффициентом теплопроводности для эффективной передачи теплоты от тепловыделяющих элементов и компонентов корпусу;
-
высокой физической и химической стойкостью к воздействию высокой температуры;
-
стойкостью к воздействию химических реактивов;
-
способность к хорошей механической обработке.
Для изготовления подложек в основном используют: стекло, керамику, ситалл. Стекло и ситалл легко режется алмазным резцом. Резка керамических подложек на производстве не желательна, поэтому их сразу изготавливают нужных размеров.
Наиболее перспективными для гибридных больших интегральных схем и микросборок являются металлические подложки, поверхность которых покрывается относительно тонким (40 – 60 мкм) слоем диэлектрика. Для этой цели используют алюминиевые платины с анодированной поверхностью, стальные пластины, покрытые стеклом или полиамидным лаком.
Резисторы являются самыми распространёнными элементами гибридных интегральных микросхем. Плёночные резисторы формируются на диэлектрической подложке в виде резистивных полос различной конфигурации, заканчивающихся низкоомными контактными переходами и выводами. В гибридных интегральных микросхемах используются тонкоплёночные (d
2 мкм) и толстоплёночные (d
2мкм) резисторы различной конфигурации с простой прямолинейной и сложной формой.
Наиболее распространённой является конструкция резисторов прямолинейной формы рис.3.3а, как наиболее простая в конструктивном и технологическом решении. Прямолинейная форма обеспечивает большую чёткость контура, высокую механическую жёсткость масок, более простую топологию, поэтому лучше отдавать предпочтение этому типу резисторов. Если расчётная длина резистора оказывается большой и не может быть размещена на подложке в одну линию, то его выполняют сложной формы в виде меандра рис.3.3б . Резисторы типа «меандр» применяют для получения высокоомных резисторов. Для изготовления низкоомных сопротивлений, применяют резисторы типа квадрат рис.3.3в.
рис.3.3
Материалы, применяемые для изготовления плёночных резисторов должны обеспечивать возможность получения широкого диапазона стабильных во времени сопротивлений, коррозийной стойкостью, адгезии, технологичности. Для изготовления плёночных резисторов используют разные материалы: чистые металлы и сплавы с высоким удельным электрическим сопротивлением, а также специальные резистивные материалы – керметы, которые состоят из частиц металла и диэлектрика. При выборе материала резистивной плёнки рекомендуется исходить из того, что все резисторы, расположенные на одной плате, составляли один слой и имели одинаковое удельное сопротивление.
Сопоставляя физические свойства плёнок с техническими требованиями к параметрам резистора, выбирают подходящий материал. При этом руководствуются следующими соображениями: необходимо, чтобы резистор занимал, возможно, меньшую площадь, а развиваемая в нем температура не должна нарушать стабильность параметров, ускорять процессы старения. По возможности стараются применить более толстые пленки, т.к. у очень тонких ухудшается стабильность сопротивления.
Характеристики
Тип файла документ
Документы такого типа открываются такими программами, как Microsoft Office Word на компьютерах Windows, Apple Pages на компьютерах Mac, Open Office - бесплатная альтернатива на различных платформах, в том числе Linux. Наиболее простым и современным решением будут Google документы, так как открываются онлайн без скачивания прямо в браузере на любой платформе. Существуют российские качественные аналоги, например от Яндекса.
Будьте внимательны на мобильных устройствах, так как там используются упрощённый функционал даже в официальном приложении от Microsoft, поэтому для просмотра скачивайте PDF-версию. А если нужно редактировать файл, то используйте оригинальный файл.
Файлы такого типа обычно разбиты на страницы, а текст может быть форматированным (жирный, курсив, выбор шрифта, таблицы и т.п.), а также в него можно добавлять изображения. Формат идеально подходит для рефератов, докладов и РПЗ курсовых проектов, которые необходимо распечатать. Кстати перед печатью также сохраняйте файл в PDF, так как принтер может начудить со шрифтами.
















