122808 (689243), страница 5
Текст из файла (страница 5)
– передаточная функция эталонного разомкнутого контура, оптимизированного на модульный оптимум, а
– малая некомпенсируемая постоянная времени, определяющая быстродействие контура после оптимизации.
В итоге синтезирован пропорционально-интегральный регулятор со следующими параметрами:
– коэффициент усиления,
– постоянная времени интегрирования.
Для проверки соответствия показателей качества оптимизированного контура ожидаемым значениям, проведём расчёт переходных процессов
Рисунок 13 – График расчёта переходных процессов в оптимизированном контуре управления составляющей пространственного вектора тока
Рисунок 14 – Контур управления составляющей пространственного вектора тока статора
Таким образом, для контура управления составляющей пространственного вектора тока статора
принимаем результаты оптимизации, полученные ранее при рассмотрении контура
:
.
В итоге получаем пропорционально-интегральный регулятор со следующими параметрами:
– коэффициент усиления,
– постоянная времени интегрирования.
Рисунок 15 – График расчёта переходных процессов в оптимизированном контуре управления составляющей пространственного вектора тока
Контур управления потокосцеплением ротора
Рисунок 16 – Контур управления потокосцеплением ротора
В итоге для передаточной функции регулятора получаем следующее выражение:
.
В итоге синтеза оказался получен пропорционально-интегральный регулятор со следующими параметрами:
(3.31)
– коэффициент усиления и
(о.е.) (3.32)
– постоянная времени интегрирования регулятора потокосцепления.
Рисунок 17 – График расчёта переходных процессов в оптимизированном контуре управления потокосцеплением ротора
Контур управления частотой вращения
При оптимизации контура управления частотой вращения
необходимо использовать настройку на симметричный оптимум, так как в данном случае объект управления содержит интегральное звено, что приводит к необходимости использования пропорционального регулятора при настройке на модульный оптимум и делает невозможным получение системы астатической по возмущению. Именно поэтому при оптимизации контура скорости используем настройку на симметричный оптимум, а для приближения характеристик контура после оптимизации к характеристикам, соответствующим настройке на модульный оптимум на входе контура установим фильтр в виде апериодического звена.
Рисунок 18 – Контур управления частотой вращения
Согласно методике настройки на симметричный оптимум, получаем выражение для передаточной функции регулятора скорости
,
где
– это передаточная функция эталонного разомкнутого контура скорости, оптимизированного на симметричный оптимум, а
– малая некомпенсируемая постоянная времени, определяющая быстродействие контура;
– это передаточная функция замкнутого контура управления составляющей вектора тока
, в данном случае являющаяся подчинённым контуром для контура частоты вращения.
Тогда итоговое выражение для передаточной функции регулятора в контуре скорости получаем в следующем виде:
.
Выражение передаточной функции регулятора имеет «неудобный» вид для синтеза регулятора. Предлагается с учётом некоторых допущений, связанных с пренебрежением постоянными времени высших порядков выполнить ряд преобразований над числителем для его представления в более «удобном» виде.
.
С учётом (3.41), выражение (3.40) преобразуем к следующему виду:
.
Рисунок 19 – График расчёта переходных процессов в оптимизированном контуре управления частотой вращения ротора
В итоге синтеза оказался получен пропорционально-интегральный регулятор со следующими параметрами:
(о.е.)
– коэффициент усиления,
(о.е.)
– постоянная времени интегрирования регулятора скорости,
(о.е.)
– постоянная времени входного фильтра.
Контур управления положением
Согласно иерархии подчинённого регулирования для контура управления частотой вращения внешним является контур управления положением. При оптимизации контура управления положением предполагаем использование настройки на симметричный оптимум.
Рисунок 20 – Контур управления положением
Согласно методике настройки на симметричный оптимум, получаем необходимое выражение для передаточной функции регулятора
,
где
это передаточная функция эталонного разомкнутого контура положения, оптимизированного на симметричный оптимум, а
– малая некомпенсируемая постоянная времени, определяющая быстродействие данного контура;
это передаточная функция замкнутого контура управления частотой вращения ротора
, настроенного на симметричный оптимум с фильтром на входе и являющегося подчинённым относительно контура положения.
В стремлении понизить порядок передаточной функции объекта управления допустимо не учитывать постоянные времени высших порядков. Применительно к замкнутому контуру скорости
это выглядит следующим образом:
.
C учётом допущения (3.51) получаем следующее выражение для передаточной функции регулятора в контуре положения:
.
Для величины малой некомпенсируемой постоянной времени в контуре положения принимаем значение
т.е., что позволяет упростить структуру управляющего регулятора.
Итоговое выражение для регулятора положения приобретает следующий вид:
.
По итогам синтеза оказался получен пропорционально-интегральный регулятор со следующими параметрами:
(о.е.)
– коэффициент усиления,
(о.е.)
– постоянная времени интегрирования регулятора скорости,
(о.е.)
– постоянная времени входного фильтра.
Рисунок 21 – График расчёта переходных процессов в оптимизированном контуре управления положением
3.3 Разработка алгоритмов работы регуляторов системы управления технологическим оборудованием
Для решения задачи формирования нагрузочного момента, имитирующего усилия, прикладываемые к ЭП лифта со стороны технологического оборудования, используем специально разработанный модуль для имитации нагрузочных моментов с программной реализацией. Здесь и далее в работе под определением данного модуля будем подразумевать имитационный формирователь моментов нагрузки (ИФМН).
В соответствии с требованиями к работе испытательного стенда, сигнал на выходе ИФМН должен полностью имитировать рабочие режимы различных типов лифтов. Кроме того, ИФМН должен однозначно определять работу системы в одном из двух режимов: формирование нагрузочного момента в движении и при упоре, что требует наличия переключающего модуля, отвечающего за организацию переходов между указанными режимами. В данном случае задача формулируется следующим образом: для имитации нагрузочных усилий необходимо сформировать нагрузочный момент Мнагр в функции углового перемещения выходного вала ЭП
. В случае отключения или остановки испытуемого ЭП, ИФМН должен предотвратить возможное «опрокидывание» моментного ЭП и выдать команду на переход в следящий режим с нулевым заданием или выполнить останов ЭП.
3.4 Компьютерное моделирование алгоритмов управления. Графическое представление результатов моделирования
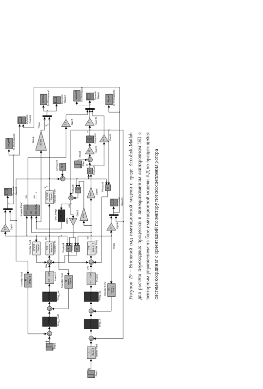
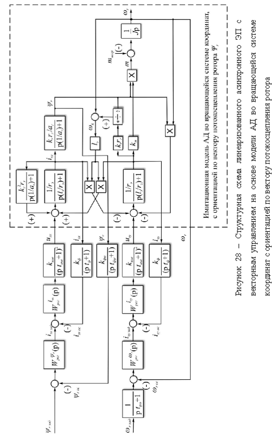
После проведения оптимизации отдельных контуров системы управления необходимо провести проверку показателей качества всей системы нагрузочного ЭП. Данный режим не принимает во внимание различные нелинейности, присущие системе любого ЭП и предполагает рассмотрение системы в линеаризованном виде. На рисунке 28 представлена структурная схема линеаризованного асинхронного ЭП с векторным управлением на основе имитационной модели АД во вращающейся системе координат с ориентацией по вектору потокосцепления ротора, т.е. в данном случае и система управления, и модель АД, как управляемый объект, находятся в одной и той же вращающейся системе координат.
Исследование показателей качества имитационной модели ЭП в представленном виде позволяет проверить работоспособность и оценить взаимное влияние перекрёстных контуров управления потокосцеплением ротора и скорости. Используя программную среду Simulink-Matlab на базе структурной схемы рисунка 28 разработаем имитационную модель линеаризованного асинхронного ЭП с векторным управлением. На рисунке 29 представлен внешний вид имитационной модели в среде Simulink-Matlab для расчёта переходных процессов.
На рисунке 30 представлены графики переходных процессов при последовательной подаче задающего сигнала в контуры потокосцепления и скорости. В первую очередь ступенчатый сигнал задания поступает на вход контура потокосцепления, и только по окончании переходных процессов в данном контуре система формирует следующий задающий сигнал для контура скорости. Данная задержка позволяет ещё перед началом движения стабилизировать магнитное состояние АД и способствует приближению переходных процессов по характеру к переходным процессам в ЭП с двигателем постоянного тока независимого возбуждения. В теории асинхронного ЭП задержку с подачей задания в контур скорости подобного вида принято называть начальным намагничиванием.
Условия для проведения исследований на рисунке 30 соответствуют пуску ЭП без нагрузки и её последующему набросу в момент времени tнагр = 45 о.е. с моментом mнагр = 1.0 о.е., соответствующем номинальной нагрузке.
















