23851 (685034), страница 6
Текст из файла (страница 6)
Рудник Наван (Ирландия)[5]
Рудник производительностью 2,3 млн. т свинцово-цинковой руды в год разрабатывает месторождение, представленное серией линз мощностью 60—8 м с углом падения около 20°.
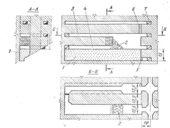
Предел прочности руды и пород при одноосном сжатии изменяется от 56 до 175 МПа. Вмещающие породы — довольно устойчивые и позволяют отрабатывать камеры шириной 12,5 м и высотой 15 м, которые могут оставаться незаполненными закладочным материалом в течение длительного периода времени. Камеры первой ! очереди заполняют смесью классифицированных хвостов обогащения с цементом, камеры второй очереди — обычной гидравлической смесью. Крепление кровли камер производят анкерами с металлической сеткой. Камеры располагают перпендикулярно главным откаточным выработкам. Подготовка начинается с проведения штрека шириной 5,5 м и высотой 3,7 м на уровне верхнего до-ставочного горизонта по центру камеры до ее границ (рис. 4.2)'. Затем поперечное сечение штрека увеличивают на всю ширину камеры. После уборки руды кровлю полученной выработки крепят анкерами диаметром 16 мм и навинчивают металлическую сетку. Отбойку руды начинают на отрезную щель, образованную у границ одного из панельных целиков. При проведении нарезных выработок в камерах используют то же самоходное оборудование, что и при проведении уклонов и главных откаточных выработок — 26-тонные автосамосвалы и ПДМ.
Рисунок 11. Камерно-столбовая система разработки на руднике Наван (Ирландия): 1 — закладочный массин; 2 — отбитая руда; 3 и 4 — соответственно верхняя и нижняя подсечные выработки; 5 — перемычка; 6 — отрезной восстающий; 7 — транспортный штрек
Для уменьшения сейсмического эффекта одновременно взрывают с миллисекундным замедлением не более 3—4 рядов скважин. В качестве ВВ используют динамит. Каждым взрывом отбивают 2700—3600 т руды. Компания осуществляет исследования по выявлению широкого диапазона интервалов замедления, позволяющего дистанционно взрывать большое число скважин, не выходя за пределы максимально допустимых • вибраций при массовых взрывах.
Применяемый на руднике погрузчик "Бройт" с емкостью ковша 1,9 м3 с дизельными приводом не имеет механизма передвижения. Он буксируется между забоями, перемещаясь на четырех колесах. В час погрузчик грузит до 300 т руды и может осущест-лять небольшие перемещения около навала породы, используя свой ковш для отталкивания. При погрузке колеса машины застопоривают.
Погрузчик изготовлен в Норвегии и широко используется в скандинавских странах при проходке туннелей, а также на карьерах ряда западноевропейских стран.
При транспортировке до 150м руду к рудоспускам доставляют самоходными ПДМ, а при большем расстоянии — 26-тонными дизельными автосамосвалами.
Закладка камер первой очереди осуществляется классифицированными хвостами обогащения, смешанными с цементом в отношении 1:20 и подаваемыми по скважинам от поверхности до каждого действующего горизонта. Отсюда пульпа поступает по трубам в отдельные камеры.
Рисунок 12. Схема отработки рудного тела на руднике Сулливан (Канада): 1 — наклонный ствол; 2 — конвейерный уклон; 3 — камера дробления руды; 4 — бункер дробленой руды; 5 — нижняя капитальная штольня; 6 — бункер для кусковой руды; 7 — главная штольня; 8 — карьер; 9 — камеры, заполненные гравием; 10 —отрабатываемый целик; 11—песчаный закладочный массив; 12 — вентиляционный восстающий; 13 — отрабатываемая камера
В настоящее время около 95 % руды добывается из целиков (высота их 39—76 м, ширина 9—46 м), расположенных между камерами. Применяют различные схемы их отработки с обрушением руды глубокими скважинами диаметром от 41 до 76 мм.
Длину их стараются выдерживать в пределах 18—26 м, но иногда она достигает и 30 м. Запасы обрушенной руды во вторичной камере составляют полугодовую добычу рудника.
Целики высотой 92 м обрушаются поэтапно с образованием отрезной щели. После взрывания "рудных корок" появляется некоторое разубоживание. При выпуске рудной массы необходимо вторичное дробление.
В результате отработки нижних горизонтов и применения массовой отбойки руды произошло обрушение пород висячего бока и растрескивание массива ранее оставленных целиков. Поступление свежего воздуха и воды с поверхности и по старым выработкам привело к интенсивному окислению сульфидной руды, оставленной в целиках на протяжении 10—30 лет. Эта руда склонна к самовозгоранию. Температура пород на границе с подземным пожаром в целике ^9-1 достигала 230 °С. Добыча руды в таких условиях представляет большую опасность из-за повышенной концентрации в рудничной атмосфере S02 и СО, высоких температур и пожароопасной пыли.
Целики по степени опасности разделены на следующие двй; класса: с очень горячей раскаленной рудой, склонной к спеканию (А), и теплой (Б) —с выделением C02,
Меры предосторожности, соблюдаемые на руднике, заключаются в следующем . На скреперном горизонте выпуск руды осуществляется только из одной дучки. Ликвидация зависаний производится лишь взрывным способом. Поскольку при работе скреперных тросов возможно искрообразование, то на отрезке 4,5 м по обе стороны от скрепера их заменяют цепями.
Основной особенностью погрузки горячей руды является сооружение бетонной перемычки между скреперной лебедкой и рудоспуском. В ней устроены отверстия минимального размера для перемещения троса, людей и обзора выработки. В выработки скреперования подается мощная струя свежего воздуха.
Установлены следующие правила при выемке целиков, относящихся к классам А и Б:
в очистных забоях работают по три человека в специальной защитной одежде и снабженные противогазами;
два человека заходят в скреперную выработку, а третий остается у входа;
не разрешается вести взрывные работы в соседних скреперных выработках;
к рабочей дучке с образовавшимся зависанием не разрешается подходить вдвоем.
Вторичное дробление осуществляется взрыванием только одного шпура. Используются патроны ВВ в асбестовой оболочке и электродетонаторы. Взрывание производится из специально оборудованной камеры. Все люди во время взрывания укрываются в этой камере. При отбойке горячей руды применяются водонапол-ненные ВВ и детонирующий шнур в асбестовой оболочке.
Для ликвидации высоких зависаний были испытаны снаряды с алюминизированным ВВ типа МС1М. Рудник обычно работает в 2 смены в течение 5 дней в неделю. При очень горячей руде работы ведутся непрерывно, со сменой бригад на рабочих местах. Быстрый выпуск руды позволяет снизить опасность возникновения пожара и избежать спекания руды. Выпуск ее из блока начинается из самой дальней от скреперной лебедки дучки, остальные — изолируются бетонными перемычками. Оценка состояния руды производится в вагонетках или визуально в дучках. Осуществляется она и в потенциально "горячих" целиках с целью определения опасных в пожарном отношении зон. В случаях, когда встречается горячая руда, выпуск ведется до появления пустых пород. Если выходит раскаленная руда из дучки, то она закрывается бетонной перемычкой и выпуск продолжается из соседних участков. В рудоспусках и бункерах при поступлении горячей руды происходит ее цементация, особенно при наличии воды. Поэтому руда в них находится непродолжительное время. Проветривание мест разгрузки руды из рудоспусков осуществляется свежей струей. Используется также водяное орошение в погрузочных пунктах. Рудоспуски закрепляют бетоном или армируют стальными листами.
За всеми работами ведется тщательный надзор, замеряется температура во всех взрывных скважинах. Заряжание их производится в минимальные сроки для уменьшения времени соприкосновения ВВ с горячей рудой. При ее температуре от 54 до 65 °С используются только предохранительные ВВ, при 65—93° применяются предохранительные ВВ в сочетании со специальными мероприятиями, а при температуре выше 93 °С взрывные работы запрещаются.
На всех участках с пожароопасной рудой оборудованы спасательные станции для пребывания в них при аварийных ситуациях всех работающих в течение 24 ч. Особое внимание уделяется вентиляции пожароопасных зон и главным образом проветриванию скреперных выработок. Очень важно своевременно воздвигать перемычки в нерабочих дучках и скреперных выработках. Загазо-1 ванность и запыленность скреперных штреков требует увеличения скорости движения воздуха. Сначала для этой цели использовались вентиляторы частичного проветривания, которыми создавалось соответствующее движение воздуха в скреперных штреках. Однако большой его приток может способствовать возникновению пожаров. В настоящее время на исходящей струе скреперных штреков создают давление воздуха ниже атмосферного, что предотвращает проникновение воздуха через дучки к горячей руде.
Проведенный компанией анализ показал, что себестоимость добычи 1 т горячей руды с соблюдением всех мер безопасности увеличилась на 20—25 %, а извлечение металла снизилось из-за процесса окисления руды и изменения порядка выпуска.
В 1964 г. на руднике введена служба по механике горных пород. Ее первоначальными целями было оказание помощи в совершенствовании систем разработки, последовательности и интенсивности выемки; обеспечении наиболее безопасных и экономичных способов выемки рудных целиков и обеспечении извлечения камерного запаса после возобновления очистной выемки ниже гор. 1190м. Эта служба консультирует горняков по вопросам выбора поперечных сечений выработок и способов их поддержания. Инженеры по механике горных пород участвуют при разработке новых проектов, включая планирование отработки целиков.
С целью замеров смещений дневной поверхности и обрушения вышележащих пород на большой площади была создана обширная сеть наблюдательных станций. Для измерения сдвижения пород и напряжений в целиках использовались многопроволочные экс-5 тензометры. Цель исследований заключалась в замере опасного уровня напряжений в отдельных целиках и их группах. Среднее максимальное напряжение изменялось от 10 до 50 МПа, в отдельных случаях достигало 112 МПа. Эти замеры обеспечивают информацию, необходимую для оптимизации параметров системы разработки.
Годовая производительность рудника составляет около 2,5 млн. т Производительность труда подземного рабочего достигает 20 т/смену.
Системы применяют для отработки ценных руд в сложных горно-технических условиях.
Рисунок 13. Панельно-слоевая система разработки с гидравлической закладкой; 1 — наклонная рудная залежь; 2 —закладка; 3 — панельный штрек; 4 — очистная заходка.
Конструктивное решение систем этого типа зависит от размеров и мощности залежи.
Примером однослойной выемки может служить практика рудника "Вуонос" (Финляндия), отрабатывающего пологую залежь крепких руд мощностью 5—6 м в неустойчивых кварцитах (рисунок 14). Разрезной штрек в центре камеры имеет ширину 6—7 м с углом наклона стенок 60°. В дальнейшем панели отрабатывают параллельными заходками шириной 6—7 м с одной из сторон разрезного штрека в двух забоях одновременно. Высота штрека и заходок равна мощности залежи. Применяют анкерное крепление кровли и гидравлическую закладку. В торце заходок сооружают бетонные перемычки толщиной 70см. Наклонные стенки заходок позволяют использовать материал малой прочности. Потери руды составляют 3 %, сменная производительность труда рабочего — 9,5 т.
Примером двухслойной выемки является практика рудника Пальковице" (ПНР), отрабатывающего пологую залежь мощностью до 9м в относительно устойчивых известняках и доломитах (рисунок 14). Первоначально проходят верхнюю слоевую заходку шириной до 10м, имеющую вид траншеи. Работы ведут в двух встречных забоях (в одном — бурение, в другом — погрузка и транспортирование руды). Боковая сторона заходки со стороны закладочного массива ограждена щитами. После сбойки и крепления кровли и боковой стенки верхней заходки по всей длине панели начинают нарезать нижнюю заходку, оставляя со стороны закладочного массива временный целик шириной понизу 4м и поверху 2м. Для отбойки руды в нижней заходке применяют нисходящие вертикальные скважины. По мере выемки руды в нижней заходке
















