166648 (625072), страница 3
Текст из файла (страница 3)
1.6 Расчёт коэффициентов теплопередачи
Коэффициент теплопередачи для первого корпуса К определяют по уравнению аддитивности термических сопротивлений:
(17)
где α1, α2 – коэффициенты теплоотдачи от конденсирующегося пара к стенке и от кипящего раствора к стенке соответственно, Вт/(м2×К); δ – толщина стенки, м; λ – коэффициент теплопроводности, Вт/(м×К).
Примем, что суммарное термическое сопротивление равно термическому сопротивлению стенки δст/λст и накипи δн/λн. Термическое сопротивление загрязнений со стороны пара не учитываем. Получим:
(м2∙К)/Вт
Коэффициент теплопередачи от конденсирующегося пара к стенке α1 равен:
(18)
где r1 – теплота конденсации греющего пара, Дж/кг; ρж1, λж1, μж1 – соответственно плотность (кг/м3), теплопроводность [Вт/(м∙К)], вязкость (Па∙с) конденсата при средней температуре плёнки tпл = tг1 – Δt1/2, где Δt1 – разность температур конденсации пара и стенки, град.
Физические свойства конденсата Na2SO4 при средней температуре плёнки сведём в таблицу 2.
Теплопроводность была рассчитана по формуле [7]:
(19)
где М – молекулярная масса Na2SO4, равная 142 г/моль; ср – удельная теплоёмкость, Дж/(кг∙К).
Таблица 2 Физические свойства конденсата при средней температуре плёнки
| Параметр | Корпус | ||
| 1 | 2 | 3 | |
| Теплота конденсации греющего пара r, кДж/кг | 2137,5 | 2173 | 2224,4 |
| Плотность конденсата при средней температуре плёнки ρж, кг/м3 | 924 | 935 | 950 |
| Теплопроводность конденсата при средней температуре плёнки λж, Вт/(м∙К) | 0,685 | 0,686 | 0,685 |
| Вязкость конденсата при средней температуре плёнки μж, Па∙с | 0,193 ∙ 10-3 | 0,212 ∙ 10-3 | 0,253 ∙ 10-3 |
Расчёт α1 ведут методом последовательных приближений. В первом приближении примем Δt1 = 2,0 град. Тогда:
Вт/(м2∙К)
Для установившегося процесса передачи тепла справедливо уравнение:
где q – удельная тепловая нагрузка, Вт/м2; Δtст – перепад температур на стенке, град; Δt2 – разность между температурой стенки со стороны раствора и температурой кипения раствора, град.
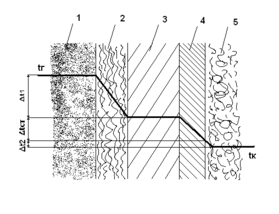
Распределение температур в процессе теплопередачи от пара через стенку к кипящему раствору показано на рисунке 2.
Рис. 1. Распределение температур в процессе теплопередачи от пара к кипящему раствору через многослойную стенку: 1 – пар; 2 – конденсат; 3 – стенка; 4 – накипь; 5 – кипящий раствор.
град
Тогда:
град
Коэффициент теплопередачи от стенки к кипящему раствору для пузырькового кипения в вертикальных кипятильных трубах при условии естественной циркуляции раствора [6] равен:
(20)
где ρж, ρП, ρ0 – соответственно плотность жидкости, пара и пара при абсолютном давлении р = 1 ат., кг/м3; σ – поверхностное натяжение, Н/м; μ – вязкость раствора, Па∙с.
Физические свойства раствора Na2SO4 в условиях кипения приведены в таблице 3.
Вт/(м2∙К)
Таблица 3 Физические свойства кипящих растворов Na2SO4 и их паров:
| Параметр | Корпус | ||
| 1 | 2 | 3 | |
| Теплопроводность раствора λ, Вт/(м∙К) | 0,342 | 0,354 | 0,378 |
| Плотность раствора ρ, кг/м3 | 1071 | 1117 | 1328 |
| Теплоёмкость раствора с, Дж/(кг∙К) | 3855 | 3771 | 3205 |
| Вязкость раствора μ, Па∙с | 0,24 ∙ 10-3 | 0,29 ∙ 10-3 | 0,675 ∙ 10-3 |
| Поверхностное натяжение σ, Н/м | 0,0746 | 0,0758 | 0,0803 |
| Теплота парообразования rв, Дж/кг | 2173 ∙ 103 | 2242 ∙ 103 | 2333 ∙ 103 |
| Плотность пара ρп, кг/м3 | 1,58 | 0,91 | 0,1979 |
Проверим правильность первого приближения по равенству удельных тепловых нагрузок:
Вт/м2
Вт/м2
Как видим, q’ ≠ q”. Для второго приближения примем Δt1 = 0,7 град, пренебрегая изменением физических свойств конденсата при изменении температуры, рассчитываем α1 по соотношению:
Вт/(м2∙К)
Тогда получим:
град
град
Вт/(м2∙К)
Вт/м2
Вт/м2
Как видим, q’ ≈ q”. Если расхождение между тепловыми нагрузками не превышает 3%, на этом расчёт коэффициентов α1 и α2 заканчивают. Находим К1:
Вт/(м2∙К)
Далее рассчитываем коэффициент теплопередачи для второго корпуса К2. Примем в первом приближении Δt1 = 2,0 град. Для определения К2 найдём:
Вт/(м2∙К)
град
град
Вт/(м2∙К)
Вт/м2
Вт/м2
Как видим, q’ ≠ q”. Для второго приближения примем Δt1 =1,5 град.
Вт/(м2∙К)
Тогда получим:
град
град
Вт/(м2∙К)
Вт/м2
Вт/м2
Как видим, q’ ≈ q”. Так как расхождение между тепловыми нагрузками не превышает 3%, на этом расчёт коэффициентов α1 и α2 заканчиваем и находим К2:
Вт/(м2∙К)
Рассчитаем теперь коэффициент теплопередачи для третьего корпуса К3. Примем в первом приближении Δt1 = 2,0 град.
Вт/(м2∙К)
град
град
Вт/(м2∙К)
Вт/м2
Вт/м2
Как видим, q’ ≠ q”. Для второго приближения примем Δt1 = 6,0 град.
Вт/(м2∙К)
Тогда получим:
град
град
Вт/(м2∙К)
Вт/м2
Вт/м2
Очевидно, что q’ ≠ q”. Для расчёта в третьем приближении строим графическую зависимость удельной тепловой нагрузки q от разности температур между паром и стенкой (рис. 3) и определяем Δt1.
Рис. 3. График зависимости удельной тепловой нагрузки q от разности температур Δt1.
Согласно графику можно определить Δt1 = 5,6 град. Отсюда получим:
Вт/(м2∙К)
град
град
Вт/(м2∙К)
Вт/м2
Вт/м2
Как видим, q’ ≈ q”. Так как расхождение между тепловыми нагрузками не превышает 3%, на этом расчёт коэффициентов α1 и α2 заканчиваем и находим К3:
Вт/(м2∙К)
1.7 Распределение полезной разности температур
Полезные разности температур в корпусах установки находим из условия равенства их поверхностей теплопередачи:
(21)
где Δtпj, Qj, Kj – соответственно полезная разность температур, тепловая нагрузка, коэффициент теплопередачи для j-го корпуса.
град
град
Проверим общую полезную разность температур установки:
град
Теперь рассчитаем поверхность теплопередачи выпарных аппаратов по формуле (1):
м2
м2
м2
Найденные значения мало отличаются от ориентировочно определённой ранее поверхности Fор. Поэтому в последующих приближениях нет необходимости вносить коррективы на изменение конструктивных размеров аппаратов (высоты, диаметра и числа труб). Сравнение распределённых из условия равенства поверхностей теплопередачи и предварительно рассчитанных значений полезных разностей температур представлено в таблице 4:
Таблица 4 Сравнение распределенных и предварительно рассчитанных значений полезных разностей температур
| Параметр | Корпус | ||
| 1 | 2 | 3 | |
| Распределённые в первом приближении значения Δtп, °С | 21,5 | 17,8 | 16,54 |
| Предварительно рассчитанные значения Δtп, °С | 9,76 | 14,6 | 31,48 |
Как видно, полезные разности температур, рассчитанные из условия равного перепада давления в корпусах и найденные в первом приближении из условия равенства поверхностей теплопередачи в корпусах, существенно различаются. Поэтому необходимо заново перераспределить температуры (давления) между корпусами установки. В основу этого перераспределения температур (давлений) должны быть положены полезные разности температур, найденные из условия равенства поверхностей теплопередачи аппаратов.
1.8 Уточнённый расчёт поверхности теплопередачи
















