151481 (621736), страница 2
Текст из файла (страница 2)
Рис. 3. Зависимость начального Z0 и максимального импеданса Zm фольг Vitrovac 6025Z от величины упругих растягивающих напряжений в диапазоне частот переменного тока от 0,5 МГц до 10 МГц при температуре 20°C. Упругие растягивающие напряжения приложены вдоль длины образца.
При температурах от комнатных до 45ºС рост упругих растягивающих напряжений приводит к небольшому росту максимального импеданса Zm на частотах больших 4 МГц и его незначительному падению на частотах меньших 4 МГц (рис. 4). При температурах от 45ºС до 110ºС увеличение упругих растягивающих напряжений приводит к росту Zm во всем частотном диапазоне. Важно отметить, что при температурах больших 70ºС во всем частотном диапазоне наблюдается уменьшение величины ГМИ-эффекта с ростом упругих растягивающих напряжений (рис. 5). При температурах порядка 110ºС и выше увеличение упругих растягивающих напряжений приводит к исчезновению ГМИ-эффекта. При этом, чем выше температура, тем при меньшем значении упругих растягивающих напряжений это наблюдается.
В работе [9] предложено объяснение полученным результатам, согласно которому изменение характера влияния упругих растягивающих напряжений обусловлено сменой знака константы магнитострикции с ростом температуры.
Рис. 4 Зависимость максимального импеданса фольг Vitrovac 6025Z от величины упругих растягивающих напряжений при различных температурах на частоте переменного тока 10 МГц. Упругие растягивающие напряжения приложены вдоль длины образца.
Рис. 5 Зависимость величины ГМИ-эффекта в фольгах Vitrovac 6025Z от величины упругих растягивающих напряжений при различных температурах на частоте переменного тока 10 МГц. Упругие растягивающие напряжения приложены вдоль длины образца.
1.2.2 Температурная зависимость магнитного импеданса
Известно, что магнитные свойства ферромагнетиков зависят от температуры, следовательно, величина эффекта ГМИ также должна зависеть от температуры.
Были исследованы температурные зависимости магнитных свойств и фазовые переходы в аморфных лентах состава Fe4Co67Mo1,5Si16,5B11 (Vitrovac 6025) [12]. Исследовались образцы в аморфном состоянии и отожженные до нанокристаллического состояния. Измерения проводились в диапазоне температур от 30К до температур порядка 1000К. Большой интерес представляют представленные в данной работе температурные зависимости магнитной проницаемости (рис. 5) и намагниченности (рис. 6). На основе данных зависимостей можно сделать вывод о поведении магнитоимпеданса при различных температурах. Из анализа зависимостей магнитной проницаемости и намагниченности следует, что температура Кюри данного сплава для аморфного состояния составляет 502К, для нанокристаллического – 515К. Можно предположить, что при приближении к температуре Кюри будет наблюдаться падение импеданса до некоторого минимального значения. При температурах, выше температуры Кюри зависимость импеданса от внешнего магнитного поля и от механических напряжений, вероятно, наблюдаться не будет. Появление намагниченности в интервале температур от 820К до 1000К связано с выделением кристаллической ферромагнитной фазы.
Рис. 5 Температурная зависимость магнитной проницаемости для лент Vitrovac 6025Z в нанокристаллическом (nanostructured) и аморфном (as received) состояниях.
Рис.6. Температурная зависимость намагниченности лент Vitrovac 6025 в аморфном (as received) и нанокристаллическом (nanostructured) состояниях.
В работе [9] был установлен характер поведения начального импеданса Z0 и и максимального импеданса Zm при изменении температуры в отсутствие внешних упругих растягивающих напряжений для различных частот переменного тока. (рис. 7.) Во всем частотном диапазоне при увеличении температуры от 20ºС до 190ºС величина начального импеданса Z0 возрастает. С дальнейшим ростом температуры магнитный импеданс образцов уменьшается. Температурное поведение максимального значения импеданса Zm зависит от частоты переменного тока, протекающего по образцу. Для частот 6-10 МГц с увеличением температуры наблюдается сначала небольшой рост, а затем падение Zm. Для частот меньших 6 МГц после начального роста Zm происходит его уменьшение до температуры 160ºС, а затем вновь наблюдается небольшой рост Zm до температур порядка 190ºС, который сменяется падением.
Рис. 7 Зависимость начального Z0 и максимального импеданса Zm фольг Vitrovac 6025Z от температуры в диапазоне частот переменного тока от 0,5МГц до 10МГц.
Зависимости ГМИ-эффекта от температуры для различных частот переменного тока имеют отличия (рис. 8). Для частот 6-10 МГц наблюдается уменьшение ГМИ-эффекта с ростом температуры, для меньших частот наблюдается сначала небольшое увеличение ГМИ-эффекта, а потом его резкое падение.
Рис. 8. Зависимость величины ГМИ-эффекта в фольгах Vitrovac 6025Z от температуры в диапазоне частот переменного тока от 0,5МГц до 10 МГц
2. Методика исследования магнитного импеданса
Для исследования влияния внешних факторов на импеданс ферромагнитных материалов была разработана и изготовлена специализированная установка, блок схема которой изображена на рис. 9. Данная установка позволяет исследовать влияние на импеданс проволок и фольг величины и направления магнитного поля, упругих растягивающих напряжений, температуры. Основным достоинством установки является возможность исследования совместного влияния вышеперечисленных факторов.
Рис. 9 Блок-схема установки: 1 – измерительная ячейка; 2 – кольца Гельмгольца; 3 – воздуховод; 4 – электронагревательный элемент; 5 – электронагреватель; 6 – три пары компенсационных колец Гельмгольца; 7 – термопары.
Основной частью данной установки является прецизионный анализатор импеданса Agilent 4294A, краткие технические характеристики которого таковы:
-
Частотный диапазон 40Гц – 110МГц с разрешением 1мГц;
-
Интервал измеряемых значений импеданса 3мОм – 50МОм;
-
Возможность измерения активной и реактивной компонент импеданса;
-
Пробный сигнал: сила тока 200мкА с разрешением 20мкА; напряжение – 1В с разрешением 1мВ;
-
Стабилизация по току и по напряжению;
-
Напряжение смещения ±40В, ток смещения ±100мА;
-
Основная погрешность не выше 0,1%.
Анализатор импеданса позволяет производить компенсацию собственного импеданса измерительной ячейки. Это операция становится необходимой при измерении импеданса на частотах порядка десятков мегагерц, потому что на этих частотах импеданс самой измерительной ячейки становится соизмерим с импедансом образца.
Исследуемые образцы изготавливаются по следующей технологии. От исследуемой проволоки (ленты) нужного состава отрезается необходимой длины заготовка, которая затем тщательно обрабатывается. Для хорошего контакта заготовки с зажимами держателя края тщательно зачищаются с помощью мелкой наждачной бумаги. Для того, чтобы не повредить исследуемый образец наждачной бумагой, его обработка проводится вращением вокруг собственной оси. С каждой стороны образца обрабатывается расстояние равное ~1мм, т.е. это то расстояние, которое закрепляется в зажимах.
Для возможности создания упругих механических напряжений были изготовлены специальная измерительная ячейка и деформирующее устройство.
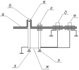
Схема разработанной ячейки представлена на рис. 10. Несущей частью ячейки является пластинка, изготовленная из миканита – прессованной молотой слюды. На выбор данного материала повлияли его термостойкость и требуемая механическая прочность. Кроме того, миканит является хорошим диэлектриком. На пластинке крепятся стержни, один из которых подвижный. Стержни изготовлены из латуни, так как данный материал является парамагнетиком, и подвержен малому окислению при нагреве. В латунных стержнях находятся две группы контактов: 1) для подключения образца; 2) для подключения генератора переменного тока и вольтметра. Контакты для подключения образцов выполнены в виде механических зажимов, что обеспечивает необходимую надежность при воздействии упругих растягивающих напряжений. Зажимные болты изготовлены из посеребренной латуни, что исключает опасность нарушения контакта в результате окисления. Для предотвращения кручения образца во время зажима, он располагается между двумя шайбами. Шайбы также изготовлены из посеребренной латуни. Контакты второй группы соединены проводниками с коаксиальными разъемами для подключения генератора и вольтметра.
Рис. 10 Схема измерительной ячейки (крепление подвижного стержня дано в разрезе): а – пластина; б – подвижный стержень; в – ось подвижного стержня; г – неподвижный стержень; д – разъем для подключения вольтметра ; е – разъем для подключения генератора переменного тока; ж – образец; з – болты для зажима образца.
Следует отметить, что контакты для подключения генератора и вольтметра должны располагаться как можно ближе к точкам подключения образца. Кроме того, разъемы для вольтметра и генератора необходимо подключать отдельными проводниками. Это требуется для уменьшения влияния собственного импеданса подводящих проводов на получаемый результат. Влияние собственного импеданса измерительной ячейки на высоких частотах переменного тока может привести к значительному искажению результатов измерения.
Для подключения выносного щупа анализатора импеданса на основании закреплен разъём стандарта SMA.
Упругие растягивающие напряжения создаются с помощью деформирующего устройства, представляющего собой подвес, перекинутый через неподвижный блок (рис. 11). Один край подвеса через гальваническую развязку закреплен на подвижном контакте измерительной ячейки, к другому концу подвешиваются гири необходимой массы. В качестве подвеса используется тонкая нить из кевлара. Максимальная величина растягивающих напряжений для проволочных образцов диаметром 175мкм равна 250Па и ограничена конструктивными особенностями ячейки.
Рис. 11 Схема измерительной ячейки и деформирующего устройства: а – измерительная ячейка; б – дюралюминиевый воздуховод; в – неподвижный блок; г – нить; д – наборный груз; е – термопара.
Учитывая, что вертикальное перемещение подвижного стержня при упругой деформации образца мало, а трением в оси подвижного стержня можно пренебречь, величину упругих растягивающих напряжений, приложенных к образцу, рассчитывают по формуле:
σ=mg/S,(7)
где m – масса грузов; g=9,8м/с2 – ускорение свободного падения; S – площадь поперечного сечения образца.
Для проведения температурных исследований был выбран способ нагрева потоком воздуха. Измерительная ячейка помещается на дюралюминиевый воздуховод таким образом, что образец находится в потоке воздуха (рис. 11). Воздух нагревается до необходимой температуры с помощью электронагревателя и продувается воздушным нагнетателем по воздуховоду. Питание электронагревательного элемента осуществляется программируемым источником постоянного тока Agilent N5770. Чтобы свести к минимуму колебания температуры воздушного потока, питание электронагревателя и нагнетателя осуществляется стабилизированным током, стенки воздуховода теплоизолированы. Для контроля температуры и равномерности нагрева образца используется две термопары хромель-копель, рабочие спаи которых расположены над концами образца. Свободные концы термопар вынесены из зоны нагрева и теплоизолированы.
Для создания внешнего квазистатического магнитного поля используется пара колец Гельмгольца, в центре которых располагается воздуховод с ячейкой. Питание колец Гельмгольца осуществляется от программируемого источника тока Agilent N6700B с модулем N6774, имеющим возможность изменения полярности, что позволяет производить измерения по полному циклу 0кА/м → +12кА/м → 0кА/м → -12кА/м → 0кА/м.
Так как исследуемые материалы относятся к магнитомягким, то при проведении данных исследований требуется обеспечить компенсацию геомагнитного и техногенного магнитных полей. Для решения данной задачи используются три пары колец Гельмгольца, расположенных во взаимно перпендикулярных плоскостях. Питание каждой пары колец осуществляется от отдельного источника питания. Контроль компенсации производится с помощью датчика Холла. А также приняты следующие шаги: спираль электронагревателя выполнена из бифилярной намотки, электронагреватель вместе с двигателем воздушного нагнетателя максимально удален от измерительной ячейки.
















