144309 (620496), страница 5
Текст из файла (страница 5)
где
695,38+0,5·144·0,95 = 763,78 кН;
--49,256+0,5·(-2,16) ·0,95 = - 50,28 кНм,
здесь
=0,5 - по [2, п. 1.7 к)] для IV снегового района;
=0,95 - коэффициент сочетания [2, п. 1.12];
=0,066м
коэффициент
но не менее:
= 0,5 - 0,01
-0,01·11,5 = 0,2 [3, 22]
I - момент инерции сечения бетона:
I =
= 114·10-4 м4;
Is - момент инерции сечения арматуры при симметричном армировании и коэффициенте
= 0,20 % (согласно [3, табл. 38 ] и при
> 83):
Is =
=1,01·10-4 м4,
8,3
Вычислим:
2908 кН
Коэффициент продольного изгиба определится по формуле:
= 1,92 [3, 19]
Определим случай расчёта по “мягкому” критерию:
Предварительно принимаем случай больших эксцентриситетов.
Так как изгибающий момент отрицательный (-213,1 кНм), то растянутая арматура As расположена у внешней грани колонны. Определим сечение арматуры из условия минимального процента армирования
= 0,002 (при λ=62,3) [3, табл.38]:
As' = As,min=
bh0 = 0.002·0,4·0,66 = 5,28·10-4 м2.
Принимаем 2
20 (As' =6,28·10-4 м2) [1, прил.3];
Сечение растянутой арматуры получим из условия:
[3 ,26]
При симметричном армировании:
0,458
0,458·(1-0,5·0,458) = 0,353
Площадь арматуры:
-0,72·10 -4м2.
По расчету арматура не требуется, устанавливаем арматуру из условия минимального армирования 2Ø20: АS=6,28см2. Симметричное армирование надкрановой части показано на рисунке 4.4.
Рис. 4.5 – Схема армирования подкрановой части колонны.
2. Проверяем арматуру, исходя из условия [2.25], в сечении у фундамента по сочетанию усилий (табл. 4.3, 3-я строка): М = -197,35кНм; N = 695,4кН (наиболее растянута внешняя грань),:
Определим коэффициент продольного изгиба:
Свободная длина надкрановой части колонны:
=
=1,5·8,45 м = 12,675 м,
где
= 1,5 [3, табл. 32], как для здания с мостовыми кранами при однопролетных балках, без учета нагрузки от кранов (сочетание 1+13).
Определим гибкость:
62,3
Т.к.
=62,3 > 14 то по [3, п. 3.3] требуется учитывать продольный изгиб колонны.
Эксцентриситет силы:
м,
Случайные эксцентриситеты (еа = 0,014, еа = 0,023), принимаем наибольшее значение: е0 =0,284 м.
Определим критическую силу:
φL =
= 1,25
M’ = М = N
а = 0,03 м, получаем:
М = 695,4·(0,284+0,35-0,03) = 420 кНм;
=695,4·(0,07+0,7/2-0,03) = 105,7кН,
где
=695,4кН;
= 49,246кНм,
=0,07м
коэффициент
но не менее:
= 0,5 - 0,01
-0,01·11,5 = 0,2
I - момент инерции сечения бетона:
I = 114·10-4 м4;
Is - момент инерции сечения арматуры при симметричном армировании и коэффициенте
= 0,2% :
Is =
=1,2·10-4 м4,
8,3
Вычислим:
3742 кН
Коэффициент продольного изгиба определится по формуле:
= 1,22
м
0.23
0.2
Ne = 695,4·0,669 = 465,2 кНм,
выполняем проверку по условию [2,25]:
=0,2·0,4·0,672·11,5·103·1,1 + 365·103· 6,28·10-4·(0,67-0,03) = 601кНм
Условие выполняется 601кНм>465,2кНм.
Окончательно принимаем симметричную арматуру 4Ø20АIII c общей площадью AS = 12,56см2. Согласно конструктивным требованиям принимаем промежуточные стержни 2Ø12АIII c АS= 2.26 см2, (Рис. 4.6).
Рис. 4.6 – Схема армирования подкрановой части колонны.
4.2.3. Проверка подкрановой части колонны на устойчивость из плоскости поперечной рамы
Проверка производится в соответствии с [4, п. 3.64], по N=1328,1кН.
Расчетная длина колонны из плоскости изгиба:
N ≤ φ(RbA + RscAs,tot) [3. 119]
где φ – коэффициент, определяемый по формуле
φ= φb + 2(φsb - φb)αs [3. 120]
но принимаемый не более φsb , здесь φb, φsb – коэффициенты, принимаемые по [3, табл. 26], для
= 18,1,
, и тяжелого бетона φb = 0,69,
и а=0,02м <0,15·h = 0.15·0.7 = 0.105м , φsb = 0,0,79.
αS =
0,178
φ= 0,69+2(0,79-0,69)0,178 =0,75
φ(RbA + RscAs,tot) = 0,75·(11,5·1,1·103·0,4·0,7 + 365·103·14,82·10-4)= 3062кН > 1328,1кН.
Проверка на устойчивость из плоскости поперечной рамы выполняется.
4.2.4. Назначение и расстановка поперечной арматуры
Из условия свариваемости в соответствии с [6, прил.9] принимаем поперечную арматуру диаметром 6 мм (АIII). В соответствии с [4, п.5.22] назначаем шаг поперечной арматуры 400 мм (< 500, < 20d = 20
20= 400).
Сетки косвенного армирования в нижней части колонны не устанавливаются.
4.3. Расчет консоли колонны
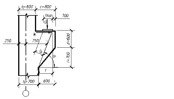
Основные размеры консоли показаны на рисунке 4.8.
Рис. 4.8 - Расчетная схема консоли.
Исходные данные: hв = 600мм; с = 800мм; hн = 700мм; d = 600мм;
е = 700мм; lsup = 250мм (для балки пролётом 6 м);
кН;
Класс бетона - В 20: RB=11,5 МПа, RBt=0,90 МПа [3, табл.13];
Ев 240000 МПа [3,табл.18];
Класс арматуры A-III; Rs = 365 МПа; Rsc = 365 МПа [3, табл. 22];
Т.к. вылет консоли с = 800мм меньше 0,9·hк = 0,9·(700+600)=1170мм, то расчёт ведётся как для короткой консоли.
Расчет окаймляющих стержней:
Из рисунка 4.8 следует:
0,956, отсюда θ =73 о ;
где hк = d+l = 700 + 600 = 1300мм; f = 600 -100=500мм;
N0=Q·ctgθ = 664.28·ctg73o = 195.9кН
5.4·10-4 м2
Принимаем 2ø20 AIII (As=6,28·10-4 м2).
Требуемая длина анкеровки:
мм,
но не менее
12·20 = 240 мм и
=200 мм.
Принимаем длину анкеровки l = 300 мм.
Расчёт хомутов.
Условие прочности:
[3, (85)]
Из условия свариваемости с ø20 [5, прил.9] принимаем хомуты 6 AIII (Asw=0.283см2).
Шаг назначаем из условий:
150мм. Но Sw≤150мм. Принимаем Sw = 150мм:
Тогда
9,43·10-4
lb = lsupSinθ = 250·0,956=239мм;
1,04 [3, (87)]
тогда Q ≤ 0.8·1.04·11.5·103·1.1·0.4·0.239·0.956 =961.9 кН [3, (85)]
Правая часть условия (85) принимается:
1. Не более 3.5Rbtbh0 = 3.5·0.9·103·1.1·0.4·(1.3 – 0.03)= 1760кН;
2. Не менее меньшего из 2-х значений:
2.5Rbtbh0 = 2.5·0.9·103·1.1·0.4·(1.3 – 0.03)= 1257кН;
2104кН.
Принимаем правую часть [3, (85)] равной 961.9 кН, тогда условие прочности
Q = 664.28кН < 961.9кН выполняется.
4.4. Проектирование стыка рабочей продольной арматуры
В соответствии с [3, п. 5.38] длина перепуска
. По [3, табл.37] для стыков арматуры в растянутом бетоне при диаметре 20 мм:
740 мм,
но не менее
20·20 = 400 мм и
=250 мм. Принимаем длину перепуска l = 750 мм.
В соответствии с [3, п. 5.22] расстояние между хомутами по длине перепуска должно составлять не более 10dmin = 10·20 = 200 мм. В местах нахлёста арматуры принимаем хомуты диаметром 6 мм (АIII) и шагом 160 мм.
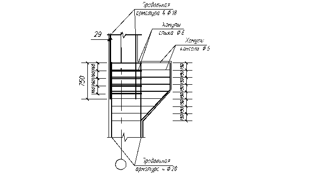
Армирование консоли показано на рисунке 4.9.
Рис. 4.9 - Армирование консоли.
5. РАСЧЕТ БЕЗРАСКОСНОЙ ФЕРМЫ.
5.1. Геометрические размеры фермы и поперечных сечений элементов
По проекту рассчитывается безраскосная ферма пролётом 18 м.
Сетка колонн 24·6 м, нагрузка на 1 м2 покрытия составляет:
Полная 3,32+2=5,32 кН/м2, в том числе снег 1,33 кН/м2.
В соответствии с [1, табл.12], этой нагрузке соответствует 1-й тип опалубки. Размеры поперечных сечений элементов фермы для 1-го типа опалубки составляют (b
h) [1, табл.13]:
-
Верхний пояс – 0,24
0,20; -
Нижний пояс – 0,24
0,22; -
Стойки – 0,24
0,25
Ферма с нанесёнными размерами элементов показана на рисунке 5.1.
Рис. 5. - . Геометрическая схема безраскосной фермы.
5.2 Статический расчет фермы
Статический расчет безраскосных ферм производится на ЭВМ по программе MKEG для статически неопределимых систем .
Исходные параметры расчета стержневой системы (фермы):
1. Количество элементов – 23;
2. Количество закрепленных узлов – 2;
3. Всего узлов – 16;
4. Шифр фермы – KGK24-1;
5. Количество загруженных узлов – 7;
6. Величина узловой нагрузки – кН:
95,76 кН
Усилия в элементах фермы приведены в таблице 14.
Результаты расчета фермы на ЭВМ (усилия в элементах фермы) приведены в таблице 5.1.
Для удобства вычисления ядровых моментов и выбора РСУ усилия в элементах сведены в таблицу 5.2 (Рассматривается половина фермы ввиду её симметрии).
Таблица 5.2 – Расчетные сочетания усилий.
| Элемент | h, см | r = h/6, м | М, кНм | N, кН | |
| верхний пояс | 0.2 | 0.033 | 12.856 | -861.268 | 41.56 |
| -25.27 | -817.695 | 52.53 | |||
| 4.312 | -778.494 | 30.26 | |||
| 3.231 | -770.184 | 28.9 | |||
| стойка | 0.22 | 0.0367 | 12.414 | -23.961 | 13.29 |
| 12.625 | 20.121 | 13.36 | |||
| -4.588 | -2.651 | 4.685 | |||
| 0 | -1.753 | 0.064 | |||
| нижний пояс | 0.25 | 0.0417 | 20.929 | 796.461 | 54.11 |
| -32.633 | 776.692 | 65 | |||
| 6.082 | 765.784 | 37.99 | |||
| 4.122 | 768.748 | 36.15 |
5.3 Расчет верхнего пояса
Исходные данные:
0>














