144309 (620496), страница 8
Текст из файла (страница 8)
м,
где
.
Высота плитной части должна быть не менее:
.
Принимаем двухступенчатую плиту с высотой ступени 0,45 м.
,
.
Проверяем случай расчета:
,
где
Так как
, подтверждается случай продавливание плитной части фундамента от дна стакана.
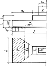
6.5 Расчет высоты и вылета нижней ступени
Высота нижней ступени h1 проверяется расчетом на продавливание, а наибольшая величина С1max устанавливается расчетом на поперечную силу при отсутствии поперечной арматуры (рис. 6.4).
Расчет на продавливание нижней ступени производится из условия:
где
=
где
Здесь
– площадь многоугольника давления по подошве (рис. 6.4):
,
где
Так как
то условие прочности на продавливание бетона ступени выполняется.
-
Рис.6.4. К расчету высоты и вылета нижней ступени фундамента.
Максимальный вылет нижней ступени С1max определяем при условии отсутствия поперечной арматуры на ширину b =1м по формуле [3, п.3.31]:
;
Т.к.
, то проверка выполняется.
6.6 Расчет арматуры подошвы фундамента
Расчет арматуры подошвы фундамента производится из условия изгиба плиты под воздействием реактивного давления грунта в двух направлениях:
1) В плоскости рамы (Рис. 6.5):
Сечение 1-1
(см. п. 6.3);
Изгибающий момент на один метр ширины фундамента:
Рис.6.5 - Расчетная схема работы плиты на изгиб в плоскости рамы.
Сечение 2-2
Требуемая площадь арматуры на 1 метр ширины фундамента:
в сечении 1-1:
в сечении 2-2:
Шаг стержней принимается равным 250 мм. Принимаем по большему значению 412 А-II на 1 погонный метр ширины фундамента
2) Из плоскости рамы на 1 погонный метр:
Площадь арматуры на 1 погонный метр длины фундамента.
Принимаем 210 А-II (1,57 см2) на погонный метр длины подошвы (с шагом 500 мм).
Таким образом, принята сварная сетка с размерами ячеек 200х500мм из стержней 12 AII в направлении действия активного момента и стержней 10 AII в поперечном направлении.
Так как диаметр арматуры класса AII сетки не превышает 22 мм, в соответствии с [5, п.2.56] проверку ширины раскрытия трещин в плитной части фундамента производить не требуется.
6.7. Расчет подколонника
6.7.1. Расчет продольной арматуры подколонника
Рабочая вертикальная арматура устанавливается у коротких граней подколонника (рис. 6.6). Расчет арматуры производится как внецентренно сжатого элемента по усилиям в сечении 1-1 (коробчатое, приводимое к двутавровому) и по усилиям в сечении 2-2 (сплошное прямоугольное).
Рис.6.6 - Вертикальная арматура подколонника
Усилия у обреза фундамента по наибольшему ядровому моменту [табл.6,1]: M = -234,5 кНм; N = 873,1 кН; Q = 35,71 кН..
В сечении 1-1:
В сечении 2-2:
Рассчитываем сечение подколонника с симметричной арматурой в сечении с максимальным моментом М= - 266,6 кНм.
Предполагаем первый случай внецентренного сжатия: большие эксцентриситеты (
).
[3, 36]
[3, 37]
Задаем сечение сжатой арматуры при минимальном проценте армирования
=0,05 % [3, табл.38]:
Принимаем 512 (шаг 200 мм,
).
Растянутая арматура по расчету не требуется. Конструктивно принимаем
(212 А-II).
6.7.2 Проверка ширины раскрытия трещин в сечении 2 – 2 подколонника.
Определяем необходимость проверки ширины раскрытия трещин в соответствии с [5, п.2.52].
Напряжение по наименее сжатой грани составляет:
Так как напряжений растягивающие, но не превышают
, расчет по образованию и раскрытию трещин не требуется.
6.7.3 Расчет поперечной арматуры подколонника
Под действием момента
происходит поворот колонны относительно горизонтальной оси, проходящей через точку К. При этом момент от поворота Мк уравновешивается моментами усилий в поперечной арматуре, относительно дна стакана (рис.6.7).
Рис.6.7 - Горизонтальная арматура подколонника
При расчете у верхнего обреза подколонника [табл. 6.1]:
-
по сочетанию (+М):
Имеем второй случай поворота;
-
по сочетанию (Nmin):
Имеем третий случай поворота;
-
по сочетанию (-М):
Имеем второй случай поворота;
Т.к. в 1-м и 3-м сочетании имеет место второй случай поворота, принимаем к расчету сочетание (-М) (с наибольшим эксцентриситетом е0=0,27 м):
М = 234,5 кНм; N = 873,1 кН; Q = 35,71 кН.
Определение сечения поперечной арматуры класса А-II.
Для третьего сочетания 3-й случай поворота:
М = 205,9 кНм; N = 540,73 кН; Q = 41,94 кН.
Т.к. этот момент меньше полученного ранее, сечение каждого стержня в одной сетке:
.
Принимаем 4 сетки из стержней 10AII (0,7854=3.14 см2)
, что соответствует минимальному диаметру стержней сеток [5, п.4.25]. Т.к. арматура принята с запасом, убираем две сетки (нижних), тогда:
.
Окончательно принимаем 2 сетки из стержней 10AII.
6.7.4 Расчет на местное сжатие дна стакана подколонника
Расчет подколонника на местное сжатие дна стакана производится в соответствии с [5, п.2.48].
При расчете на местное сжатие дна стакана подколонника без поперечного (косвенного) армирования должно удовлетворяться условие:
Nc loc Rb,loc Aloc 1, [5, (63)]
где Nc - расчетная продольная сила в уровне торца колонны, определяемая по [5, п. 2.20]:
Nc = N=0,868
873,1=757,4 кН [5, (26)]
где — коэффициент, учитывающий частичную передачу продольной силы N на плитную часть фундамента через стенки стакана и принимаемый равным:
= (1 - 0,4Rbt Ac/N) =
[5, (27)]
где Rbt = 0,75 МПа - расчетное сопротивление бетона замоноличивания стакана и принимается с учетом коэффициентов условий работы b2, b9 (для В15); Ac = 2(hcol + bcol)( hc - 0.05)=
- площадь боковой поверхности колонны, заделанной в стакан фундамента;
loc - коэффициент, равный 0,75 при
;
Rb,loc - расчетное сопротивление бетона смятию, определяемое по формуле: Rb,loc = loc Rb =
МПа, [5, (64)]
где loc =
[5, (65)]
Аloc2 =
=1,08 м2 - площадь поперечного сечения подколонника;
Аloc1 =
=0,28 м2 - площадь торца колонны.
Rb - призменная прочность бетона подколонника с учетом коэффициентов условий работы b3, b9;
Nc = 757,4 loc Rb,loc Aloc1 = 0,75
10,2
0,28
103 = 2142 кН
Условие [5, (63)] выполняется, поэтому сетки косвенного армирования ниже дна стакана устанавливать не требуется.
Список использованной литературы
-
Я.И.Гуревич, В.А.Танаев Расчет железобетонных конструкций одноэтажного промышленного здания. Учебное пособие для курсового и дипломного проектирования. – Хабаровск, 2001г.
-
СНиП 2.01.07-85* Нагрузки и воздействия / Минстрой России. - М.: ГП ЦПП, 1996.-44 с.
-
СНиП 2.03.01-84* Бетонные и железобетонные конструкции / Минстрой России. - М.: ГП ЦПП, 1996. - 76 с.
-
Байков В.Н., Сигалов Э.Е. Железобетонные конструкции, Общий курс. – 5-е изд., перераб. И доп. - М. СИ; 1991.
-
Пособие по проектированию фундаментов на естественном сновании под колонны зданий и сооружений (к СНиП 2.03.01-84 и СНиП 2.02.01-83) Ленпромстройпроект Госстроя СССР. – М.: ЦИТП Госстроя СССР, 1989. – 112 с.
-
СНиП 23.01-99. Строительная климатология/ Минстрой России. - М.: ГП ЦПП, 1999. - 56 с.















