151131 (598914), страница 2
Текст из файла (страница 2)
Таблица1.2
| Категории размещения для эксплуатации | Обозначение |
| На открытом воздухе Под навесом или в помещениях (объемах), где колебания температуры и влажности несущественно отличаются от их колебаний на открытом воздухе и имеется сравнительно свободный доступ наружного воздуха В закрытых помещениях (объемах) с естественной вентиляцией без искусственно регулируемых климатических условий, где колебания температуры и влажности воздуха и воздействие песка и пыли существенно меньше, чем на открытом воздухе В помещениях (объемах) с искусственно регулируемыми климатическими условиями В помещениях (объемах) с повышенной влажностью (например, в неотапливаемых и невентилируемых подземных помещениях, в том числе шахтах, подвалах, в почве и др.) | 1 2 3 4 5 |
Значительную часть электромагнитов постоянного тока составляют электромагнитные механизмы, использующиеся в качестве привода для осуществления необходимого перемещения.
Примером подобных электромагнитов являются: тяговые электромагниты, предназначенные для совершения механической работы при перемещении их рабочих органов, электромагниты муфт сцепления и торможения и тормозные электромагниты; электромагниты, приводящие в действие контактные устройства в контакторах, пускателях, автоматических выключателях; электромагниты реле, регуляторов и других чувствительных устройств автоматики.
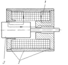
При всем разнообразии электромагнитов отдельные их узлы имеют общее назначение (рис.1.1):
катушка с расположенной на ней намагничивающей обмоткой 1; неподвижная часть магнитопровода из ферромагнитного материала 2; подвижная часть магнитопровода — якорь 3.
Якорь отделяется от остальных частей магнитопровода рабочим и паразитным зазорами и представляет собой часть электромагнита, которая, воспринимая электромагнитное усилие, передает его соответствующим деталям приводимого в действие механизма.
В зависимости от расположения якоря относительно остальных частей электромагнита и характера воздействия на якорь со стороны магнитного потока электромагниты постоянного тока разделяются на следующие типы: электромагниты с втягивающимся якорем, с внешним притягивающимся якорем и с внешним поперечно движущимся якорем.
Одна из типичных конструкций электромагнита с втягивающимся якорем показана на рис.1. Характерной особенностью таких электромагнитов электромагнитов является то, что якорь, или, как его в данном случае можно назвать, подвижный сердечник, располагается целиком или частично внутри катушки с обмоткой. В процессе срабатывания электромагнита якорь, перемещаясь поступательно, погружается в катушку. Втягивание якоря происходит как за счет магнитного потока, проходящего через торцевую поверхность якоря, так и за счет действия магнитных потоков, выходящих из его боковой поверхности.
На рис. 5.2 изображена одна из разновидностей электромагнитов с внешним притягивающимся якорем. У этих электромагнитов якорь расположен снаружи по отношению к катушке. На него действует главным образом рабочий магнитный поток, проходящий от якоря к торцу шляпки сердечника. В результате этого якорь поворачивается в пределах малого угла или совершает поступательное перемещение в направлении линии индукции рабочего магнитного потока.
Рис.1.1. Электромагнит с втягивающимся якорем
Конструкция электромагнита с внешним поперечно движущимся якорем показана на рис. 5.3. Якорь в подобных электромагнитах также располагается снаружи катушки. Рабочий магнитный поток, действующий на якорь, проходит из его боковой поверхности к полюсным наконечникам, имеющим особую форму, определенным способом согласованную с формой боковой поверхности якоря. В результате воздействия со стороны рабочего магнитного потока якорь движется поперек магнитных линий, поворачиваясь на некоторый ограниченный угол.
Рис.1.2. Электромагнит с внешним притягивающимся якорем
Рис.1.3. Электромагнит с внешним поперечно-движущимся якорем
В каждой из трех перечисленных групп электромагнитов постоянного тока в свою очередь имеется ряд конструктивных разновидностей, определяемых конструкцией магнитной цепи. Кроме того, в зависимости от способа включения обмотки электромагнита различают электромагниты с обмотками параллельного включения и с обмотками последовательного включения.
В первом случае обмотка выполняется таким образом, что ее включают на полное напряжение источника питания непосредственно или через добавочное сопротивление. Ток в цепи обмотки параллельного включения полностью, или в значительной степени, определяется ее параметрами.
Обмотка последовательного включения практически не влияет на величину тока той цепи, в которую она включается. Последний определяется параметрами остальных элементов цепи. Благодаря этим особенностям некоторые характеристики электромагнитов параллельного и последовательного включений, в первую очередь их динамические характеристики, оказываются различными.
Наконец, электромагниты могут различаться по скорости их срабатывания.
Классификация магнитных цепей постоянного и переменного токов. Характеристики магнитномягких материалов
Магнитные цепи находят широкое применение в различного рода электрических аппаратах и электромагнитных устройствах: контакторах, автоматах, приводах выключателей, тормозных, тяговых и подъемных электромагнитах, релейной аппаратуре, датчиках, электромагнитных муфтах, дросселях переменной индуктивности, шаговых искателях, магнитных подвесках и др. Магнитные цепи также являются основным элементом и в ускорителях элементарных частиц, электромагнитных сепараторах, применяемых в металлургии; электромагнитных плитах и приспособлениях, используемых в металлообрабатывающей промышленности, вибраторах и других устройствах, где требуется создание магнитного поля определенной формы.
Классификация магнитных цепей
Огромное разнообразие конструктивных форм магнитных цепей создают определенные трудности в разработке для них методов расчета. Поэтому в основу классификации нами положен характер образования и распределения магнитного потока в магнитопроводе, что позволило значительное число цепей объединить в ряд однородных групп и разработать для некоторых из них общие принципы расчета с учетом особенностей каждой.
Магнитные цепи можно разбить на два основных вида:
-
цепи, поток рассеяния которых мал, и при расчете параметров намагничивающей катушки его можно не учитывать;
2)цепи, поток рассеяния которых необходимо учитывать.
А
. Разновидности магнитных цепей без учета потока рассеяния
Магнитные цепи, при расчете которых можно с достаточной для практики точностью потоки рассеяния не учитывать.
Если через равномерно распределенную обмотку, расположенную по всей длине ферромагнитного тороида пропустить ток, то по нему будет проходить только основной поток, а поток рассеяния вследствие полной симметрии будет отсутствовать. В подавляющем большинстве магнитные цепи выполняются несимметричными. При этом магнитопровод может быть замкнутым или иметь небольшой воздушный зазор, а обмотки обычно располагаются на отдельных участках цепи. В таких цепях появляется поток рассеяния, который будет определяться величиной воздушного зазора, конфигурацией магнитной цепи, степенью насыщенности стали, расположением намагничивающей катушки, наличием электромагнитных экранов (короткозамкнутых витков) и другими факторами.
Степень учета поля рассеяния зависит в каждом отдельном случае от требований, предъявляемых к расчету электрического аппарата. С достаточной для практики точностью потоком рассеяния можно пренебречь в трех случаях: когда магнитопровод замкнут; когда на пути основного потока имеется воздушный зазор сравнительно малой величины, а магнитная цепь насыщена незначительно и когда размагничивающее действие вторичной обмотки сравнительно невелико. Иначе говоря, пренебрегать потоком рассеяния можно в тех случаях, когда он мал по сравнению с основным потоком.
Пренебрежение потоком рассеяния значительно облегчает расчет магнитной цепи, однако трудности по определению габаритных размеров при заданных параметрах, учету нелинейности кривой намагничивания и размагничивающего действия электромагнитных экранов полностью сохраняются.
Характеристики некоторых магнитномягких материалов
Для магнитных цепей электрических аппаратов применяются самые разнообразные магнитномягкие материалы, от правильного выбора которых во многом зависит качество конструкции электрического аппарата в целом. Кроме определенных магнитных свойств, м
атериал должен удовлетворять еще необходимым механическим и электрическим параметрам, и выбор его должен быть экономически оправдан.
Важнейшей характеристикой ферромагнитного материала является связь между индукцией В (Тл) и напряженностью магнитного поля Н(А/м)(рис.1.4.):
(1.1)
Здесь
µ— относительная магнитная проницаемость, показывающая, во сколько раз магнитная проницаемость данной среды больше магнитной проницаемости вакуума;
µ0— магнитная постоянная или абсолютная проницаемость
вакуума, равная
µа — абсолютная магнитная постоянная, гн/м;
Рис.1.4.Характеристики магнитных материалов:
а — семейство симметричных петель гистерезиса: 1 — основная кривая намагничивания; 2 — предельная петля гистерезиса; б — основная кривая намагничивания и кривая относительной магнитной проницаемости
Лекция № 2.
О
пределение магнитных проводимостей воздушных промежутков
Для магнитных систем электрических аппаратов, когда учитываются потоки рассеяния и полные потоки воздушного зазора, существенным является определение магнитных проводимостей воздушных путей — проводимостей зазора и рассеяния. Причем точность расчета параметров электрического аппарата с воздушным зазором во многом определяется точностью расчета проводимостей воздушных путей. Магнитное поле вблизи воздушного зазора для плоской магнитной системы трехмерно и имеет очень сложную форму. На рис.2.1 показано поле между полюсом и плоскостью для различных координат поля выпучивания.
Магнитные проводимости этого объемного поля или поля между двумя полюсами можно рассчитать тремя методами. Первый метод, наиболее достоверный, основан на экспериментальном исследовании распределения объемного поля и магнитных напряжений между полюсами конечных размеров а и в при различных воздушных зазорах и формах полюсов. Так как поле не плоскопараллельное, то на боковые удельные проводимости оказывают влияние ширина или диаметр полюса.
Рис.2.1 . К расчету магнитных проводимостей для расположения полюс — плоскость
Второй метод основан на замене сложного объемного поля воздушного зазора (рис.) однородным полем, не имеющим поля выпучивания. Для этой цели, при тех же значениях воздушного зазора и максимальной индукции в нем, реальные размеры полюса а и б заменяются расчетными размерами полюсов ар и бр (рис.). Этот метод позволяет определить полное объемное поле воздушного зазора по двум взаимно перпендикулярным плоско-параллельным полям. Суть третьего метода сводится к тому, что объемное поле вокруг воздушного зазора заменяется суммой отдельных полей, имеющих простые геометрические формы. Применение того или иного метода расчета вызывается формой магнитной цепи, известными пределами координат поля выпучивания и желаемой точностью расчета. Рассмотрим эти методы.
Метод определения магнитных проводимостей воздушных зазоров с учетом влияния ширины грани или диаметра сердечника на боковую удельную проводимость
















