144567 (598813), страница 8
Текст из файла (страница 8)
На мал.6.21 представлений графік залежності ефективної в'язкості від градієнта швидкості глини, одержаний на моделях вальцов і преса. Як видно з графіка, обидві криві, одержані на моделях різних машин, достатньо близькі один до одного.
На мал.6.22 показаний графік залежності в'язкості від градієнта швидкості Кембрійської глини в інтервалі їх формувальної вогкості в діапазоні градієнтів швидкостей роботи глинооброблюючого устаткування. Графік побудований в логарифмічних координатах, в яких залежність
- є прямою лінією.
Для математичного опису цієї графічної залежності найбільш придатне статечне рівняння вигляду
(6.42)
Параметр ψ може бути легко знайдений з графіка, оскільки тангенс кута нахилу прямої рівний (ψ - 1). З другого боку, при градієнті швидкості, рівному 1,
і коефіцієнт визначається по відрізку, що відсікається прямій на ординаті
. Чим вища в'язкість матеріалу, тим вище розташована його пряма на графіку.
Мал.6.21. Крива реології глиномасси Галіцинського керамічного заводу: 1 - з урахуванням пружних і пластичних властивостей (конус); 2, 3 - з урахуванням тільки пластичних властивостей (2 - циліндр Ø0,062 м; 3 - циліндр Ø0,012 м).
Мал.6.22. Графік залежності в'язкості від градієнта швидкості Беськудниковськой глиномасси вогкістю: 1-1' - 22%; 2-2' - 24%; 3-3' - 26%; 1-1' - 22% і Кембрійською глиномасси вогкістю: 4-4' - 20%; 5-5' - 24,5%; 6-6' - 26%; I - ділянка кривих, одержуваних на щілистій насадці шнекового преса; II - крива, одержувана на глинорозтирачі для Беськудниковськой глиномасси вогкістю 24%; III - ділянка кривих, одержуваних на лабораторній валковій установці.
Таким чином, шляхом порівняння кривої досліджуваної глини реології з кривою вивченою реології, можна на підставі графіка не тільки якісно оцінити деформативні властивості матеріалу, що цікавить нас, але, враховуючи однозначну залежність зусиль, що виникають у вузлах машин, від в'язкості матеріалу і їх геометричних характеристик, графічно визначити орієнтовну величину основних параметрів цих машин, що є початковими при їх подальших розрахунках.
Розділ 3. Дозування сипких і рідких матеріалів
3.1. Дозування будівельних матеріалів і рідких продуктів
Сучасне виробництво будівельних матеріалів, виробів і конструкцій характеризується широким використовуванням багатокомпонентних будівельних сумішей. При їх приготуванні значна увага відводиться технологічному процесу дозування.
Дозуванням називається процес відмірювання певної кількості (об'єму, маси) матеріалу або рідини із заданою точністю (погрішністю).
Дозування походить від слова дозувати - відміряти дозу. Пристрої для дозування сипких матеріалів і рідких продуктів називаються дозаторами. Дозування сипких матеріалів і рідких продуктів в даний час є обов'язковим технологічним процесом при виробництві матеріалів і виробів високої якості.
Дозування можна класифікувати по наступних основних ознаках: призначенню; принципу дії (відмірюванню дози); характеру роботи; інтенсивності відмірювання (зважування); контролю точності дозування; способу управління і ін.
За призначенням дозування підрозділяється на дозування сипких кускових і порошкоподібних (дисперсних) матеріалів, рідин і рідких продуктів (шламів, суспензій і т.д.).
За принципом дії (відмірюванню дози) дозування ділиться на об'ємне і вагове (масове) і рідше на змішане (при приготуванні керамзитобетону).
По характеру роботи дозування підрозділяється на циклічне (дискретне) і безперервне. При циклічному дозуванні відмірювання дози відбувається в мірній або ваговій місткостях (бункерах). Після відмірювання дози місткості звільняються від матеріалу або рідини і процес дозування повторюється. При безперервному дозуванні сипкий матеріал або рідина подаються (транспортуються) безперервно із заданою об'ємною або масовою продуктивністю.
Технологічні схеми дискретної (циклічного) дії звичайно базуються на загальнопоширеній схемі дозування: витратний бункер - затвор (живильник) - циклічний дозатор з мірною місткістю (бункером). По цій схемі для кожного робочого циклу вимагається провести наступні робочі операції: відкрити і закрити затвор (шибер) витратного бункера; провести спочатку грубе, а потім точне дозування (зважування) дози; відкрити і закрити затвор дозатора. Кожна з перерахованих операцій вимагає установки відповідних автоматичних пристроїв.
По інтенсивності відмірювання (зважування) дозування ділиться на одностадійне і двохстадійне. Двохстадійне дозування передбачає попередній набір маси матеріалу (грубе дозування) і остаточне досипання (точне дозування) до заданої загальної дози матеріалу.
Це робиться для підвищення точності дозування за рахунок зменшення коливання вагової системи.
По контролю точності дозування (зважування) дозування підрозділяється на циклічне (дискретне) і безперервне.
За способом управління дозування може бути з місцевою установкою заданих порцій; з місцевою установкою і дистанційною передачею свідчень і з дистанційною установкою заданих порцій матеріалу і передачею свідчень.
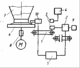
Схема дозування дискретної (циклічного) дії (мал.9.1) включає пристрій управління (УУ), що функціонує в автоматичному режимі.
З пульта оператор вводить в систему значення заданої маси дози матеріалу РZ. Після чого УУ формує сигнал для включення електродвигуна М гвинтового живильника 3, і матеріал починає поступати з бункера 4 в бункер дозатора 2. У міру надходження матеріалу в бункер 2 дозатори вісь стрілки покажчика циферблата 6 повертається за годинниковою стрілкою за допомогою системи важеля 5.
Кут повороту стрілки за допомогою датчика Д перетвориться в сигнал, що поступає в УУ, яке відповідно до алгоритму функціонування визначає момент (час) і формує сигнали виключення гвинтового живильника 3 і відкриття розвантажувального секторного затвора 1 пневмоциліндром 7.
Мал.9.1. Схема дискретного (циклічного) дозування: 1 - секторний затвор; 2 - бункер дозатора; 3 - гвинтовий живильник; 4 - приймально-витратний бункер; 5 - система важеля дозатора; 6 - покажчик циферблата; 7 - пневмоциліндр; Д - датчик; УУ - пристрій управління; М - електродвигун гвинтового живильника; РZ - задане значення маси матеріалу; РД - дійсне значення маси матеріалу.
Алгоритми управління процесом набору дози можуть бути різні. Їх ефективність істотно залежить від методу визначення моменту формування сигналу управління гвинтовим живильником [3].
В алгоритмі управління передбачається, що значення маси матеріалу в бункері дозатора РД (tі) в кожний момент часу в точності відповідає значенню сигналу на виході датчика Д. На початку процесу УУ формує сигнал включення живильника. У міру надходження матеріалу в дозатор змінюється поточне значення маси РД (t) і в УУ перевіряється умова РД (tі) = PZ до тих пір, поки ця умова не буде виконана. Коли маса матеріалу в бункері 2 дозатори, визначена по поточному значенню сигналу датчика, стане рівної заданому значенню маси дози РZ, УУ формує сигнал виключення живильника, після чого процес набору дози матеріалу закінчується.
Для визначення моменту виключення гвинтового живильника 3 використовують безконтактні путні датчики БК, БК-А і ін.
Найпростіший алгоритм набору дози має низьку точність дозування, оскільки не враховує наявності потоку матеріалу, що знаходиться в процесі падіння у момент вимірювання поточної маси; динамічної дії цього потоку на грузоприйомний пристрій, обумовленого безперервними ударами частинок падаючого матеріалу об матеріал в бункері дозатора; наявність перехідних процесів і ін.
Маса дози матеріалу Pz в кінці процесу відмірювання відрізняється від значення РД (t1), визначеного у момент t1 формування сигналу виключення живильника. В реальних системах РД (t1) > Pz. Різниця РД (t1) - Pz=ΔP називається помилкою системи. Зменшити помилку можна вживанням в алгоритмі випереджаючих даних по обліку падаючого потоку матеріалу. На відміну від найпростішого алгоритму в складному алгоритмі на підставі значення сигналу РД (t) обчислюється прогнозоване значення маси матеріалу РД (t1), яка опиниться в бункері дозатора після закінчення процесу дозування.
(9.1)
де АП - постійний параметр в межах інтервалу часу набору заданої дози.
Якщо АП прийняти рівним середньому значенню помилки системи, то постійна складова помилки набору дози виявиться рівна 0, що більш ніж в два рази підвищує точність дозування. Тому замість путніх датчиків в системах застосовують високоточний перетворювач кут-код на базі сельсина [3,17, 30, 63].
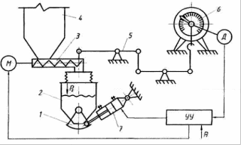
На мал.9.2 приведена схема безперервного дозування сипких матеріалів.
П
ринцип дозування полягає в наступному. Положення вантажу 1 на консольній підвісці 2 вибирається таким, щоб mгpgl2 = mMgl1. Якщо густина матеріалу зростає, то тм збільшується проти заданої величини і консоль 2 повертається щодо крапки Про на деякий кут. При цьому система важеля 3 опускає шибер 5 і відповідно зменшує товщину шару матеріалу h, тобто знижує тм до заданого значення. Якщо густина матеріалу зменшується, то все відбувається в зворотному порядку: шибер підіймається і збільшує тм до заданого значення. Точність дозування по такій схемі невелика [2, 3, 17].
Мал.9.2. Схема безперервного дозування сипких матеріалів: 1 - врівноважуючий грузнув; 2 - підвіска живильника: 3 - система важеля приводу шибера (заслінки); 4 - бункер; 5 - шибер (заслінка); 6 - живильник стрічковий.
Безперервне дозування при Q ≈ const здійснюється декількома способами: підтримуючи постійну швидкість υ, вимірюючи тм і впливаючи на завантажувальний пристрій, змінювати його продуктивність; вимірюючи тм і впливаючи на привід дозуючого пристрою, змінювати швидкість V; вимірюючи і змінюючи обидва параметри тм і v. Отже, перший спосіб здійснює регулювання дози (продуктивності) по масі матеріалу; другий - по швидкості транспортування матеріалу, і третій - по двох параметрах одночасно.
Погрішність дозування по двох параметрах одночасно, хоча і менше ніж при першому і другому способах, все ж таки залишається високою. Застосовуючи інші схеми дозування, наприклад, схему двохстадійного дозування, можна значно понизити погрішність дозування.
На мал.9.3 приведена схема безперервного вагового дозування рідких продуктів (шламу, суспензії) і порошкоподібних матеріалів (цементу, сировинної муки, прес-пороша, пил і ін) в незалежності від їх в'язкості і густини з використанням живлячого диска з лопатями [2].
















