144567 (598813), страница 10
Текст из файла (страница 10)
(9.14)
де ρм - густина безпористого матеріалу виробу; VИ - об'їм вироби; ПІ - пористість виробу; K1 - коефіцієнт, що враховує втрати формувальної суміші при пресуванні, К1 = 1,005-1,01; К2 - коефіцієнт, що враховує втрати маси виробу (напівфабрикату) при термічній обробці, К2= 1,01-1,03; Fnф - площа прес-форми; hсм - товщина суміші в прес-формі (глибина, висота засипки прес-форми); ρ3 - густина засипки.
Висоту (товщину) формувальної суміші в прес-формі при заданих параметрах готового виробу і густини засипки можна розрахувати по формулі
(9.15)
де hПP - висота пресування (напівфабрикату); ρПР - густина пресування (напівфабрикату).
В окремих випадках використовується коефіцієнт засипки (К3), визначуваний по формулі [15, 24, 79]
(9.16)
Якщо задані параметри пресування, розміри готового виробу і їх відхилення, то можна розрахувати висоту пресування (напівфабрикату) і висоту засипки прес-форми перед пресуванням.
Відносні погрішності засипки, що допускаються, можуть бути визначені по формулах
(9.17)
(9.18)
(9.19)
Недоліком приведених аналітичних виразів є чисто теоретичне уявлення про процес засипки без урахування фізико-механічних і технологічних властивостей формувальних сумішей, тривалості засипки, конструкції і параметрів засипних пристроїв.
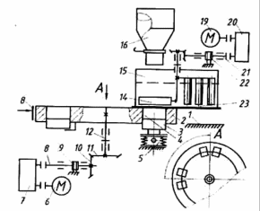
Для вивчення процесу засипки прес-форм формувальною сумішшю в МГСУ розроблений лабораторний стенд (мал.9.6).
Стенд включає раму, на якій встановлений змінний поворотний стіл із знімними прес-формами, що мають регульовані по висоті днища і що спираються в процесі засипки на вібраційне струшуюче пристрій. Над столом змонтований приймально-витратний бункер, засипний пристрій із змінними робочими органами і привід. В знімному днищі засипного пристрою є засипні вікна і калібрувальний отвір, який використовується при випробуваннях гравітаційного закінчення суміші (маси).
Змінні столи з прес-формами і різні робочі органи засипного пристрою, а також регульовані за об'ємом прес-форми дозволяють розширити лабораторні випробування при вивченні процесу засипки прес-форм [24, 79].
Останніми роками при вивченні процесу засипки прес-форм широко використовується кібернетичний підхід. Математичною моделлю служить функція відгуку, що зв'язує параметри оптимізації із змінними параметрами, які варіюються в ході експериментальних досліджень [15].
Мал.9.6. Стенд для випробування засипки прес-форм: 1 - рама; 2 - поворотний стіл; 3 - прес-форма; 4 - днище; 5 - вібраційний пристрій; 6 - електродвигун приводу поворотного столу; 7,20 - редуктор; 8, 21 - приводной вал; 9, 22 - кільцевий токосъемник; 10, 11 - зубчатая передача; 12, 17 - вертикальний вал; 13 - гальмо; 14 - наповнювальний орган; 15 - засипний пристрій; 16 - приймально-витратний бункер; 18 - конічна передача; 19 - електродвигун засипного пристрою; 23 - засипне вікно.
Наприклад, вивчався вплив тривалості засипки прес-форм формувальною сумішшю і кількості порожниностворювачів на показники засипки. Як показали експериментальні дослідження (мал.9.7), збільшення тривалості засипки прес-форм сумішшю більше 3 с практично не приводить до помітного зростання густини засипки. Це відповідає максимальній тривалості циклу пресування (4 с). Залежність має лінійний характер і виявляється при будь-якій кількості пустоутворювачів в прес-формі.
Наявність пустоутворювачів в прес-формі знижує густину засипки. Залежність має нелінійний характер і виявляється однаково при різній тривалості засипки. Очевидно, що істотну роль тут грають вогкість і модуль крупної суміші. Тому для підвищення густини засипки рекомендується застосовувати або примусову подачу суміші в прес-форму, або активізувати роботу засипного пристрою шляхом дії робочого органу на формувальну суміш [15, 24, 79].
Мал.9.7. Графіки залежності густини засипки від тривалості заповнення прес-форм сумішшю і кількості пустоутворювачів в прес-формі.
Мал.9.8. Графіки залежності коефіцієнта рівноплотности від висоти (глибини) засипки непарних і парних прес-форм.
Емпірична залежність густини засипки (ρз) від тривалості (t), кількості пустоутворювачів (ZП) і вогкості суміші (Wсм) можуть бути представлені у вигляді наступних рівнянь регресій:
(9.20)
(9.21)
Поліноміальна модель має вигляд:
(9.23)
де
- модуль крупної суміші; П - порожнистість.
З рівняння (9.22) виходить, що збільшення модуля крупної (Мкр) і вогкості (Wсм) суміші, а також кількості пустоутворювачів (ZП) знижують густину засипки прес-форм.
Якість засипки декількох прес-форм одночасно може бути оцінене коефіцієнтом рівноплотности (Кр3), рівним відношенню, наприклад, густина засипки непарної прес-форми до густини засипки парної прес-форми (Кр3 = рзн/рзч).
Чим вище за значення коефіцієнта рівноплотності, тим менше різниця густини засипки кожної з прес-форм і тим менше розкид міцності виробів. З метою визначення значень висоти засипки кожної з прес-форм, відповідних коефіцієнту рівноплотності, рівному одиниці (Кр3 = 1), методом планування експерименту другого порядку було одержано наступне рівняння регресії
де X1 і Х2 - відповідно, висота засипки непарної і парної прес-форми.
Після канонічного перетворення рівняння (9.23) і побудови контурних кривих (табл.9.3) можна вибирати значення висоти засипки прес-форм, при яких досягається равноплотная засипка (Кр3 = 1).
Таблиця 9.3
Результати розрахунку для побудови контурних кривих поверхні відгуку Кр3.
| Кρ3 | Кρ3 - Кρ3S | Напівосі | Канонічне рівняння | |
| а | b | |||
| 0,970 | 0,660 | 0,6040 | 0,6638 |
|
| 0,980 | 0,0166 | 0,958 | 1,055 |
|
| 0,990 | 0,0266 | 1,210 | 1,330 |
|
| 1,000 | 0,0366 | 1,425 | 1,565 |
|
| 1,010 | 0,0466 | 1.605 | 1,765 |
|
На мал.9.9 показана поверхня відгуку коефіцієнта рівноплотності КРз.
Мал.9.9. Поверхня відгуку в задачі оптимізації рівноплотної засипки прес-форм
Експериментальні дослідження [24, 79] показали, що найбільші значення густини засипки спостерігаються в нижніх і потім верхніх шарах по висоті прес-форми. В середній частині прес-форми густина засипки мінімальна. Різниця в густині засипки досягає 16% (мал.9.10).
Утворення мінімальної густини засипки в середині висоти прес-форми пояснюється зменшенням впливу швидкості частинок і сил підпресування за рахунок загального опору.
Рис.9.10. Схеми позначень шарів (а), об'ємів (б) і хвилі ущільнення (в) формувальної суміші в прес-формі при засипці
Якісні показники засипки прес-форм приведені в табл.9.4.
Істотна нерівномірність засипки спостерігається і за об'ємом прес-форми. З найбільшою густиною заповнюються умовні відсіки прес-форми 4, 5 і 6. Відсіки 1, 2 і 3 на 10% заповнюються сумішшю гірше за перші. Пояснюється це орієнтуванням прес-форм, наприклад, в поворотному столі преса і їх переміщенням щодо засипного пристрою (прес-мішалки), тобто напрямом повороту столу преса.
В загальному випадку аналітичний зв'язок між ефективністю засипки і параметрами пресування може бути представлена в наступному вигляді
(9.24)
де ρПР - густина пресування (напівфабрикату); ρз - густина засипки прес-форм; ρ'ПР - густина пресування від дії пресуючого механізму (питомого зусилля пресування).
Таблиця 9.4
Якісні показники засипки
| Номер слоя, объема | Показники засипки | |||||
| ρ3*103 кг/м3 | Rpс,% | Δρ3,% | ρ3*103 кг/м3 | Rpс,% | Δρ3,% | |
| по слоям (1-5) | по об’ємам (1-6) | |||||
| 1 2 3 | 1,01 0,87 0,86 | 16,3 | 16,0 | 0,90 0,82 0,82 | 16,9 | 10,2 |
| 4 5 6 | 0,89 0,99 | 16,3 | 16,0 | 0,94 0,93 0,97 | 16,9 | 10,2 |
Практично зв'язок значно складніше і залежить від великого числа чинників.
Теоретичні основи і експериментальні дослідження процесу засипки прес-форм при напівсухому пресуванні є основою для вибору типу, конструктивно-технологічних і енергетичних параметрів і методики розрахунку і проектування засипних пристроїв при виробництві стінних будівельних матеріалів (цеглини, каменя, плит, плиток і ін.).
Розділ 4. Грануляція
4.1. Загальні відомості
Грануляція - одна з обширних груп агломераційних процесів, включаюча такі з них, при яких з порошкоподібних матеріалів унаслідок добавки рідкої зв'язки в процесі обертального руху суміші утворюються гранули.
Іншими словами, грануляція - це агломерація порошків шляхом обливання. В ПСМ грануляцію знайшло вживання при підготовці скляних і портландцементних сировинних шихт, виробництві легких заповнювачів, переробці фосфогіпсу і ін.
Мал.10.1. Схема перекочування гранули через дрібне зерно матеріалу.
Порівняно малоенергоємний спосіб обливання забезпечує передачу на порошок значних зусиль. У момент перекочування гранули радіусом R (мал.10.1) через дрібне зерно п виникає поштовх, направлений до центру гранули. Якщо прийняти швидкість поступального руху гранули Якщо прийняти швидкість поступального руху гранули
, кутову швидкість ω, то відповідно до мал.10.1, а =
t = kωt = Rtga.
Початкова швидкість перекочування
пер, виникаюча при зустрічі із зерном, рівна
(10.1)
















