125516 (598621), страница 8
Текст из файла (страница 8)
Використана література
-
М.Михеев, И.Михеева. Краткий курс теплопередач и, 1961.
-
А. Баскаров й др. Общая теплотехника, 1963.
-
Н.Кираковский, М.Недужий. Лабораторний практикум по курсу общей теплотехники, 1966.
-
Є.Міговк та В.Єресько, Лабораторні роботи з загальної теплотехніки, 1960.
Міністерство освіти України
Тернопільський державний технічний університет імені Івана Пулюя
Кафедра обладнання харчових технологій
Методичні вказівки
до лабораторної роботи № З
«Тепловіддача горизонтальної труби при вільному русі повітря».
Тернопіль 2003
У даних методичних вказівках подані теоретичні основи, опис експернментальної установки і практичні рекомендації лля проведення лабораторної роботи і обробки дослідних даних
Мета роботи - засвоїти знання з теорії" конвсктивнот теплообміну при вільному русі цілини (вільній конвекції), ознайомитись з метопи кою експериментального дослідження середньої характери стики процесу: іасвоіти поняття: чільна конвекція, тепловнР потік, густина теплового потоку, коефіцієнт тепловіддачі, температурний палір, теплофізичні властивості рідин.
Завдання
1. У процесі виконання експерименту визначити середні коефіцієнти тепловіддачі при вільному русі повітря біля горизонтальної трубн в залежності від температурного напору, стінка туби - навколишнє повітря.
2 Розрахував повну похибку експериментального визначення косфіціїнта тепловіддачі в даній лабораторній роботі.
3. Визначити коефіцієнт тепловіддачі за загальним критеріальнич рівнянням для учов експерименту і порівняти одержані значення з дослідними на графіку.
4 На основі виконаної роботи скласти звіт, що містить протокол спостережень, схему експериментальної установки, результати розрахунку з дослідних даних і з критсріальнОї залежності, розрахунок похибки.
До виконання роботи необхіднії приступати після поглибленого ознайомлення з літературою по темі /1-4/
Основні теоретичні відомості.
При розв'язанні техтчннх задач (наприклад, розрахунку теплових втрат трубопроводів, охолодження або нагрівання різних виробі н нрч металообробці, розрахунку тепло- і електрйОналювальних пристроїв тощо) часто епостер і гається теплообмін чіж твердич тілом і рухомою рідиною, який називається конвектнвним теплообміном, тепловіддачею аоо конвекцією
Характерною особливістю процесу є тісний зв'яюк теплообміну з рухом рідин Відрізняють вільний і вимушений рух рідини, а залежно від цього - вільну і вимушену конвекцію.
Вільним називається рух рідини під дією неоднорідного поля масових сил, ітрикладеннх до її частинок Масові сили можуть бути викликані зовнішніми іншими1 гравітаційним, магнітним, електричним. Вільний рух у гравітаційному полі виникає під дією різниці густин в різних точках простору, яка викликана різницею температур твердого тіла і навколишнього середовища Теплообмін, цю виникає при цьочуч називається тепловіддачею при вільній, конаекшї
У випадку нагрітої труби, розміщеної в повітрі, найближчі тари повітря ш.інхом теплопровідності нагріваються При цьому густина іїпго іченшугться і виникає внштовхувальна сила, під дією якої нагріте повітря підпічаггься. а йою місце гаймаг більш холодне. Якую ізометричні розміри, які характсриіуюіь об'см нонігря, достатньо великі, то взаємодія висхідних потоків нагрітого повітря і більш холодного, яке витісняє нагріте, практично відсутня. Іншими словами, розміри простору, які зайчає повітря, не впливають на інтенсивність теплообміну, який у цьому випадку називається вмілою конвекцією. Процес тепловіддачі оиіиюггься коефіцієнтом тепловіддачі. Вт/м2К.
(1)
де а – коуфіцієнт тепловіддачі: представляє собою кількість теплоти, яку приймає обо віддає одиниця поверхні тіла при температурному напорі 1 К
де Qк – тепловий потік, який передається нагрітим поверхням шляхом конвенції, Вт
F – площа поверхні тіла м2
tc і tр - температура відповідно поверхні стінкн і рідини (в даному випадку навколишнього повітря), 0С
За формулою (1) визначають локальні значення а , якщо необхідно дослідити тепловіддачу в стаціонарних умовах на всій поверхні
(2)
Важливо зазначити, що коефіцієнт тепловіддачі не являється фізичною характеристикою, тобто, одержавши в ході ексиернченту яке-небудь значення а, не можна стверджувати, що відоме значення кпсфіпігнтії тепловіддачі повітря.
Інтенсивність тепловіддачі при вільному русі у великому об'ємі буде залежати від швидкості руху рідини (остання буж тич більша, чим більший температур ний напір між стінкою і напколмігшім середовищем), фізичних властивостей середовища, форчн і положеній тіла в просторі і ряду інших факторів Залежно відзначення і співвідношення величин, характеру руху рілннн біля стінки буде різним при малому температурному напорі переважає ламінарний режим рух), при великому - турбулентний Відповідно до цього і змінюється тепловіддача
У даній робим необхідно встановити вплив температурного напору на інтенсивність тепловіддачі.
Інструментом для цього може служити теорія подібності, яка дозволяє узагальнити розрізнені експериментальні дані у вигляді крнтерійльннх рівпнпь Для галів і крапельних рідин при Рг > 0,7 узагальнена критеріальна формула для розрахунку теплообміну при вільній конвекції у великому об'ємі мас вигляд
Nu=c(Gr,Pr)n (3)
де Nu - критерій Hуссeльта або критерій тепловіддачі, який характеризує інітенсивність в пограничночу шарі
(4)
де l0 - визначальний розмір поверхні (для горизонтальної труби діаметр), м:
λ - коефіцієнт теплопровідності рідини, Вт/ М Кч
Gr - критерій Грaсгофа, або критерій підіймальної сили. який харакгеризує кінематичну подібність явищ при вільному русі рідини.
Критерій Грасгофа визначається за формулою:
(5)
де g = 9,81 м/с - прискорення вільного падіння;
v - кінематична в'язкість рідини м/с;
β-коефіцыэнт об'ємного розширення рідини, 0С
∆t - різниця температур між стінкою труби і повітрям;
Рг - критерій Прандтля. який характеризує фізичні властивості рідини.
(6)
де а - коефіцієнт температуропровідності. м2/с.
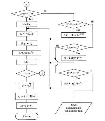
Для визначення констант с і п при вільній: конвекції біля горизонтальної труби використовується табл. 1
Таблиця 1
| №п/п | Режими руху | Сг-Рr | с |
| 1 | Плівковий | <10-5 | 0.4 |
| 2 | Перехідний | 10-5.. 5 10-5 | 1,18 |
| 3 | Ламінарний | 5 10-5.. 109 | 0.54 |
| 4 | Турбулентний | 109.. 1012 | 0.13 |
У залежності (3) в якості визначального розміру для тіл обертання використовується діаметр (l0 = d), а в якості визначальної температури - середня температура пограничного шару
(7)
за якою в довідникових таблицях знаходнгь значення фізичних параметрів середовища; а,v,λ,β
Для повітря коефіцієнт об'ємного розширення знаходять за формулою ідеального газу, 1/К:
(8)
де: Тm - визначальна температура. К
Тm = tm.+273,15.
Опис експериментальної установки
Експериментальна установки (рис, 1) служить для визначення коефіцієнта тепловіддачі від горизонтальної труби до навколишнього повітря при нагріві поверхні трубн від 30 до 125 0С. Вона повинна бути розміщена в кімнаті з достатньо спйкою температурою навколишнього повітря.
Основний елемент установки - горизонтальна труба, в якості якої використаний трубчаттий електронагрівач (ТЕН), довжиною 995 мм і зовнішнього діаметра D = 14 мм. Теплоізоляцій ТЕНа на торцях забезпечується фарфоровими пробками, за допомогою яких він закріплюється на вертикальних стійках. Електроживлення ТЕНа здійснюється провідинками, розміщених в отворах стійок. Кількість виділеної і розсіяної в навколишній простір теплоти визначається за витратами електроенергію яку спожинає ТЕН Потужність, яку спожива ТЕН, регулюється лабораторним автотрансформатором і вимірюється ваттметром 5Д500Д4 класу 0,5.
Для зменшення променевої складової розсіюваної теплової" потужності поверхня ТЕНа покрита шаром нікелю. в результаті чого середня степінь чорноти по нормалі до поверхні складав не більше 0,015
Рис. 2. Встановлення термопар на поверхні труби.
Температура зовнішньої стінки ТЕНа вимірюється за допомогою шести хромельалючепєвих термопар, розташованих рівномірно по довжині і по кільшо труби (термопари стандартної градуіровки з чутливістю 41 мкВ/К і граничною допустимою похибкою не більше 0,16 мВ за ГОСТ 3044-74)
Термоелектрони діаметром 0,2 мм ізольовакі кремнеземною ниткою. Схема установки термопар на ТЕН показана нарис 2.
Технічні дані установки
Установка забезпечує низначения в ході виконання експерименту в діапазоні температур ∆t= 30...120 0С і повною похибкою не більше 0,6 Вт/м2-К або 7% (достовірна імовірність Р = 0.68) При цьому вмазаному діапазоні ∆t середньоквадратнчне відхилення дослідних даних вкл розрахованих за критеріальними залежностями складає 5-8%.
Значення всіх величин необхідно заміри і н в стаціонарному тепловому режиме Максимальний час виходу установки на стаціонарний режим після включення не більший 75 хв. Час стабілізації теплового режиму працюючої установці після підвищення температури стінки труби не більший 25 хв
Максимально допустима температура поверхні дослідної труби 330 0С(30 Вт навантаження на ТЕН).
Зміна потужності ТЕНа при коливанні напруги в системі не більше 0,2. 0,4 Вт. Максимальна різниця температур між показнчкани термопар по поверхні труби 10.. 15 0С
Максимально допустимий час заміру (індикації) температури в окремій точці труби А565-2С
Променева складова розсіюваної потужності при значенні температури поверхні труби 40.,. 120 "С-нс більше 4%.
Методика досліджень
Після ознайомлення з експериментальною установчою включають тумблер живлення, після чого засвічується сигнальна лампочка і табло цифрової індикани мілівольтметра (див рис П
У процесі виконання лабораторної роботи необхідно одержати значення для 3-4 теплових режимів Тепловий режим задасться електричною потужністю ТЕНа за допомогою ЛАТРа і ватметра.
Навантаження на ТЕН для кожного теплового режиму вибирають довільно в діапазоні 5...25 Вт. Про перебільшення навантаження наТЕНа (більше 30 Вт) сигналізує світлове табло 13.
Всі заміри проводяться при строго встановленому в часі тепловому стані ТЕНа (стаціонарний режим) Тому після надання наступного навантаження на ТЕН необхідно постійно записувати покази термопар Т1...Т6.
Через деякий час теплові трати конвекцією і випромінюванням вш поверхні ТЄЕіа в навколишній простір досягнуть постійних значень Цей стан фіксується а часі за незмінними показами термопар ТІ-Т6 3 участю викладача студент робить висновок про настання стацюнарното теплового режиму Далі проводять три-чотири серії вимірювань електричної навантаження на ТЕН, температуру стінки труби з температурами Т1-Т6 і середньої температури навколишнього середовища
Одержані покази приладів заносять в табл. З, після цьою установку переводять на повий тепловий режим і вимірювання повторюють у відповідності з викладеною методикою.
У процесі виконання лабораторію і роботи необхідно з'ясувати всі складові для розрахунку повної похибки при визначенні дослідного коефіцієнта тепловіддачі
В процесі досліду необхідно уникати різких рухів біля труби.
Обробка результатів експерименту
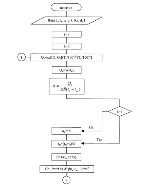
Тепловий потік, який передається три юігшлі.пою трубою шляхом конвекції становить, Вт
Qk=Q-Qn (9)
де Q-сумарний тепловий потік який передається в зовнішнє середовище шляхом конвенції і випромінювання, визначається за потужністю W нагрівача:
Q=W
Qn - променистий тепловий потік, який передасться трубі шляхом Вт:
(10)
де С0=5.67 Вт/м2К4 – коефіцієнт випромінювання абсолютно чорного тіла;
εп= ε01,2 – степінь чорноти поверхні із врахуванням напівсферичним випромінюванням;
ε0=0,045 – степінь чорноти по нормалі до поверхні випромінювання (εп=0,054);
F=πdl – площа поверхні труби, м2;
Тс і Тр – абсолютні температури дослідної труби і навколишнього повітря.
Середня температура стінки. 0С (К);
де: tci, - середня температура стінки в одній серії замірів
(11)
де tTі- покази термопар Т1-Т6 в одній серії замірів;
п - кількість замірів температур стінки в одному стаціонарному режимі (ножна обмежитися трьома-чотирма замірами).
Аналогічно середня температура навколишнього повітря, 0С.
де tp1, - покази термометра
Одержані значення tc і tр заносять, в табл. 2 і далі розраховують значення необхідних величин.
Коефіцієнт тепловіддачі визначають за рівнянням (2). Результати дослідів представляють у вигляді графіка залежності.
α=f(∆t) (12)
яка є строго справедлива лише для даної дослідної труби. Тому необхідно співставити результати дослідів з αр, одержаними з розрахунку за формулою (3).
Розрахунок коефіцієнт тепловіддачі αр проводить для дослідних значень tc, tр, tж.
Постійні с і п вибирають з табл. 1. а необхідні фізичні властивості сухого повітрі (Р=1,01∙105)- із табл.2
| Параметри | розмірність | Температура, 0С | |||||||||
| 0 | 10 | 20 | 30 | 40 | 50 | 60 | 70 | 80 | 90 | ||
| λ∙102 | Вг/мК | 2,44 | 2,51 | 2,59 | 5,67 | 5,76 | 2,83 | 5,90 | 2,26 | 3,05 | 3,13 |
| v∙106 | м2/с | 13,28 | 14,16 | 15,06 | 16,00 | 16,96 | 17,95 | 18,97 | 20,02 | 21,09 | 22,10 |
| Рг | - | 0,707 | 0,705 | 0,703 | 0,701 | 0,698 | 0,696 | 0,696 | 0,694 | 0,692 | 0,690 |
Результати розрахунку представляють у вигляді плавної кривої за формулою (12).
По відповідності експериментальних точок і розрахункової кривої можна судити про надійність одержанії результатів. Для цього розраховують середньоквадратичне відхилення дослідних від а по ар залежності
;
де.п0 - кількість дослідів для визначення а,
ар-коефіцієнт тепловіддачі з першого чосліду
Необхідні розрахунки зручно провести за допомогою ЕОМ. На рис.З наведена блок-схема і далі програма розрахунку а, ар γ і γ0 мовою Паскаль ча прикладі використання „ІВМ" сумісних ЕОМ.
При роботі на ЕОМ з іншими термінальними пристроями й іншими алгоритмічними мовами представлена програма майже не змпіняться
Окречі фрагменти розрахунків можна проиоднти на мікрежалькулчюрі.
1- тумблер живлення;
- сигнальна лампа;
- ЛАТР;
- ланцюг електричного реле для світлових табло:
- ваттметр;
- стійка;
- мінівольтметр;
З - спіраль нагрівана;
9 - реле;
10 - ТЕН (термоелектричний нагрівач);
11 - гарячі спаї термопар;
12-13 - світлові табло;
14 - термометр.
Зміст звіту
Мета роботи.
Принципова схемя установки.
Протокол запису показів вимірювань.
Обробка результатів експерименту.
Графіки залежності тепловіддачі від температурного напору.
Порівняння коефіцієнта тепловіддачі а, одержаного у процесі експерименту, з аналогічними, представленими в 1-3.
Розрахунок похибкиа
Контрольні питання,
Дати визначення вільної конвекції,
Назвати основні фактори, що впливають на вільну конвекцію. їх вплив на інтенсивність тепловіддачі,
Назвати основні режими руху рідини при вільній конвекції у великому об'ємі
Охарактеризувати розподілення швидкостей і температур в пограничночу шарі при вільному русі у великому об'ємі.
Які величини погрібно вимірювати при експериментальному визначенні коефіцієнта тепловіддачі.
Назвати методи вимірювання температури і теплових потоків, які використовуються при виконанні експериментальної часі мни даної роботи.
За якої умови можливе вивчений явищ теплообміну при вільній конвекції на моделях без збереження геометричної подібності.
Записати рівняння Нютона-Ріхмана.
Фізичний зміст коефіцієнгу тепловіддачі.
Критерії і критеріальні рівняння вільної і вимушеної конвекції.
Методика експериментального і розрахункового визначення коефіцієнту тепловіддачі.
Основні положення теорії подібності явищ.
Теореми подібності.
Список літератури
-
Исаченко В. П. и др. "Теплопередача. 3-4-е изд, -М.: Энергия, 1975-1933 - 4К8 с
-
КреитФ. Блск У. Основи теплопередач к/ Пер. с англ. -М.: Мир, 1983. - 512 с.
-
НедужниЙ Й. А , Анабопский А. Н Техннческая термодннамнка й теплопередача. Уч. нособиедля ву-іов. - 2-е изд. - К.: Виша школа. 1981. - 248 є.
-
Инженерные методы расчета погрешностей при виполнепии лабораторних работ по курсах “Теплообмен” й “Техннческая термодинамика”. Мстоднчссклс указаний /Сост. В. її. Босий, Г, Н, Васильченко, Р,. Н. Панов. -Киев: КПИ, 1985, - 71 с.
Похибка експериментального визначення коефіцієнта тепловіддачі
Відносна і повна похибка визначення коефіцієнта тепловіддачі.
де
- повна абсолютна похибка визначення коефіцієнта тепловіддачі, яка містить дослідне експериментальну похибку
.винадкову
, і похибку відношення
де
- середнє значення коефщюіта тепловіддачі для першого теплового режиму
У свою чергу
залежить від точності визначений конвективного потоку
,температури стінки
, температури рідинн
- геометричних розмірів
,
,числа π- δ(π) , і поправок
.
Випадкова похибка
де під знаком радикалу сума квадратів випадкових відніксних похибок вимірювання відповідних величин, кожна з яких вираховується як середньоквадратична похибка вимірювання даної величніш. Кінцева кількість вимірів враховується коефіцієнтом Стьюдента.
Похибка відношення залежить від точки визначення різниці температур і вигляду
Приклад розрахунку повної похибки для даній лабораторної роботи приведені в метоличних вказівках «Инженерлные методи расчета погрешностей при выполнении лабораторных работ по «Тепломассобмен» и «Техническая термодинамика»
Лабораторна робота №8
Дослідження процесів вологого повітря
Мета роботи: вивчити методику визначення параметрів вологого повітря за допомогою Hd- діаграми; зобразити процеси нагріву, зволоження й охолодження повітря на Hd- діаграмі; вивчити методику розрахунку витрат повітря й теплоти на випаровування 1 кг вологи.
Основні теоретичні відомості
Вологе повітря – це механічна суміш сухого повітря ( µс.п = 29 кг/кмоль, R с.п = 287 Дж/(кг·К)) і водяної пари ( µп = 18 кг/кмоль, Rп = 461,5 Дж/кг ).
У харчовій промисловості вологе повітря широко використовується як сушильний агент при виробництві макарон, сухарів, печива, цукру, кухонної солі, сухофруктів і фруктових порошків, солоду, сухого молока та інших продуктів.
Процеси сушіння, кондиціонування, вентиляції зазвичай проходять при барометричному тиску, який згідно з законом Дальтона дорівнює сумі парціальних тисків сухого повітря й водяної пари: Рδ = Р с.п + Рп .
У більшості випадків барометричний тиск приймають рівним 99,3 кПа. Це відповідає середньорічному тиску для України. Для цього тиску й побудована Hd – діаграма стану вологого повітря. Указаному тиску відповідає температура насичення 99,45 ºС. Якщо температура вологого повітря нижча за 99,45 ºС, то максимальна можлива кількість водяної пари в ньому дорівнює густині сухої насиченої пари при цій температурі.
Повітря, в якому густина пари рівна максимально можливій при даній температурі називається насиченим ρ = ρmax = ρн, повітря в якому ρп < ρн - ненасиченим ( Рп < Рн), а повітря , в якому ρп > ρн - перенасиченим.
При парціальному тиску пари Рп < 10 кПа з похибкою до 0,1%, водяну пару можна вважати ідеальним газом. Знаючи температуру вологого повітря, тиск насиченої пари Рн можна визначити за таблицею теплофізичних властивостей насиченої водяної пари.
Основні параметри вологого повітря
Абсолютна вологість повітря – це маса водяної пари в кілограмах у 1 м3 вологого повітря, тобто густина водяної пари при заданих тиску Рп і температурі повітря t :
ρп = mп / V = Pп / (Rп T). / 2.1 /
де Rп – питома газова стала, Дж/(кгК);
Т – температура, К.
Відносна вологість повітря – це відношення абсолютної вологості в даному стані до максимально можливої абсолютної вологості насиченого повітря при одинаковій температурі :
φ = 100 ρп / ρн = 100 Рп / Рн . / 2.2 /
Для сухого повітря φ = 0 , а для насиченого φ = 100%.
Вологовміст повітря – це маса водяної пари в грамах, що припадає на 1 кг сухого повітря:
d =103 mп /mс.п = 103 Pп µп / ( Pс.п µс.п) = 622 Pп / ( Pб – Pп ). / 2.3 /
де µп, µс.п – відповідно молекулярна маса сухого повітря і водяної пари.
В процесі нагрівання повітря вологовміст d і парціальний тиск Рп не змінюються, тиск насичення Рн збільшується, відносна вологість φ зменшується й зростає здатність повітря поглинати вологу, яка пропорційна dн - d.
Ентальпія вологого повітря дорівнює сумі ентальпій сухого повітря й водяної пари:
H = hc.п + 0,001d hп = ср.с.п. t + 0,001d ( rо+ ср.п.t) , / 2.4 /
де ср.с.п., ср.п. –середня ізобарна теплоємність відповідно сухого повітря і водяної пари; Ср.с.п. =1,006 кДж/(кг·К), Ср.п. =1,92 кДж/(кг·К); r0 =2500 кДж/кг – питома теплота пароутворення води при температурі 0 ºС;
Ентальпія вологого повітря розраховується на 1 кг сухого повітря , тобто на /1+d/ кг вологого повітря. Тому її позначають не малою, а великою літерою H.
10>















