123010 (598561)
Текст из файла
Министерство образования и науки РФ
Иркутский государственный технический университет
Гидромеханические процессы химической и пищевой технологии
Методические указания по лабораторным работам
по курсам « Процессы и аппараты химической технологии» и
«Процессы и аппараты пищевых производств»
Иркутск 2004г.
Определение гидравлических сопротивлений
трубопровода и арматуры
Цель работы: Экспериментально определить гидравлическое сопротивление контрольных участков трубопровода и арматуры. Сопоставить справочные и экспериментальные значения коэффициентов трения и местных сопротивлений.
Основные определения и теория процесса
Трубопроводная сеть включает в себя прямые участки труб и местные сопротивления, в которых поток жидкости (газа) изменяет свою скорость по величине и направлению. К местным сопротивлениям относятся вентили, краны, задвижки, диафрагмы, повороты труб, внезапные и плавные расширения или сужения и т.д.
При движении среды по трубопроводной сети, вследствие вихреобразования и трения, энергия давления переходит в другие ее виды, в результате чего давление по длине сети падает. Если выбрать участок трубопровода и измерить давление на его границах, то разность измеренных величин будет потерей давления или гидравлическим сопротивлением данного участка.
Гидравлическое сопротивление прямого участка сети без местных сопротивлений рассчитывается по формуле:
(1)
где ΔРтр – потеря давления на трение в прямой трубе, Па;
l – длина трубы, м;
d – внутренний диаметр трубы, м;
ρ – плотность жидкости, кг/м3;
w – скорость потока, м/с.
Коэффициент трения λ является безразмерной величиной и зависит от режима движения жидкости. Формулы для его расчета приведены в [1].
Потеря давления на трение в змеевике ΔРзм больше, чем в прямой трубе ΔРтр:
ΔРзм = ΔРтр ·ψ (2)
Безразмерный поправочный коэффициент ψ>1 вычисляют по формуле:
Ψ = 1+ 3,54
где d – внутренний диаметр трубы, м;
D – диаметр витка змеевика, м.
Потеря давления в местных сопротивлениях рассчитывается по формуле:
(3)
Коэффициенты местного сопротивления
зависят от вида сопротивления и берутся из справочных таблиц [1].
Описание установки
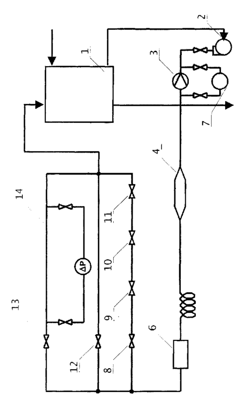
Вода из напорного бака 1 с помощью центробежного насоса 2 подается через систему различных гидравлических сопротивлений и поступает обратно в бак. Бак установлен выше насоса и питается от общего коллектора холодной воды. Поступив в первую линию, поток проходит сначала диафрагму 3, затем плавное расширение и плавное сужение 4. Далее поступает в четырехвинтовой горизонтально расположенный змеевик 5 диаметром 480мм. Затем проходит внезапное расширение и внезапное сужение потока 6. Диаметр основных труб составляет 55х2,5 мм. Диаметр большой трубы – 100х2,5 мм.
На разветвлении потока установлен коллектор, из которого жидкость с помощью задвижек 8, 12, 13 может быть направлена по второй, третьей или четвертой линии. На второй линии установлены дополнительно кран 9 и вентили 10, 11. На четвертой линии имеется прямой участок трубы 14 длиной 5м, предназначенный для исследования сопротивления трения. Запорная арматура имеет условный проход 50 мм.
Изменение скорости движения жидкости в трубопроводе достигается регулировкой расхода с помощью вентиля на линии нагнетания насоса. Расход воды измеряется диафрагмой 3, по показаниям дифференциального манометра 7. Потери давления при прохождении потока по прямому участку трубы, а также через арматуру, сужения и расширения измеряются тем же дифманометром, который работает в комплекте со вторичным прибором.
Порядок выполнения работы
-
Заполнить напорный бак водой.
-
Открыть вентили на всасывающем и нагнетательном трубопроводе центробежного насоса.
-
Закрыть задвижки 8, 12 и открыть задвижку 13.
-
Включить центробежный насос.
-
Измерить перепад давления на диафрагме 3 и определить расход воды по графику.
-
Измерить поочередно перепады давления на плавном расширении 4, змеевике 5, резком расширении 6, прямом участке 14. Результаты измерений занести в таблицу.
Рисунок 1- Схема Установки
2- центробежный насос
3- диафрагма
4- плавное расширение
5- змеевик
6- внезапное расширение
7- вентили нормальные
-
Закрыть задвижку 13 и открыть задвижку 8 и выполнить замеры перепада давления на кране 9 и вентилях 10, 11. Результаты измерений занести в таблицу 1.
-
Далее с помощью вентиля на нагнетательном трубопроводе изменяют расход воды и выполняют все измерения для второго опыта.
Таблица 1 - Измеренные величины
| Наименование величин | Обозначение | Размерность | Значение |
| Расход воды по диафрагме | V | м3/с | |
Потери давления
| ΔРтр. ΔРпл.р. ΔРзм. ΔРр.р. ΔРр.с. ΔРкр. ΔРвн ΔРд. | Па Па Па Па Па Па Па Па |
Обработка результатов измерения и содержание отчета
-
На основе перепада давления на диафрагме по градуировочному графику определяют расход воды V, м3/с.
-
По уравнению расхода V = w · S рассчитывают скорость потока на контрольных участках трубопроводной сети (для случаев сужения и расширения расчетную скорость находят по наименьшему сечению трубопровода).
-
Определяют число Рейнольдса
Re
-
Исходя из опытных значений потери давления на различных участках трубопровода с помощью уравнений (1) и (2) рассчитывают экспериментальные значения λ и
для обоих опытов и полученные результаты заносят в таблицу 2. Для рассматриваемого змеевика ламинарный режим при Re ≤ 9000 [1]. -
По графику или соответствующему уравнению устанавливают величину λ при шероховатости трубы е = 0,2 мм [1].
-
Находят величины
по данным таблиц в приложении [1]. Значения λ и
заносят в таблицу 2, в графу справочные данные. -
Сопоставляют справочные и экспериментальные значения коэффициентов трения и местных сопротивлений.
Отчет должен включать формулировку цели работы, схему установки, описание методики измерений и расчеты необходимых параметров.
Таблица 2 – Рассчитанные величины
| Наименование величин | Обозначение | Размерность | Значение | Справочные данные |
| Скорость потока | W | м/с | ||
| Число Рейнольдса | Re | |||
Коэффициент трения:
- змеевика | λ тр. λ зм. | |||
| Коэффициент местных сопротивлений:
|
|
ИЗУЧЕНИЕ ГИДРОДИНАМИКИ ТАРЕЛЬЧАТЫХ
И НАСАДОЧНЫХ КОЛОНН
Цель работы: Экспериментально определить гидравлическое сопротивление сухих и орошаемых контактных элементов – тарелок и насадок. Сопоставить измеренные величины с рассчитанными по эмпирическим зависимостям.
Основные определения и теория процесса
Тарельчатые и насадочные колонны являются широко распространенными аппаратами в химической и других смежных отраслях промышленности. В них осуществляется взаимодействие восходящих потоков газа или пара с жидкостью, стекающей по колонне вниз (абсорбция, ректификация).
Тарельчатые колонны работают в основном в барботажном режиме, когда пар или газ проходит через слой жидкости на тарелке в виде пузырей или струй.
Насадочные колонны работают в большинстве случаев как поверхностные аппараты, когда пар или газ взаимодействуют с жидкостью, стекающей в виде пленок по насадке.
Существует большое разнообразие контактных тарелок: колпачковые, ситчатые, клапанные, струйные и т.д. Их устройство и принцип работы описаны в [2].
Наиболее распространенной насадкой являются кольца Рашига, которые изготавливаются из керамики и металла. Кроме них используются также кольца Паля, спиральная насадка и др. [2].
Назначение тарелок и насадки в колонных аппаратах состоит в том, чтобы создать хороший контакт газа и жидкости и тем самым обеспечить эффективное протекание процессов тепло- и массообмена между взаимодействующими фазами.
Для того чтобы обеспечить перемещение газа через колонну, необходимо затратить мощность на преодоление гидравлических сопротивлений.
N = Δ P · V (1)
где Δ P – гидравлическое сопротивление колонны, Па;
V – объемный расход газа, м3/с.
Для колпачковых тарелок гидравлическое сопротивление рассчитывают как сумму трех составляющих:
Δ Pт = Δ Pсух. + Δ Pσ + Δ Pс.т. (2)
где Δ Pсух =
– сопротивление сухой тарелки, Па;
Δ Pσ =
– сопротивление связанное с преодолением сил
Характеристики
Тип файла документ
Документы такого типа открываются такими программами, как Microsoft Office Word на компьютерах Windows, Apple Pages на компьютерах Mac, Open Office - бесплатная альтернатива на различных платформах, в том числе Linux. Наиболее простым и современным решением будут Google документы, так как открываются онлайн без скачивания прямо в браузере на любой платформе. Существуют российские качественные аналоги, например от Яндекса.
Будьте внимательны на мобильных устройствах, так как там используются упрощённый функционал даже в официальном приложении от Microsoft, поэтому для просмотра скачивайте PDF-версию. А если нужно редактировать файл, то используйте оригинальный файл.
Файлы такого типа обычно разбиты на страницы, а текст может быть форматированным (жирный, курсив, выбор шрифта, таблицы и т.п.), а также в него можно добавлять изображения. Формат идеально подходит для рефератов, докладов и РПЗ курсовых проектов, которые необходимо распечатать. Кстати перед печатью также сохраняйте файл в PDF, так как принтер может начудить со шрифтами.
















