183499 (596673), страница 13
Текст из файла (страница 13)
Теперь попытаемся посмотреть прогноз на будущее при изменении тарифов (рисунок 4.15, 4.16) на услугу ISDN. На данный момент Pт.ср = 40
, что на протяжении нескольких пару лет остается неизменным.
Рисунок 4.15 – Изменение числа абонентов при изменении тарифов на услугу ISDN.
Рисунок 4.16 – Изменение прибыли при изменении тарифов на услугу ISDN.
Из графиков хорошо заметно, что при уменьшении тарифов всего на 20
резко возрастает число абонентов – это было бы хорошо, если бы так резко не падали доходы. Такая картина не выгодна для предприятия оказывающего данную услугу. Поэтому наверняка, оптимальной является картина, когда Pт.ср = 40
. Ограничения по изменению (увеличению) тарифов объясняются наличием контролирующих и регламентирующих мероприятий комитета по антимонопольной политике. Именно эта ситуация существует сейчас на рынке телекоммуникаций с тарифами на услугу ISDN, которую можно считать на несколько лет достаточно перспективной.
Появление гармонических колебаний можно объяснить еще и тем, что абоненты хотели бы прекратить получать данную услугу, но они просто не могут это сделать, так как в первую очередь, их держит договор, заключенный с предприятием на данную услугу, во-вторых, переход к подключению другого формата связан с потерей определенной суммы денег. Поэтому, если в определенный период мы замечаем по результатам моделирования намерения абонентов прекратить получать услугу, предприятию необходимо срочно начать осуществление мероприятий для удержания абонентов (льготные тарифы, дополнительный сервис) либо мероприятия для вывода на рынок новой услуги. Данный комплекс мероприятий и называется – грамотная маркетинговая политика предприятия.
По рисункам 4.15 и 4.16 можно построить зависимость изменения периода колебаний от изменения тарифов – рисунок 4.17.
Рисунок 4.17 – Зависимость изменения периода колебаний от изменения тарифов
Экономический смысл этой зависимости периода колебаний абонентской базы от изменения тарифной политики предприятия тоже вполне понятен: чем меньше тарифы – тем реже абоненты принимают решение прекратить пользование услугой, тем стабильнее абонентская сеть и меньше вероятность перехода клиента к оператору-конкуренту. В случае монопольной услуги и привязки абонента организационными моментами (договором или высокой ценой переключения линии, а значит - выхода из услуги), намерения абонентов не означают непременное сокращение абонентской базы. В случае же конкурентных услуг это обстоятельство может оказаться решающим как в планировании мероприятий по изменению тарифов, так и планировании маркетинговой политики.
Благодаря данной модели, на мой взгляд, было хорошо просмотрено влияние различных коэффициентов на кривую зависимости изменения числа абонентов и роста прибыли во времени, с начала оказания услуги ISDN. На этапе моделирования были рассмотрены изменения процентного соотношения внутренних затрат предприятия, режим экономии средств и перераспределения финансовых потоков, а также изменение тарифов на предприятии ОАО «Томсктелеком».
Но у данной модели на протяжении всей работы с ней наблюдается небольшой недостаток: у всех кривых есть период нарастания услуги и этап насыщения, но нет спада кривой. Это объясняется тем, что услуга ISDN монопольна и стадия насыщения будет продолжаться до тех пор, пока не появятся конкуренты в области электросвязи (альтернативный оператор, имеющий ТФОП), но этого скорей всего, в ближайшие несколько лет не произойдет.
4.3 Математическое моделирование конкурентной услуги ADSL
Первые подключения к портам широкополосного доступа ADSL произведены в апреле 2003 года. Этот период можно считать началом оказания услуги. Жизненный цикл услуги ADSL в настоящее время находится в стадии роста и пока о периоде насыщения говорить еще рано. Фактическое количество ADSL-абонентов показано на графике, приведенном на рисунке 4.18.
Рисунок 4.18 – Количество ADSL-абонентов, с начала выхода услуги на рынок телекоммуникаций.
Для обоснования перспективности работы в этом направлении и прогнозирования на несколько лет вперед мной была разработана общая модель (21 – 28), на основе моделирования монопольной услуги ISDN. Общая система дифференциальных уравнений первого порядка для услуги ADSL имеет вид:
(21)
(22)
(23)
(24)
(25)
(26)
(27)
(28)
Поясню введенные коэффициенты в данной системе:
- количество потенциальных абонентов на сегодняшний день (по сути, это абоненты dial-up), т.е. те, у кого есть компьютер;
- количество абонентов предприятия для услуг ADSL и ISDN соответственно;
- количество абонентов конкурентов;
- число субъектов, не имеющих компьютер, но имеющих потенциальную возможность его приобретения;
- коэффициент, зависящий от изменения тарифов анализируемого предприятия на услугу ADSL и влияющий на число реально имеющихся на сегодняшний день клиентов и отличный от нуля только в случае увеличения тарифов;
,
- аналогичные коэффициенты для конкурентов и услуги ISDN, соответственно;
- коэффициент, характеризующий скорость «компьютеризации» по области;
- временные задержки выведения услуг dial-up, ADSL, услуг конкурентов и ISDN на рынок соответственно;
- вероятность перехода клиентов с услуги dial-up на услуги ADSL и ISDN, и к конкурентам соответственно;
- вероятность перехода клиентов от предприятия с услуги ADSL к конкурентам и от конкурентов на услугу ADSL соответственно;
- вероятность перехода абонентов с услуги ADSL на услугу ISDN внутри анализируемого предприятия и наоборот;
- вероятность перехода клиентов от конкурентов на услугу ISDN и с услуги ISDN к конкурентам соответственно;
- прибыль;
- это доход, полученный за время
от
абонентов при среднем доходе от одного равном
;
- расходы за время
на оплату труда, оборудования и рекламу соответственно.
При моделировании данной услуги необходимо помнить, что как для конкурентной услуги ADSL, так и для монопольной услуги ISDN число потенциальных абонентов берется непосредственно из услуги коммутируемого доступа – dial-up. Так как у данной услуги есть конкуренты, нужно более продуманно вести политику предприятия. Ведь при существенном изменении условий внутри предприятия, которые будут не устраивать абонентов, это может сказаться на их уходе к конкурентам.
Последующим этапом, на мой взгляд, будет период оптимизации данной системы для услуги ADSL и сопоставление её с условиями рынка.
4.4 Расчет абонентской базы
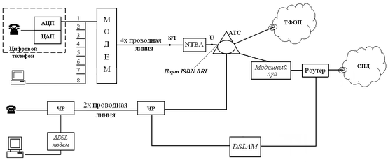
К станционному оборудованию цифровой АТС одновременно можно подключить и абонентов ISDN и абонентов ADSL (рисунок 4.19).
Рисунок 4.19 – Структурная схема узла ТФОП и сети передачи данных связи.
С начала оказания услуги ISDN по февраль 2006 года число абонентов составляло 511 человек. Теперь попробуем посчитать, сколько оборудования нам надо закупить и на какую сумму с перспективой развития услуги в ближайшие 3 года.
Для простоты расчета, пусть число абонентов составляет 1000 человек. За это время предприятие должно подключить 489 абонентов. По разным районам города плотность населения разная, поэтому загруженность по АТС, которых в городе всего 6, тоже соответственно разная. Все АТС подразделяются на: АТС 520 (их в городе 3), АТС 630 (их 2) и одна АТС модификации 444.
Так как АТС 520 и 444 находятся в более оживленных районах города, то число абонентов, которые приходятся на эти АТС, будем брать с коэффициентом 0,4. Значит, на каждую из этих АТС приходится по 195,6 человек, на АТС 630 можно подключить 97,8 абонентов.
Зная, что на АТС 630 и 444 можно подключать платы ISDN только на 64 абонента, а на АТС 520 – на 32, приходим к выводу, что предприятию необходимо закупить 7 плат по 32 абонента и 6 плат по 64 абонента. Пусть предприятие закупит платы фирмы Siemens. Для покупки плат на 32 абонента марки “KX-TD50288 плата BRI ISDN” стоимостью 50.025 руб. каждая, понадобиться 350.175 руб. Значит, для приобретения плат на 64 абонента марки “KX-TDA0288 плат 64-интерфейсов ISDN BRI S0 (2B+D)” стоимостью 173.400 руб. каждая, необходимо заплатить 1.040.400 руб. Поэтому, общая сумма для закупки оборудования для услуги ISDN на 3 года, составит 1.390.575 руб.
Проводя аналогичные рассуждения для услуги ADSL, и предполагая что число абонентов возрастет до 5000 получим, что необходимо выделить 9.836.225 руб. для покупки 175 DSLAM той же фирмы, марки “DAS-3216/RU 24 портовый маршрутизатор IP DSLAM (до 48 портов)” стоимостью 56.207 руб. каждый.
В результате, для того, чтобы число абонентов на подключение услуги ISDN составило 1000 человек, а на услугу ADSL – 5000 человек в течение последующих трех лет необходимо, чтобы предприятие выделило деньги на закупку оборудования в размере 11.226.800 руб.
5. Организационно – экономическая часть
5.1 Технико-экономическое обоснование проведения работы
В настоящее время уровень развития компьютерной техники и программного обеспечения позволяет создавать различные модели, в том числе и модели экономического прогнозирования для телекоммуникаций.
В данной работе были созданы математические модели на основе языка программирования пакета Matlab, выполняющие расчеты определенных экономических показателей.
Задачи разработчика состояли в следующем:
-
выбрать/разработать математическую модель;
-
выполнить компьютерную обработку данных.
Рынок телекоммуникационных услуг, и в том числе Интернет - услуг, стремительно развивается. Сильная конкуренция технологий, конкуренция операторов связи заставляет очень взвешенно относится к капитальным затратам на развитие сетей связи, к маркетинговой и тарифной политике. Путь « выживания », равнения на передовых уменьшает риск, но приводит к потери новых сегментов рынка и потери доходов. В связи с этим прогнозирование и моделирование процессов развития услуг становится необходимым.
Применение методов экономического прогнозирования телекоммуникационных услуг необходимо для оптимизации инвестиций, тарифной политики, позиционирования на рынке в условиях роста продаж, насыщения и последующего спада.
Реализованная математическая модель поможет менеджерам выявить сильные и слабые стороны предприятия и прогнозировать состояние рынка, что существенно облегчит процесс принятия решения, а также выбор стратегии.
5.2 Планирование работы
Проведение какого-либо исследования требует проведения тщательного планирования комплекса работ. Используем принцип сетевого планирования, который состоит в составлении графика процесса исследования и обеспечения возможности оценки текущего хода проектирования.
















