181757 (596542), страница 9
Текст из файла (страница 9)
После определения масс заготовки и детали определяем коэффициент использования материала:
Вариант 1.Технологический процесс заготовкой для которого служит прокат.
Рассчитаем себестоимость детали, которая изготавливается по действующему на предприятии технологическому процессу. В этом случае заготовкой служит прокат.
Себестоимость заготовки из проката:
Sзаг. = М+ΣСо.з. [2,стр.30], где
М – затраты на материал заготовки, руб.;
ΣСо.з. – технологическая себестоимость операций правки, калибрования прутка, резки на штучные заготовки.
Со.з.=
, руб. [2,стр.37], где
Сп.з. – приведенные затраты на рабочем месте, руб./ч.
Тшт.(шт.-к.) – штучное или штучно-калькуляционное время выполнения заготовительной операции (правки, резки и др.).
С
резки
о.з. =
руб.Тшт.(шт.-к.) = 0,19хD2х10-3=2,1 мин.
С
правки
о.з. = 7,5 руб.В данном случае коэффициент использования материала 66%, т.е. 34% материала идёт в отходы.
М = 6,467х20,8 – (6,467 – 4,017) х
= 132,3 руб.
Sзаг. = 132,3 + (2,1 + 7,5) = 142 руб.
Вариант 2. Технологический процесс заготовкой для которого служит штамповка.
А теперь рассчитаем стоимость детали, изготавливаемой по предлогаемому технологическому процессу, в котором заготовкой служит штамповка.
Рисунок 3.– Заготовка штамповка
После определения масс заготовки и детали определяем коэффициент использования материала:
Коэффициент использования материала во втором случае выше. Следовательно, более эффективно с точки зрения экономии материала использовать заготовку штамповку, так как в этом случае в отходы идёт всего 9% материала, а в случае проката – 34% идёт в отходы.
Стоимость штамповки определяется по формуле:
Sзаг = (
, руб., где
Ci – базовая стоимость 1т. заготовок, руб.;
Sотх – цена 1т. отходов ( стружки ), руб.;
Sотх = 900 руб. за 1т. ( по данным завода);
Ci = 20800 руб. за 1т. (по данным завода);
Sзаг = (
= 91,17 руб
Как видим, и себестоимость заготовки намного ниже во втором случае, чем в первом.
Выбираем заготовку штамповку.
Стоимость основных материалов для годовой программы выпуска
М=91 х 20 000=1820000 руб.
Определение припусков.
Припуски на механическую обработку определяем по таблицам:
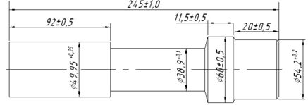
Таблица 2.4.-Припуски на механическую обработку ступенчатого вала на сторону.
| Номинальный диаметр | Способ обработки поверхности | Припуски на диаметр при длине вала 245 мм. |
| Ø 49,95 | Точение черновое Точение чистовое Шлифование черновое | 1,6 0,45 0,1 |
| Ø 38,9 | Точение черновое Точение чистовое Шлифование черновое | 1,6 0,45 0,1 |
| Ø 60 | Точение черновое Точение чистовое Шлифование черновое | 1,7 0,5 0,1 |
| Ø 54,2 | Точение черновое Точение чистовое Шлифование черновое | 1,7 0,5 0,1 |
Таблица 2.5.-Межоперационные размеры и допуски на них:
| Наименование обработки | Получаемые размеры | |||
| точение предварительное |
|
|
|
|
| точение окончательное | Ø | Ø | Ø | Ø |
| шлифование | Ø | Ø | Ø | Ø |
Техническое нормирование операций
Общая норма времени определяется по формуле:
где То – основное время на обработку, мин;
Тв – вспомогательное время, мин;
Тобс – время на обслуживание, мин;
Тодх – время на отдых, мин.
Основное время определяется по формуле:
L = Lo + L1+L2
Где L – длина резания, мм
Lo – длина обрабатываемой поверхности, мм
L1 – величина врезания и перебега инструмента, мм
L2 – длина на взятие пробных стружек, мм
n – частота вращения шпинделя, об/мин
S – подача, мм/об
Sмин – минутная подача, мм/мин
i – число проходов.
Расчёт технического нормирования на операцию «Фрезерно - центровальная».
Определяем норму времени на фрезерование торца вала
L = 62 + 80 = 142 мм
То = 142 * 1/44,2 = 3,2 мин
Тв = 2,5 мин
Время на техническое обслуживание и время отдыха принимаются в процентах от оперативного времени
Топ = То + Тв
Топ = 3,2 + 2,5 = 5,7 мин
Тобс = 3% от Топ
Тотд = 3% от Топ
Тобс = 0,088 мин
Тотд = 0,088 мин
Тшт = 3,2 + 2,5 + 2*0,088 = 5,876 мин
Штучно – калькуляционное время определяется по формуле
где Тп.з. – подготовитель – заключительное время.
nз – партия запуска деталей.
Тшт.к = 5,876 + 22/398 = 5,93 мин
Рассчитываем норму времени на сверление центровых отверстий.
L = 13,34 + 5 = 18,34 мм;
То = 18,34 * 1/1650 * 0,15 = 0,074 мин;
Тв = 1,65 мин.
Определяем оперативное время:
Топ = 0,074 + 1,65 = 1,724 мин;
Тобс = 0,052 мин;
Тотд = 0,155 мин.
Штучное время:
Тшт = 0,074 + 1,65 + 0,052 + 0,155 = 1,931 мин.
Штучно – калькуляционное время:
Тшт-к = 1,931 + 12/398 = 1,96мин.
Расчёт технического нормирования на операцию «Токарная с ЧПУ».
Определяем основное автоматическое время:
,
где: i – число проходов;
L – длина обрабатываемого участка;
n - частота вращения шпинделя;
S – подача
Переход 2
Переход 3
Переход 5
Переход 6
Время автоматической работы станка:
Вспомогательное время на установку детали в патрон с поджатием задним центром и снятие после обработки :
Вспомогательное время, связанное с обработкой и не вошедшее в программу ( Т всп ), в него входит:
- включить(выключить) станок -0,04 мин;
- открыть(закрыть) оградительный щиток от стружки – 0,03мин;
- установить координаты - X Y – 0,15 мин;
- ввести коррекцию – 7*0,04=0,28 мин
Итого Т всп = 0,5 мин
Ручное вспомогательное время :
где: Тви=0 - Вспомогательное непрерывное время на ручные измерения.
Оперативное время на операцию:
где: Ktв=0,95 – поправочный коэффициент на время выполнения ручной вспомогательной работы.
Время на обслуживание рабочего места, личные надобности и отдых составляет 9 % от оперативного времени :
Штучное время обработки детали:
Подготовительно заключительное время на партию обрабатываемых деталей с разбивкой по элементам затрат составляет:
- на ограниченную подготовку средней сложности – 16 мин
- на наладку станка, инструмента, приспособления:
1. Установить инструмент в резцедержатель и снять после обработки – 0,4*7=2,8мин;
2. Установить с регулировкой поводковый патрон и снять его после обработки – 4,5 мин;
3. Настроить нулевое положение каретки суппорта – 2,5 мин
4. Установить перфоленту, проверить работоспособность считывающего устройства, снять перфоленту – 2,4 мин
Итого Тпз=2,8+4,5+2,5+2,4=12,2 мин
Штучно – калькуляционное время:
где: N=398 партия деталей средней величины.
Расчёт технического нормирования на операцию «Круглошлифовальная»
Рассчитываем время на обработку поверхности 1
Рассчитываем время на обработку поверхности 2
Рассчитываем время на обработку поверхности 3
Рассчитываем время на обработку поверхности 4
Определяем
для всей операции:
Определяем общую трудоёмкость для изготовления детали
«Ступенчатый вал»
2.4 Расчёт калькуляции себестоимости детали из заготовки-штамповки
Таблица 2.6.-Калькуляция себестоимости штамповки.
| Наименование затрат | Сумма, руб. |
| Задано в производство | 91,17 |
| Отходы | 0,08 |
| Итого | 91,25 |
| Электроэнергия на 1 изделие | 5,33 |
| з/п рабочих | 12,31 |
| Дополнительная з/п | 2,46 |
| Отчисления от з/п | 3,87 |
| Общепроизводственные расходы | 115,21 |
| Общезаводские расходы (180%) | 207 |
| Прочие расходы (7,5%) | 8,64 |
| Производственная себестоимость | 215,64 |
| Внепроизводственные расходы(3,5%) | 7,5 |
| Полная себестоимость | 223,2 |
| Прибыль | 72,42 |
| Оптовая цена без НДС | 300 |
| НДС (18%) | 52 |
| Оптово-отпускная цена | 352 |















