169841 (595770), страница 6
Текст из файла (страница 6)
Рис. 9. Аэрирующий модуль.
Аэрационное оборудование представляет собой аэрирующие модули, состоящие из труб ПНД (d=110-160 мм), на которых через пластмассовые тройники попарно крепятся аэраторы. Ширина модуля - 1,1 м; шаг между аэраторами - 0,2-1,4 м. Модули размещаются в несколько рядов с интервалом до 1,1 м, образуя широкую аэрируемою полосу, отвечающую ширине аэрируемого сооружения, что позволяет поддерживать активный ил во взвешенном состоянии даже при низкой интенсивности аэрации (2 м3/м2 час). Изменение шага между аэраторами позволяет изменять интенсивность аэрации в широком диапазоне, обеспечивая оптимальный кислородный режим.
Наиболее перспективным направлением в совершенствовании аэрационных систем является создание мембранных элементов, которые практически не подвержены биообрастанию и в процессе эксплуатации ведет к значительной экономии электроэнергии [5].
Одним из примеров таких аэраторов являются мембранные элементы ПОЛИАТР, на основе гибкой пластичной мембраны собственной разработки. Эта мембрана с успехом выдерживала многолетние нагрузки в составе системы аэрации аэротенков и с успехом переносила периодические отключения подачи воздуха. Технологические паузы аэрации не уменьшали срок службы аэратора, а наоборот, помогали избавляться от внешних биообрастаний. Это свойство с успехом стали использовать в больших и малых очистных установках на базе SBR – аэротенков (sequencing batch reactor – аэробные реакторы с циклично прерываемой активностью), где подача воздуха в аэраторы прекращается и возобновляется в короткие промежутки времени. Применение данной технологии позволило разработать очень эффективные системы биологической очистки.
Элемент представляет собой пластмассовую трубную арматуру с рукавным пластичным плёночным полимерным материалом. По всей площади полимерной плёнки нанесены микроскопические прорези. При подаче давления, плёнка расправляется, стряхивая с себя бионаросты, прорези начинают приоткрываться, выпуская в толщу воды миллионы крошечных пузырьков воздуха. При отключении подачи воздуха, все прорези закрываются, плёнка сморщивается, доступа воды внутрь аэратора не происходит.
Конструкция и принцип действия пластинчатых аэраторов AEROSTRIP
Важнейшей частью аэратора является натянутая на металлическое основание перфорированная полиуретановая пленка. Без подачи воздуха пленка плотно прижата к основанию, поры при этом закрыты. При подаче воздуха мембрана искривляется и расширяется (т.к. поры открыты только во время подачи воздуха, возможные отложения удаляются регулярным отключением подачи воздуха, при котором поверхность мембраны уменьшается и внешний слой отделяется). Под давлением воздуха открывается сначала часть пор, и с растущим давлением количество открытых пор увеличивается. Наблюдается возникновение мелких воздушных пузырей, которые медленно поднимаются осциллирующим движением. Так как турбулентность в воде не возникает, эти пузыри пребывают в аэротенке чрезвычайно долго.
Аэрационные системы FORTEX
Экономичное и, в то же время, достаточное обеспечение кислородом протекающих в активационных станциях очистки сточных вод биологических и других процессов требует точных знаний методов определения размеров аэрационных систем, оптимального распределения аэрационных элементов в аэротенках и подбора оборудования, а также систем управления при постоянно изменяющихся условиях эксплуатации аэротенка.
Аэрационные элементы FORTEX предназначены для перемешивания и аэрации вод в активационных и деаэрационных бассейнах станций очистки сточных вод или аэрации других жидкостей, для аэрации оборудования для разведения рыбы, прудов и водоемов, а также для пневматической флотации.
Мелкопузырчатые аэраторы ФОРТЭКС снабжены резиновой мембраной, которая изготовлена из ЕПДМ - каучука (этилен - пропилен - димер). При определенном давлении воздуха мембрана выпучивается таким образом, что в ней раскрываются отверстия, и начинает проходить воздух в форме мелких пузырьков. Над входным отверстием воздуха мембрана не имеет перфорации и служит в качестве обратного клапана для перекрытия впускного отверстия при прекращении подачи воздуха, чем препятствует проникновению воды в воздуховод. Контрольный клапан впуска воздуха обеспечивает одинаковое сопротивление и распределение воздуха по элементам также в случае длинных воздухораспределителей, препятствует местному падению давления и поддерживает систему в работоспособном состоянии даже в случае механического повреждения. Для закрепления элементов на магистральной аэрационной линии применяются разъемные крепления. Преимуществом элементов являются высокие окислительная мощность и использование кислорода, экономичность, низкие потери давления, простая конструкция элемента, возможность простой и быстрой замены мембраны или целого элемента, высокая устойчивость к засорению.
Средне пузырчатые элементы АМЕ - Р, АМЕ - S предназначены для перемешивания и аэрации вод в деаэрационных бассейнах станций очистки сточных вод, в резервуарах аэробной стабилизации ила, селекторах, песколовках или для аэрации других жидкостей, для аэрации оборудования для разведения рыбы, прудов и водоемов.
Мелкопузырчатые аэрационные элементы ФОРТЭКС производятся трех основных типов:
-
Дисковый (АМЕ - 260)
-
Пластинчатый (АМЕ -D)
-
Трубчатый (АМЕ - Т 750 и АМЕ - Т 370)
Рис. 10. Аэрационные элементы Фортекс
Таблица 2. Технические параметры аэраторов Фортекс
| Тип АМЕ | 260 | D | Т 750 | Т 370 | 260-S | Р | |
| Вес | 0,8 | 1,9 | 1,3 | 0,9 | 0,8 | 0,05 | кг |
| Потеря давления | 1,8-3,7 | 2,4 -4,5 | 4,0 -5,6 | 4,0-5,6 | 1,0-2,0 | 1,2-4,0 | kПа |
| Расход воздуха на элемент | 1,0-6,0 | 3,0 -18,0 | 2,0-9,0 | 1,0-5,0 | 4,0-8,0 | 2,0-15,0 | м3/ч |
| Рекоменд. расход воздуха | 3,5-4,0 | 7,0-10,0 | 5,0-6,0 | 2,5-3,5 | 5,0-7,0 | 4,0-10,0 | м3/ч |
| Использование кислорода Еа | 3,8-8,0 | 4,0-7,0 | 3,5-8,0 | 3,5-8,0 | 2,5-4,5 | 1,7-2,2 | %/м |
| Плотность элементов Ds | 0,5-4,5 | 0,2-5,0 | 0,5-4,5 | 0,8-7,0 | 0,5-4,5 | 0,5-4,5 | шт/м2 |
АМЕ – Т 750, АМЕ – Т 370. Мелкопузырчатый трубчатый аэрационный элемент состоит из резиновой перфорированной мембраны, прикрепленной к несущей трубке диаметром 63 мм. На обоих концах мембрана закреплена зажимными лентами. Трубчатый элемент снабжен отверстием подвода воздуха и у него существенно упрощен способ крепления к аэрационной линии. Трубчатые аэрационные элементы применяются в случаях высокой и экстремальной плотности размещения аэрационных элементов, при специфических формах отстойников и на съемных (извлекаемых) аэрационных решетках. Для специального применения возможно изготовление этого типа аэраторов из нержавеющей стали, чтобы элемент не содержал пластиковых частей.
На основе обзора литературы можно выделить следующие цели дипломной работы:
-
Разработать технологическую схему очистки сточных вод нефтеперерабатывающего предприятия;
-
Рассчитать основной аппарат – аэротенк-вытеснитель, способный обеспечить необходимую степень очистки сточных вод нефтеперерабатывающего завода с проектной производительностью 60 тыс. м3/сутки;
-
Совершенствование системы аэрации сточных вод в аэротенке I ступени очистных сооружений ООО "ЛУКОЙЛ-Пермнефтеоргсинтез", путём замены старых фильтросных труб на новые мембранные мелкопузырчатые аэраторы.
Для достижения поставленных целей необходимо было решить следующие задачи:
-
Тщательно изучить теоретические основы технологии биохимической очистки сточных вод нефтеперерабатывающих предприятий;
-
Проанализировать имеющуюся технологическую схему очистки сточных вод на предприятии ООО "ЛУКОЙЛ-Пермнефтеоргсинтез";
-
Выбрать один из путей повышения эффективности очистки сточных вод в аэротенке;
-
Показать технологическую и технико-экономическую целесообразность замены существующей системы аэрации;
-
Разработать мероприятия по обеспечению безопасности работы на биологических очистных сооружениях нефтеперерабатывающего завода.
2. Разработка технологической схемы очистки
2.1 Описание технологической схемы
Технологическая схема очистки сточных вод с промышленной площадки ООО "ЛУКОЙЛ-Пермнефтеоргсинтез" осуществляется на локальных очистных сооружниях и включает следующие стадии [18]:
• механическую очистку стоков от нерастворённых грубодисперсных минеральных примесей и нефтепродуктов;
• физико-химическую очистку стоков от мелкодисперсных минеральных примесей, эмульгированных нефтепродуктов;
• очистку стоков от тонкодисперсных нефтепродуктов, растворимых органических веществ биохимическим окислением с помощью микроорганизмов активного ила;
• возврат очищенных сточных вод на повторное использование в систему производственного водоснабжения и для подпитки оборотных систем водоснабжения;
• складирование нефтесодержащих отходов с последующей переработкой на установке КХД;
• механическое обезвоживание избыточного активного ила;
• отведение очищенных сточных вод в систему канализации.
Механическая очистка
Механическая очистка предназначена для предварительной очистки сточных вод от грубодисперсных минеральных примесей и нефтепродуктов, откачку сточной жидкости на последующую очистку, сбора уловленного обводнённого нефтепродукта на нефтеловушках с последующей разделкой в разделочных резервуарах.
Сточные воды II системы поступают самотеком по двум вводам на механическую очистку и проходят через решётки, где из потока извлекают крупные плавающие примеси бумага, ветошь, этикетки, пленка).
Далее сточные воды следуют через песколовки, которые применяют для задерживания из сточных вод грубых минеральных загрязнений.
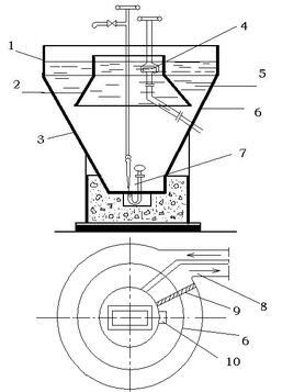
Рис. 11. Песколовка с круговым движением рабочего потока
Песколовка с круговым движением рабочего потока (рис 11) представляет собой круглый резервуар 1 с коническим днищем 3. внутри резервуара расположен цилиндр с усечённым конусом 2, которые с корпусом песколовки образуют кольцевой лоток 5, имеющий в нижней части щелевое отверстие 6 для отвода осадка.
Нефтесодержащие сточные воды поступают к песколовке по открытому лотку и направляются затем в кольцевой лоток песколовки по тангенциальному вводу. Для поддержания в песколовке постоянного уровня на выходе из неё установлен водослив с широким порогом 8. Всплывающие нефтепродукты задерживаются в лотке полупогружённой перегородкой 9, расположенной перед водосливом. Далее через специальное отверстие 10 они направляются в центральную часть песколовки. Накопившиеся нефтепродукты удаляются из песколовки через погружную воронку 4. Выделенный песок удаляется из песколовки гидроэлеватором 7.
При увеличенном расходе сточных вод, превышающем расчетный, излишек воды перепускается через камеру ливнесброса в аварийный амбар. Отстоявшаяся в амбаре вода в течение 3-4 суток перепускается в нефтеловушки. Донный осадок из большого аварийного амбара удаляется по мере накопления.
После песколовок сточные воды направляются по распределительным лоткам в нефтеловушки, объем которых равен 2-х часовому расходу поступающей сточной воды. В нефтеловушке выделяются мелкодиспергированные нефтепродукты и тяжелые взвеси гидравлической крупностью более 0,8 мм/с.
Нефтеловушки представляют собой горизонтальный отстойник (рис 12), разделённый продольными перегородками 10 на самостоятельно работающие секции 11. Число секций назначается в зависимости от расхода сточных вод.
Рис. 12. Секция типовой горизонтальной нефтеловушки
Для распределения рабочего потока воды в секции нефтеловушки служит щелевая перегородка 4. Имеются нефтеловушки, в которых распределение потока осуществляется через стояки труб, оканчивающиеся раструбами 3. Очищенная вода из секции удаляется в водосборный лоток 9 через водослив 8. Для задерживания нефтепродуктов перед водосливом устанавливают полупогружённую перегородку 7. Задержанные нефтепродукты отводятся из секции щелевыми поворотными трубами 5. Тяжёлый осадок, выпавший на дно секции скребковым транспортёром 6 сгребается в приямок 1. Этот же скребковый транспортёр используют для транспортирования плавающей нефти к нефтесборным трубам. Осадок удаляют из приямков гидроэлеваторами 2.
Сбор уловленного обводненного нефтепродукта на нефтеловушках осуществляется с помощью нефтесборных труб в подземный резервуар.
Готовый нефтепродукт с обводненностью не более 1 % откачивают насосами на повторное использование на установку ЭЛОУ. Сбор и разделка нефтепродукта ведется постоянно. Масса уловленного на нефтеловушках нефтепродукта составляет от 1,0 до 2,5 тысяч тонн в месяц.
Удаление донных отложений с нефтеловушек и песколовок производится на песковые площадки. Отстоенная вода с песковых площадок через выпускные колодцы дренируется в большой аварийный амбар.
Чистка нефтеловушек от донного осадка осуществляется один раз в год.
















