150835 (594597), страница 5
Текст из файла (страница 5)
Тепловой баланс деаэрационной установки составляется для определения полного расхода пара, подводимого к деаэратору.
В зависимости от тепловой схемы энергоустановки в деаэратор вводится то или иное количество потоков воды и пара. Тепловые балансы должны рассматриваться для режимов работы деаэратора, указанных в технических заданиях на проектирование.
В случае избытка тепла в деаэраторе (отрицательный расход пара) техническое задание на проектирование деаэратора подлежит уточнению, в ходе которого должны быть дополнительно проанализированы и проверены условия работы деаэратора в тепловой схеме установки.
В общем виде уравнение теплового баланса деаэратора запишется как равенство потоков тепла, введенных в деаэратор и вышедших из него
Q1+Q2+Q3+Q4=Q5+Q6+Q7+Q8 , (5.1)
где Q1 – тепло, внесенное с основным потоком греющего пара, ккал/ч;
Q2 – тепло, внесенное с некипящими потоками воды, ккал/ч;
Q3 - тепло, внесенное с кипящими потоками воды, ккал/ч;
Q4 - тепло, внесенное с прочими потоками воды, ккал/ч;
Q5 – тепло, отведенное с деаэрированной водой, ккал/ч;
Q6 – тепло выпара, ккал/ч;
Q7 – потеря тепла деаэратором в окружающую среду, ккал/ч;
Q8 – тепло пара, отбираемого из деаэратора, ккал/ч.
Уравнение теплового баланса деаэратора как смешивающего теплообменного аппарата имеет вид:
, (5.2)
где Dп- расход нагревающего пара, т/ч;
- энтальпия греющего пара, ккал/кг;
- энтальпия химически очищенной воды, ккал/кг;
= 30 ккал/кг- принимаем по термодинамическим таблицам;
η- коэффициент, учитывающий потери тепла в окружающую среду; принимаем в первом приближении η= 0,98;
Gптс- общий расход воды на подпитку, т/ч;
tптс- температура нагреваемой воды на выходе из деаэратора,0С;
tхов- температура нагреваемой воды на входе в деаэратор, 0С.
Определим расход греющего пара в первом приближении:
т/ч.
Расход химически очищенной воды на деаэратор:
Gхов =Gптс- Dп=210- 25,97=184,03 т/ч.
Тепло, подведенное с химически обработанной водой, Qхов,:
Qхов = Gхов
хов =184,03
30=5,52 Гкал/ч.
Тепло, внесенное с холодными потоками воды Q2, Гкал/ч:
Q2= Qхол= 5,52 Гкал/ч.
Количество выпара Dвып принимаем из соотношения 1,5-2 кг на1 тонну деаэрированной воды по рекомендации руководящих указаний по проектированию термических деаэрационных установок.
При производительности колонки 300 т/ч количество выпара составит 0,600 кг/ч.
Тепло, отведенное с выпаром, Qвып , Гкал/ч:
Qвып= Dвып
вып,(5.3)
где
вып – энтальпия паровоздушной смеси выпара, может быть принята равной энтальпии насыщенного пара в деаэраторе ,
вып = iн.
Qвып= 0,600
640,7=0,384 Гкал/ч.
Тепло, отведенное с деаэрированной водой, Qд, Гкал/ч :
Qд = G
д, (5.4)
где G- количество деаэрированной воды ( производительность деаэратора), т/ч ;
д- энтальпия деаэрированной воды, определяемая по термодинамическим таблицам, ккал/кг.
Qд = 300
104,4= 31,32 Гкал/ч.
Количесво тепла, потребное на нагрев воды в деаэраторе, ∆Q, Гкал/ч:
∆Q= Qд- Qхол= 31,32 - 5,52= 25,8 Гкал/ч.
Расход тепла на деаэратор ∑Q, Гкал/ч:
∑Q= ∆Q + Qвып = 25,8+0,384=26,184 Гкал/ч.
Уточненное значение расхода пара на деаэратор, Dп, т/ч:
,
т/ч.
5.2 Деаэратор АВАКС
Деаэратор «АВАКС» - вавкуумно-атмостферный кавитационно струйный предназначен для удаления из воды растворенных в ней газов, применяется в системах водопользования теплоэнергетических установок и теплоснабжения.
В этих деаэраторах используется принцип вихревой центробежной интенсификации массообмена. Вода подается в деаэратор, приобретая сильное вращательное движение. При этом действие центробежных сил на периферии выше, чем в середине вихря, из-за чего в центре образуется область пониженного давления, куда Архимедова сила выталкивает из жидкости пузырьки выделяющегося газа. Чем глубже вакуум, тем ниже температура кипения. Обычно вакуумные деаэраторы работают при температуре 60-800 С, оптимальной с точки зрения затрат на поддержания вакуума и температурного режима.
Вакуумно-атмосферные деаэраторы типа АВАКС имеют следующие основные особенности:
1) Деаэрация производится без подвода греющего пара.
2) АВАКС производит деаэрацию воды при t = (60 – 95 ) ºС.
3) Давление деаэрированной воды на выходе из деаэратора превышает атмосферное, несмотря на то, что выпар удаляется эжектором.
4) В традиционных деаэраторах осуществляется только термическая струйная и барботажная деаэрация.
В вакуумно-атмосферных деаэраторах АВАКС кроме термической деаэрации использованы процессы дросселирования, кавитации, турбулентной диффузии, центробежной сепарации, что позволило увеличить скорость деаэрации ориентировочно в 300 раз. Это дало возможность уменьшить объем деаэратора в 250 раз, рабочую массу в 30 раз (масса АВАКС 30-40 кг.).
5) Малые габариты деаэратора обуславливают высокую точность его изготовления и сборки в заводских условиях, обеспечивают возможность полного контроля и управления деаэрацией, гарантируют получение стабильно высоких (О 2 < 20 мкг/дм3 ) результатов деаэрации.
6) Затраты на монтаж деаэратора АВАКС ориентировочно в 100 раз меньше, чем для других вакуумных деаэраторов, так как не требуется монтаж вышки и прокладки внешних коммуникаций.
7) Запуск деаэратора АВАКС и вывод его на рабочий режим осуществляется в течение двух минут.
8) Не требуется регистрация деаэратора АВАКС в органах Госэнергонадзора и Госгортехнадзора.
9) Конструкция вакуумного деаэратора АВАКС настолько совершенна и проста, что его эксплуатация сведена только к его пуску и выключению.
-
В комплект поставки деаэрационной установки входит:
1) Деаэратор АВАКС в сборе с ответными фланцами1 шт.
2) Эжектор типа «ЭВ» в сборе с ответными фланцами1 шт.
3) Кран шаровой Ду 25 в комплекте со штуцерами 1 шт.
4) Стекло смотровое Ф 32 мм 1 шт.
5) Шланг соединительный Ф 32 мм 1 комп.
6) Хомут Ф 50 мм4 шт.
5.2.1 Устройство и принцип работы
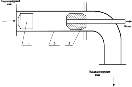
Принципиальная схема деаэратора «АВАКС» приведена на рисунке 2.
Деаэратор состоит из следующих основных частей: завихрителя 1; корпуса 2; обтекателя 3.
Поток воды, поступающий под давлением в деаэратор, раскручивается завихрителем до определенных скоростей. Раскрученный поток за счет центробежных сил прижимается к стенкам корпуса, образуя вакуумную полость, в которой происходит испарения воды и выделение растворенного газа. Парогазовая смесь (выпар) удаляется из деаэратора с помощью эжектора через газоотводящую трубку. Продеаэрированная вода проходит обтекатель и уходит на слив.
1- центробежный завихритель; 2- корпус; 3- обтекатель
Рисунок 2- Принципиальная схема деаэратора АВАКС
Проектируемая схема деаэрации подпиточной воды представлена на рисунке 3. Вода на деаэрацию поступает с ХВО-3 с температурой 300С. Перед подачей в деаэрационную установку необходим подогрев воды до 600С в теплообменном аппарате. Давление на входе деаэратора должно быть 3,5 кгс/см2. Для поддержания этого давления устанавливаем насос подачи недеаэрированной воды. Выход деаэрированной воды осуществляем трубопроводом Ду 70 и Ду 100 в существующий корпус деаэрационного бака от колонки ДС-300.
Рисунок 3- Проектируемая схема деаэрации
Выпар из трубки деаэратора засасывается потоком рабочей воды в эжекторе типа ЭВ, предлагаемого в поставке от Кинешимского машиностроительного завода. Подача рабочей воды на эжектор осуществляется насосом К100-65-200. Пароводяная смесь попадает в общий коллектор Ду 150 и в охладитель выпара, находящийся на нулевой отметке.
5.2.2 Проектирование схемы
Принимаем к установке шесть деаэраторов трех типов:
Таблица 16 – Выбор деаэраторов
| Производительность, тн/ч | Масса, кг | Габариты, мм | Количество, шт |
| 10-30 | 25 | 1160×252×180 | 2 |
| 30-50 | 30 | 1300×265×215 | 2 |
| 50-150 | 40 | 1500×319×245 | 2 |
Деаэраторы устанавливаем на металлической площадке, сваренной над баком-аккумулятором. Стойки над баком-аккумулятором свариваем из двух швеллеров №16 при вертикальной нагрузке до 3 тонн, скрепленных перьями вовнутрь. Швеллеры скрепляем пластинами из листа №6(6мм). Сечение стойки-250 мм(расстояние между полочками). Через каждые 0,5 м навариваем накладки из листа №6 размером 220×150мм. Высота стоек 4м, пролет между стойками при уклоне 0,0002 до 8,5м. Деаэраторы устанавливаются на горизонтальном участке трубопровода. В целях обеспечения удобства обслуживания деаэраторов и монтажа эжектора и емкостного оборудования расстояние между горизонтальной осью деаэратора и нулевой отметкой (пола) рекомендуется принять 1,5…2 метра.
| Параметр | Значение |
| Тип насоса | Одноступенчатый, центробежный,консольный с односторонним всасом |
| Производительность, м3/ч | 100 |
| Напор, м вод. ст. | 50 |
| Температура воды, 0С | 85 |
| Число оборотов, об./мин. | 3000 |
| Мощность электродвигателя, кВт | 30 |
Таблица 17– Характеристика насоса К100-65-200.
5.2.3 Расчет теплообменного аппарата
Таблица 18- Исходные данные:
| Расход воды, т/ч | 210 |
| Температура воды при входе в подогреватель, ˚С | 30 |
| Температура воды при выходе из подогревателя, ˚С | 60 |
| Давление греющего пара, кгс/см2 | 1,2 |
| Температура насыщения греющего пара, ˚С | 104 |
-
Тепловая мощность подогревателя
, (5.5)
где G – количество подогреваемой воды
с – теплоёмкость воды, с=4,19 кДж/(кгК),
- температура воды при выходе из подогревателя,
- температура воды при входе в подогреватель.
кДж/ч=7332,5 кДж/с=6,3 Гкал/ч
-
Часовой расход обогревающего пара, D, кг/ч, находится из уравнения теплового баланса
, (5.6)
где
- теплосодержание (энтальпия) обогревающего пара при выходе из подогревателя,
- теплосодержание (энтальпия) обогревающего пара при входе в подогреватель,
- КПД бойлера, учитывающий потери в окружающую среду.
кг/ч
-
Соотношение числа ходов греющего пара и нагреваемой воды
, (5.7)















