DD (594196), страница 3
Текст из файла (страница 3)
В качестве агломерационного топлива используется смесь антрацитового штыба и коксовой мелочи. Дозирование компонентов топливной смеси производится на складе флюсов и топлива в заданном соотношении и системой конвейеров подается в бункера четырехвалковых дробилок (емкость бункера 100 м3).
Дозировка компонентов шихты производится весовым (раздельным) способом в соответствии с утвержденными нормами и расчетом шихты на данный период. Основное назначение дозировки – обеспечить получение агломерата заданного качества с постоянными физико-химическими свойствами. Подача шихты из дозировочного отделения на шесть работающих агломашин (т.е. на один аглокорпус) производиться одним потоком. Количество дозируемой шихты должно строго соответствовать фактической производительности агломашин. Как избыток, так и недостаток шихты нарушает технологию процесса спекания. Контроль выдачи компонентов шихты производиться весоизмерителями двух типов: ДН-100 (для флюсов и топлива) и магнитоанизотропные (для рудной части шихты и возврата). На качество шихты большое влияние оказывает порядок заполнения бункеров и выдачи материалов из них: бункера должны обеспечивать максимальное усреднение дозируемых материалов.
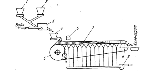
Подготовленную шихту 15 из промежуточного бункера 13 равномерно и непрерывно подают системой загрузки на агломашину 17 и укладывают на бесконечно движущуюся цепь колосниковых тележек (паллет), предварительно поместив на них постель 16, которая поступает из приемного 10 и промежуточного 12 бункеров по транспортеру 11.
Система загрузки агломерационной шихты должна обеспечивать формирование структуры слоя с максимальной и равномерной по ширине спекательных тележек газопроницаемостью в процессе спекания.
Система загрузки включает бункер с окном выдачи шихты, барабанный питатель и загрузочный лоток. Загрузочное устройство обеспечивает выдачу шихты на паллеты равномерным слоем по ширине агломашины и во времени. Для равномерной загрузки агломерационной машины шихтой в промежуточном бункере поддерживают постоянный запас шихты на уровне, не ниже 800 мм от барабанного питателя. Для загрузки шихты на паллеты используется загрузочный лист, угол которого и расстояние от колосников паллет регулируется в зависимости от высоты слоя и свойств шихты таким образом, чтобы происходила сегрегация шихты по крупности. Поверхность шихты, загруженной на паллеты, должна постоянно заглаживаться при помощи специальной гладилки, которая расположена за загрузочным устройством.
Высота слоя шихты устанавливается от 330 до 400 мм, в зависимости от газопроницаемости. Если высоту слоя понизить, то понизится прочность агломерата, повысится удельный расход топлива и увеличится относительный выход возврата. Равномерное распределение шихты является одним из необходимых условий для нормального протекания процесса спекания.
Процесс спекания агломерата начинается с зажигания верхнего слоя шихты, которое производится четырехгорелочным камерным горном 14 с торцевым расположением горелок, работающем на природном газе. Подача газа на горн допускается только при гарантии его воспламенения от пламени костра или от раскаленной поверхности шихты. Давление газа должно быть не ниже 300 мм. вод. ст. При падении давления газа ниже 300 мм.вод.ст. подача газа на горн прекращается и агломашина останавливается. В зоне зажигания путем регулирования подачи газа и воздуха следует поддерживать температуру в пределах 1100-1150ºС. Для достижения такой температуры расход газа должен находиться в пределах 550-600 м3/ч, расход воздуха – 6500-7000 м3/ч. Температура горна поддерживается в пределах от 1280 до 1380°С. Расход газа и воздуха контролируется приборами, а также по виду пламени: при избытке воздуха пламя становиться синеватым, при недостатке воздуха пламя имеет светло-белый оттенок. Нормальное зажигание шихты достигается расходом необходимых количеств газа и воздуха, необходимым распределением расхода газа и воздуха по горелкам, постоянством массовой доли влаги и углерода в шихте, равномерной загрузкой шихты на паллеты.
Процесс спекания агломерата ведется в соответствии с технологической картой, составленной исходя из состояния агломерационных машин, а также на основании нормативного расхода шихтовых материалов.
Скорость движения агломашин регулируется в зависимости от вертикальной скорости спекания с таким расчетом, чтобы процесс спекания закончился на последней вакуум-камере зоны спекания, т.е. на 17-й с последующим охлаждением агломерата на 13-ти вакуум камерах. Недопустима работа агломашин с недопеком шихты. В случае резкого увеличения количества топлива в шихте необходимо снизить скорость движения агломашины для пропекания слоя шихты до колосниковой решетки.
Признаком, по которому можно судить о содержании углерода в шихте, является зона раскаленной поверхности спека после выхода из-под горна. При нормальном ходе процесса (при оптимальном содержании углерода в шихте, оптимальной скорости агломашины и пр.) спек должен быть на изломе равномерно пропечен по всей высоте и ширине пирога – не должно быть непропеченной шихты. При избытке топлива спек получается сильно оплавленным, с большими порами и может частично привариваться к колосникам.
Температура отходящих газов является одним из основных показателей хода процесса спекания и зависит: от массовой доли топлива в шихте, от законченности процесса спекания, от количества вредных прососов воздуха, от высоты слоя.
В первых вакуум-камерах (с 1 по 9) температура должна составлять 50-100ºС, в последних камерах с 15 по 17 зоны спекания она достигает максимума – 250-350ºС. При правильном ведении процесса температура в последней вакуум камере зоны спекания должна быть на 20-30ºС ниже, чем в предпоследней камере.
Температура отходящих газов перед эксгаустером должна быть не ниже 75ºС, а в коллекторе спекания 105-120ºС. Температура отходящих газов ниже указанной недопустима, т.к. ведет к возможности конденсации влаги, что способствует засорению тракта газоочистки и залипанию лопаток ротора эксгаустера. Оптимальное разрежение в коллекторе спекания составляет 800-100 мм.вод.ст., при этом разрежение по вакуум-камерам зоны спекания (кроме первой и последней) должно быть на 100-150 мм.вод.ст. ниже, чем в коллекторе. Понижение разрежения в коллекторе спекания указывает на повышение газопроницаемости шихты или на увеличение вредных прососов в газоотводящих трактах.
По мере движения тележек к хвостовой части машины горение коксика с верхнего слоя распространяется в нижние слои; этому способствует размещение под тележками вакуум-камер 22, в которых при помощи эксгаустера 25 создается разрежение до 10000 Па.
Охлаждение агломерата производится непосредственно на работающей агломашине в зоне охлаждения. На площади 60 м2 начиная с 20 до 32 вакуум-камеры агломерат должен охлаждаться в вакуумном режиме до 400-600°С. Готовый агломерат сбрасывают в конце машины с тележек, дробят с помощью дробилок 18, подвергают отсеиванию на грохотах 19, охлаждают и отправляют по транспортеру 20 в доменный цех. Неспекшуюся мелочь (возврат) помещают в приемные бункера 21 и возвращают для повторного спекания (в бункер 10) в качестве добавки к шихте.
Продукты сгорания и воздух из вакуум-камер по коллектору 23 поступают на очитку в циклоны 24 и удаляют эксгаустером 25 через трубу 27.
2.2 Характеристика и конструкция агломашины
Самым распространенным способом агломерации является спекание на ленточных агломерационных машинах непрерывного действия, при котором через слой спекаемых материалов просасывается воздух.
Схема ленточной агломерационной машины показана на рисунке 2.2.
Рисунок 2.2 – Ленточная агломерационная машина непрерывного действия:
1, 2 – бункеры, 3 – барабанный смеситель, 4 – промежуточный бункер, 5 – ведущий барабан, приводиться в движение двигателем постоянного тока, 6 – зажигательный горн, 7- вакуум-камеры, 8 – ведомый барабан машины, 9 – эксгаустер.
Характеристика агломерационной машины аглофабрики «ММК им. Ильича», подробная конструкция которой представлена в графической части дипломного проекта на листе 1:
Тип – АКМ-1,2,3-85/160
Количество – 12 шт
Площадь просасывания общая – 160 м2
Длина площади просасывания – 65 м2
Ширина рабочей поверхности – 2,7 м
Производительность – 170 т/час, годного 125 т/час
Скорость движения палет – 1,5-6,0 м/мин
Максимальная толщина спекаемого слоя – 350 мм
Тип электродвигателя – ДП-52
Мощность – 32 квт
Обороты – 730 об/мин
Тахогенератор – ЭТ-7/110
Обороты тахогенератора – 1950 об/мин
Колосники – по ТУ 14-12-44-84
Техническая характеристика эксгаустера:
Тип - 9000-11-2
Производительность – 2000 м3/мин
Начальное давление при входе во всасывающий патрубок – 0,9 атм.
Начальная температура газа – 70ºС
Создаваемый напор (повышение давления) – 1600 мм.вод.ст.
Техническая характеристика дымососа:
Тип - Д-21, 5х2
Производительность отнесенная к 0ºС и 760 мм.рт.ст. – 4500 м3/мин
Начальная температура газа – 200ºС
Создаваемый напор (повышение давления) – 470 мм.вод.ст.
Техническая характеристика газового горна:
Площадь горна – 6,8 м2
Объем топочного пространства – 5,2 м2
Тип горелок – ГПН
Количество горелок – 4 шт
Расход газа на горн – 500-700 м3/час
Расход воздуха – 5000-8400 м3/час
Тепловая мощность горна – 3,6-4,2·106
2.3 Процесс спекания агломерата на агломашине
Под процессом спекания понимают совокупность превращений при которых сжигаемое просасываемое воздухом твердое топливо в слое шихты обеспечивает развитие высоких температур в зоне горения и оплавление материалов. В результате получается спек, обладающий необходимыми физико-химическими свойствами. Основными параметрами, характеризующими процесс спекания являются температура поверхности зажженной шихты, высота слоя, скорость спекания, температура в зоне горения, время пребывания шихты на ленте (скорость ленты) и степень законченности спекания.
Начальной стадией спекания является зажигание шихты, при котором необходимо воспламенить частицы содержащегося в ней топлива и внести в слой количество тепла, обеспечивающее дальнейшее развитие горения. Наряду с обеспечением необходимых температуры и количества тепла следует иметь в зажигательном горне соответствующий состав продуктов сгорания с тем, чтобы в них содержалось достаточное количество кислорода, идущего на сжигание топлива в слое.
Чтобы в горн не подсасывался со стороны холодный воздух или не выбивалось из него пламя, особенно со стороны бортов тележек, необходимо поддерживать определенное давление, а для обеспечения перемещения зоны горения и просасывания газов через слой создавать в вакуум-камерах под горном соответствующее разрежение.
При зажигании шихты основными факторами являются температура поверхности и количество тепла, аккумулируемое в верхнем слое шихты.
Определенное влияние на процесс зажигания оказывает величина разрежения под зажигаемым слоем. При слишком малом разрежении продукты горения просасываются медленно, что приводит к замедлению процесса зажигания, особенно скорости теплопередачи в нижние горизонты слоя, а также снижению скорости перемещения фронта горения твердого топлива. При повышенном разрежении теплопередача осуществляется слишком быстро, фронт горения отстает, концентрация тепла в зажигаемом слое снижается, в результате чего спек получается непрочным.
Спекание шихты ведется на колосниковой решетке паллет агломерационной машины методом просасывания воздуха. Просасываемый через слой шихты воздух образует зону горения высотой 15-35 мм с температурой 1400-1600°С, передвигающуюся вниз с вертикальной скоростью спекания
мм/с. Спекаемая шихта перемещается от головной к хвостовой части машины со скоростью движения аглоленты
мм/с. В таких условиях зона горения приобретает форму наклонного плоского слоя (рисунок 2.3). В зоне длиной
происходит зажигание сырой шихты 1; в зоне горения 2
Рисунок 2.3 – Схема спекания шихты на агломашине
осуществляется спекание шихты на участке длиной
; готовый агломерат 4 образуется за зоной спекания. На участке длиной
агломерат охлаждается просасываемым воздухом. Сырая шихта и агломерат размещается на постели 3.
Основные параметры агломерационного процесса при установившемся режиме связаны соотношением:
где h – высота слоя шихты;
- время спекания
Скорость движения
поддерживается такой, чтобы процесс спекания заканчивался на заданной длине спекания
. В зоне горения спекаемый материал сплавляется, образуя пористый агломерат.
Температура регулируется в ходе всего процесса спекания, т.к. от этого зависит качество спекаемой шихты. При нормальном ходе процесса спекания агломерат равномерно спечен и при выдаче с ленты раскален не более чем на 1/3 высоты «пирога». На незаконченность процесса спекания указывает низкая температура отходящих газов в последних вакуум-камерах и наличие не спекшейся шихты в изломе «пирога» у колосников паллет. Повышение температуры отходящих газов в коллекторе происходит вследствие замедления скорости движения паллет или кратковременной остановки агломерационной машины; повышения газопроницаемости шихты. Понижение температуры отходящих газов в коллекторе имеет место при: уменьшении содержания топлива в шихте по сравнению с оптимальным; переоплавление поверхности слоя шихты из-за высокой температуры зажигания; наличие большого количества вредных прососов воздуха; завышение скорости движения паллет.
3 процесс спекания – как объект
автоматического управления
Основными показателями хода технологического процесса агломерации (выходными величинами) является производительность агломашины и качество агломерата. Производительность агломашины измеряют в тонах годного агломерата, полученного за час работы. Качество оценивают по химическому составу агломерата, прочности и восстанавливаемости его. Косвенным обобщенным показателем качества агломерата может служить отношение FeO/Fe2O3 в готовом продукте, однозначно связанное с технологическими свойствами агломерата.
















