144779 (594126), страница 5
Текст из файла (страница 5)
Вместе с тем, требование недопустимости выпучивания свай не является оправданным, так как любое здание и сооружение в состоянии переносить некоторые неравномерные деформации оснований, при выполнении соответствующих мероприятий.
Согласно п. 7.11 СНиП 2.02.03-85 глубину заложения подошвы свайного ростверка следует назначать в зависимости от конструктивных решений подземной части здания или сооружения. Кроме того, на глубину заложения ростверка влияет способ отрывки котлована. По возможности следует закладывать фундамент выше уровня подземных вод, в противном случае резко возрастает стоимость земляных работ.
Таким образом, принято решение о назначении глубины заложения подошвы ростверка равной 1м.
Под фундаментами устраивается подушка толщиной 50 см из непучинистых материалов (песок средней крупности, котельный шлак). Применением подушки достигается не только частичная замена пучинистого грунта на непучинистый, но и уменьшение неравномерных деформаций основания.
При конструировании ростверков, фундаментные балки, цокольные панели объединяются в единую систему, образуя достаточно жесткую горизонтальную раму.
Такая система перераспределяет неравномерные перемещения отдельных свай, выравнивает их, что в конечном итоге уменьшает относительные деформации фундаментов и надземных конструкций здания.
2.1.3 Расчет и конструирование свайного фундамента
2.1.3.1 Исходные данные
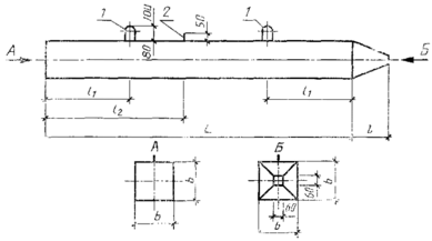
К расчету принята свая СНпр6-30 по ГОСТ 19804.2-79*.
Форма, марки, номинальные размеры свай и проектные марки бетона по прочности на сжатие должны соответствовать указанным на рисунке 2 и в таблице 6.
1 - подъемные петли; 2 - штырь для фиксации места строповки при подъеме на копер
Рисунок 2
Таблица 6
| Марка сваи | Номинальные размеры, мм | Проектная марка бетона по прочности на сжатие | Объем бетона, м3 | Масса сваи, т | Расход стали на одну сваю | ||||||||
| L | l | l1 | l2 | b | |||||||||
| СНпр6-30 | 6000 | 250 | 1200 | - | 300 | М300 | 0,55 | 1,38 | 14,2 | ||||
2.1.3.2 Определение несущей способности висячей сваи
К висячим сваям следует относить сваи всех видов, опирающиеся на сжимаемые грунты и передающие нагрузку на грунты основания боковой поверхностью и нижним концом.
Несущую способность Fd, (тс), висячей забивной сваи, погружаемой без выемки грунта, работающей на сжимающую нагрузку, следует определять как сумму сил расчетных сопротивлений грунтов основания под нижним концом сваи и на ее боковой поверхности по формуле (8) СНиП 2.02.03-85
, (15)
где c – коэффициент условий работы сваи в грунте, принимаемый c = 1;
R = 83,6– расчетное сопротивление грунта под нижним концом сваи, принимаемое по таблице 1 СНиП 2.02.03–85, тс/м2;
A = 0,09 – площадь опирания на грунт сваи, принимаемая по площади поперечного сечения сваи брутто или по площади сваи-оболочки нетто, м2;
u = 1,2– наружный периметр поперечного сечения сваи, м;
fi – расчетное сопротивление i-го слоя грунта основания на боковой поверхности сваи, принимаемое по таблице 2 СниП 2.02.03–85, тс/м2;
hi – толщина i-го слоя грунта, соприкасающегося с боковой поверхностью сваи, (м);
cR, cf = 1 – коэффициенты условий работы грунта соответственно под нижним концом и на боковой поверхности сваи, учитывающие влияние способа погружения сваи на расчетные сопротивления грунта и принимаемые по таблице 3 СниП 2.02.03–85.
Расчетная схема к определению несущей способности призматической сваи приведена на рисунке 3.
тс
Расчетное сопротивление сваи по грунту:
тс (16)
Площадь подошвы ростверка:
м, (17)
где N = 287 – нагрузка по обрезу фундамента, кН;
f = 1,1 – коэффициент надежности по нагрузке для собственного веса;
m = 20 – среднее значение удельного веса материала ростверка и грунта на его уступах, кН/м3;
dg = 1,0 – глубина заложения ростверка, м;
– среднее давление на основание под ростверком, тс/м2;
тс/м2 (18)
Вес ростверка с грунтом на уступах:
кН (19)
Число свай в ростверке:
шт. (20)
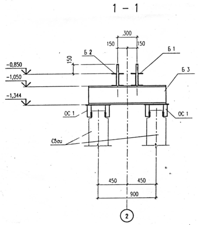
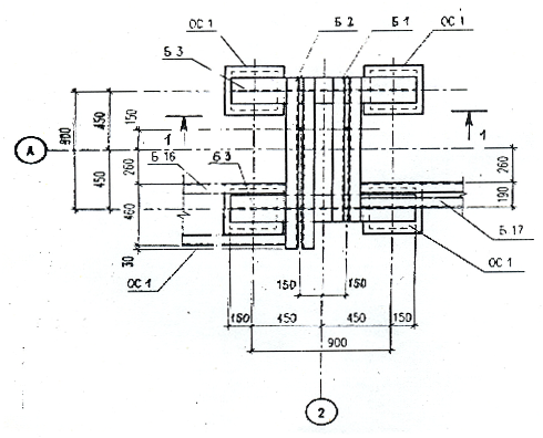
Конструктивно принимаем четыре сваи в кусте. Конструкция ростверка приведена на рисунке 4.
Рисунок 3
Рисунок 4 – Конструкция ростверка
2.1.3.3 Расчет осадки основания
Расчет оснований по деформациям производится исходя из условия:
, (21)
где: s - совместная деформация основания и сооружения, определяемая расчетом в соответствии с указаниями приложения 2 СНиП 2.02.01-83;
su = 12 - предельное значение деформации основания для многоэтажного бескаркасного здания с несущими стенами из крупных панелей, принимаемое по приложению 4 СНиП 2.02.01-83, см.
Расчет фундамента из висячих свай и его основания по деформациям следует производить как для условного фундамента на естественном основании в соответствии с п.6 СНиП 2.02.03-85.
Ширина условного фундамента:
Вусл = bo+2 · l · tgα, (22)
где bo = 1,2 – расстояние между наружными гранями крайних рядов свай вдоль меньшей стороны подошвы ростверка, м;
l = 5,45 – длина в пределах от подошвы ростверка до нижнего конца сваи, м;
α = φср / 4;
– средневзвешенный угол трения грунта в пределах от подошвы до нижнего конца сваи;
φср = (26 · 0,8 + 18 · 2,7 + 13 · 1,95) / (0,8 + 2,7 + 1,95) = 170
Вусл = 1,2 + 2 · 5,4 · tg4 2 м
Длина условного фундамента:
Lусл = lo +2 · l · tgα, (23)
где lo = 1,4 – расстояние между наружными гранями крайних рядов свай вдоль большей стороны подошвы ростверка, м;
Lусл = 1,4 +2 · 5,4 · tg4 2,2 м
Для возможности выполнения расчета осадки методами, регламентируемыми СНиП 2.02.01-83 и основанными на использовании теории линейно деформируемых сред, необходимо выполнение условия:
, (24)
где N = 287 – нагрузка по обрезу фундамента, кН;
Nc – вес условного массива, кН;
Nc = Bусл · Lусл ·m · h, (25)
где m – то же что в формуле (17);
h = 6,4 – высота условного фундамента, м
кН
кН
Сжимаемая толща разбивается на слои с обязательным соблюдением двух условий:
– элементарный слой при разбивке не должен превышать 0,4b;
– состав грунта элементарного слоя должен быть однородным;
hi 0,4·Bусл = 0,4 · 2= 0,8 м
Нижняя граница сжимаемой толщи находится из условия:
, (26)
где
– дополнительное давление на грунт;
– напряжение от веса грунта;
– дополнительное давление в плоскости подошвы фундамента;
α – коэффициент, зависящий от формы и глубины заложения фундамента, определяемый по таблице 1 прил. 2 СниП 2.02.01-83.
= 20 · 6,4 = 128 кПа
P0 =(P -
) = 193,2 – 128 = 65,2 кПа
Если найденная по указанному выше условию нижняя граница сжимаемой толщи находится в слое грунта с модулем деформации Е < 5 (МПа), нижняя граница сжимаемой толщи определяется исходя из условия
.
Результаты расчётов по определению природного и дополнительного давления приведены в таблице 7. Расчетная схема к определению осадки основания приведена на рисунке 5.
Таблица 7
| № слоя | | | | | |
| 0 | 1 | 128 | 25,6 | - | 65,2 |
| 1 | 0,812 | 143,12 | 28,6 | - | 52,9 |
| 2 | 0,470 | 158,24 | 31,6 | - | 30,6 |
| 3 | 0,274 | 173,36 | - | 17,3 | 17,9 |
| 4 | 0,173 | 188,48 | - | 18,8 | 11,3 |
Осадка основания s c использованием расчетной схемы в виде линейно деформируемого полупространства определяется методом послойного суммирования по формуле
, (27)
где - безразмерный коэффициент, равный 0,8;
zp,i - среднее значение дополнительного вертикального нормального напряжения в i-м слое грунта, равное полусумме указанных напряжений на верхней zi-1 и нижней zi границах слоя по вертикали, проходящей через центр подошвы фундамента;
hi и Еi - соответственно толщина и модуль деформации i-го слоя грунта;
n - число слоев, на которые разбита сжимаемая толща основания.
м;
Проверка условия:
















