125460 (593117), страница 7
Текст из файла (страница 7)
Ограниченное применение получили также методы испытания на изгиб образцов в виде металлической ленты, предложенные применительно к пружинным лентам. Сущность метода состоит в следующем.
Пружинную ленту вводят в стальные кольца, внутренний диаметр которых выбирают в соответствии с начальным напряжением. Размеры колец должны обеспечивать получение только упругой деформации. «Заряженные» кольца выдерживают при температуре испытания в течение времени, необходимого для построения кривой релаксации. Метод нагрева колец с лентой, так же как и метод нагрева кольцевых образцов Одинга, выбирают в зависимости от тех требований, которые ставит перед собой исследователь в отношении тщательности изучения первого участка релаксации. В случае необходимости определения остаточного напряжения через несколько минут после нагружения применяют нагрев в расплаве солей, состав которых выбирают применительно к температуре испытания. Для углеродистых сталей и сталей с ограниченным количеством никеля возможен более интенсивный нагрев — в расплаве чистого свинца или его эвтектик. Испытания при температурах, не вызывающих интенсивного развития процессов ползучести, проводят с нагревом в печи. Остаточное напряжение определяют по замерам радиуса кривизны ленты, извлеченной из кольца, с помощью формулы
(50)
где h — толщина ленты;
— радиус кольца;
—радиус кривизны ленты, деформированный при релаксации.
Расчеты по формуле, так же как и по формуле для кольцевых образцов Одинга, предполагают треугольную эпюру распределения напряжений по сечению.
Для исследования релаксации напряжений в процессе быстрого нагрева металла (до 2000 град\сек) была разработана методика, позволяющая испытывать в условиях изгиба плоские пластины, нагреваемые пропусканием тока.
При этих испытаниях уменьшаются "напряжения в процессе нагрева за счет релаксации напряжений при переменной температуре и уменьшения модуля упругости при увеличении температуры:
(51)
где
(52)
причем
— начальное упругое напряжение при 20° С;
— пластическая деформация при температуре Т, слагающаяся из деформации ползучести
и мгновенной пластической деформации
.
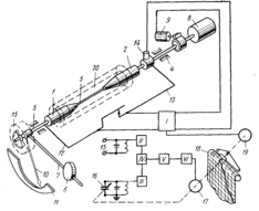
Изучение релаксации напряжений при кручении проводят на образцах различного типа. Так, например, для испытания на релаксацию напряжений в стальной проволоке сконструирована установка, представленная схематически на рисунке 12. Начальное напряжение в образце на этой установке задается поворотом груза 6, связанного с одним из захватов. Величина остаточного напряжения регистрируется автоматически с помощью механизма 18, а также может контролироваться с помощью стрелки 10. Угол закручивания образца поддерживается постоянным с помощью следящей системы, которая отводит замыкающий контакт 13 системы, укрепленной на захвате без груза. Установка снабжена печью, позволяющей проводить испытания образцов при температуре до 600° С.
1, 2 —захваты; 3, 4 — опоры; 5 — образец; б — груз; 7 — рычаг с переменным плечом; 8, 9 и 17—электродвигатели; 10 — стрелка; 11 — шкала; 12 и 13 — замыкаемый контакт системы; 14 —электромагнитный фиксатор, 15 — емкостный датчик; 16 — конденсатор; 18 — механизм записи диаграмм; 19— ограничитель нагрузки; 20 — нагревательная печь;
I — релейное устройство нагрузки; II —III—высокочастотные генераторы; IV — смеситель; V — детектор; VI — выходное релейное устройство
Рисунок 12 - Схема установки для измерения релаксации напряжений в проволоке при кручении.
2.3 Релаксация в винтовых пружинах
Испытания на релаксацию натурных винтовых пружин обычно являются технологическими испытаниями, которые проводят для определения стабильности пружин во времени. Такая методика предусматривает испытание цилиндрической пружины, надетой на оправку и сжатой на определенную величину. Начальное напряжение рассчитывают по формуле:
(53)
где D — диаметр пружины;
d — диаметр проволоки;
G0 и
; — модули сдвига при 20° С и температуре испытания t соответственно;
k — коэффициент неравномерности навивок пружины;
— нагрузка, приложенная при комнатной температуре для осуществления сжатия пружины до заданной величины
(
и
) — высота пружины в свободном состоянии и в момент нагружения при 20° С соответственно). Остаточное напряжение
(54)
где
— высота пружины, разгруженной в момент времени τ, в свободном состоянии.
Для измерения упругой осадки пружины применяют специальные приспособления с электрощупом, позволяющие производить замеры с точностью до ±0,01 мм.
Следует отметить, что при испытании пружин, так же как и при испытаниях на изгиб, нагружение производят лишь в упругой области.
Для уменьшения интенсивно развивающихся процессов релаксации напряжений непосредственно при их нагружении в ряде случаев применяют технологическую операцию, называемую «заневоливанием», состоящую в следующем. Изготовленную пружину сжимают до соприкосновения витков и длительно выдерживают в таком состоянии. Процесс заневоливания пружин считается законченным, когда скорость течения релаксационных процессов становится постоянной.
Для изучения закономерностей релаксации напряжений в пружинах сжатия при их заневоливании сконструирована специальная установка (рисунок 13), позволяющая проводить испытания при комнатной и повышенных температурах с автоматической записью кривых релаксации.
Установка состоит из нагружающего устройства, печи, весов и фотореле. Пружину 3 устанавливают на подставку, затем через нее продевают тягу 4. Домкрат 9 служит для подъема и опускания подвески 16, на которой устанавливают гири 5 и гидрогирю 6, при нагружении и разгружении пружины. Когда подвеска освобождается от домкрата 9 и вся нагрузка сосредоточивается на пружине 3, щель фотоэлемента устанавливается в тени флажка 15, и включается фотореле 19. При падении несущей способности пружины она сжимается и флажок, прикрепленный к стрелке индикаторной головки 1, открывает щель фотоэлемента, вследствие чего включается реле, замыкающее цепь электромагнитного пережима 8, открывается сифон 7 для откачки воды из гидрогири 6. Откачиваемая вода попадает в ведро 10 весоизмерителя 13 и ее масса, соответствующая падению нагрузки пружины во времени, регистрируется записывающим устройством 18.
В последние годы Чижиком А.А. разработан метод испытания на релаксацию металла натурных пароперегревательных труб. Испытания проводят в условиях сжатия на специальных пружинных образцах с прямоугольным сечением витка рисунок 14. Применительно к условиям получения достаточной точности испытаний и предупреждения потери устойчивости для труб диаметрами 25—75 мм установлены оптимальные размеры пружинного образца: длина 40, шаг спирали 8 мм. Образцы обычно изготовляют фрезерованием и каждый образец подвергают тарировке, состоящей в определении усилия, необходимого для осадки образца до высоты, соответствующей длине калибра. В результате тарировки определяют жесткость образца
, где Р — приложенное усилие; δ— соответствующая этому усилию линейная деформация образца.
Начальную осадку образца
определяют по формуле
(55)
где
— условное начальное напряжение;
и
— модули упругости при 20° С и температуре испытания t; 2а — ширина сечения витка; 2b — высота; k2 — константа, зависящая от отношения b/a.
Пружины испытывают в специальных приспособлениях (рисунок 14). Величина
создается затягом двумя опорными гайками и фиксируется фиксирующими втулками высотой
, где H — высота образца. Этот метод испытаний, так же как и испытания с кольцевыми образцами Одинга, является массовым: испытывается по 15—20 образцом.
1— индикаторная головка; 2— термопара; 3 — испытуемая пружина; 4 — тяга; 5 —гиря; 6 — гидрогиря; 7 — резиновая трубка; 8 — электромагнитный пережим; 9 — домкрат; 10 —ведро; 11 — ось электрочасов; 12 — указывающая и записывающая стрелки; 13 — весоизмерительная пружина; 14 — потенциометр ЭМД-237; 15—стрелка-флажок; 16 — грузовая подвеска; 17 — стол установки; 18 — записывающие барабанные электрочасы; 19— фотореле; 20 — электропечь
Рисунок 13 - Схема автоматической установки для измерения релаксации напряжения в пружинах сжатия.
1 — опорные гайки; 2 — фиксирующие втулки; 3 — стержень; 4 — образец
Рисунок 14 - Образец (а) и приспособление (б) для массовых испытаний пароперегревательных труб на ползучесть и релаксацию напряжений.
3 Влияние различных факторов на процесс релаксации напряжений и ее критерии
Факторы, влияющие на протекание процесса релаксации напряжений, можно разделить на внутренние — зависящие от испытуемого материала и внешние — от него не зависящие.
К числу внутренних факторов относятся: химический состава сплава; структура: макро- и микроструктура, тонкая (мозаичная и дислокационная) структура; технологические особенности: способ выплавки, обработка давлением, наклеп, термическая обработка.
К главным внешним факторам относятся: условия нагружения и разгружения; начальное напряжение; время (срок службы детали); температура; масштабный фактор.
3.1 Влияние начального напряжения на протекание процесса релаксации
Начальное напряжение
оказывает существенное влияние на протекание процесса релаксации, а следовательно, и на величину напряжений
, «оставшихся» через различные промежутки времени. При этом влияние
в I и II периодах релаксации имеет свои особенности.
1 — 200(20); 2 —250(25); 3 — 300(30); 4 — 400(40)
Рисунок 15 — Первичные кривые релаксации жаропрочного никельхромового сплава при 750° С и различных значениях
, МН/м2.
Принято считать, что с повышением величины σ0 процесс релаксации напряжений в начальном периоде интенсифицируется и тем заметнее, чем выше гомологическая температура. Анализ начальных участков большого числа первичных кривых релаксации показывает, что влияние начального напряжения сказывается не столько на абсолютной величине падения напряжения
, сколько на скорости снижения напряжения, что видно, например, из рисунка 15. Однако взаимное расположение кривых σ—τ, получаемое при различных значениях
, на первом этапе процесса релаксации не всегда соответствует начальным напряжениям, при которых они получены.















