125460 (593117), страница 11
Текст из файла (страница 11)
Эти превращения в аустенитных сталях могут происходить и в процессе ползучести или релаксации напряжений при Высоких температурах (несмотря на предварительный стабилизирующий отпуск).
Поскольку перечисленные явления сопровождаются изменением объема, это может отразиться на процессе релаксации, когда длина детали или образца должна оставаться постоянной. Особый интерес представляет влияние на релаксацию напряжений структурных превращений, связанных с уменьшением объема. В этом случае прирост напряжения за счет сокращения длины стержня (вследствие уменьшения объема) может превысить падение напряжения в процессе релаксации. В результате действующее напряжение с течением времени возрастает (отрицательная релаксация или аккумуляция напряжений).
Структурные превращения при повышенных температурах в цветных сплавах в некоторых случаях также приводят к отрицательной релаксации.
Однако далеко не во всех случаях отрицательный объемный эффект скажется подобным образом на первичных кривых напряжение — время. Необходимо также принимать во внимание относительную жаропрочность основной структуры твердого раствора и выделяющейся фазы, а также ее количество, форму и размеры выделившихся частиц. Например, мелкодисперсные карбиды, повышая сопротивление релаксации, будут действовать в том же направлении, что и уменьшение объема металла, а скоагулированные выделения, разупрочняющие сталь, — аналогично увеличению объема.
Далее, если принять, что фазы α и σ в условиях релаксации (так же, как и при ползучести) имеют меньшую жаропрочность, чем γ-твердый раствор, то при достаточно большом содержании этих фаз в структуре сплава падение напряжения в результате релаксации может превысить прирост напряжения, связанный с уменьшением объема.
Конкретным примером может служить серия хромоникельмарганцевых сталей, склонных к образованию σ-фазы в процессе длительного нагрева при 650°С, исследованных Я.С. Гинцбургом [10]. Превращение происходит с уменьшением объема. Тем не менее, первичные кривые релаксации этих сталей изгибаются не кверху, а книзу, что свидетельствует о резком релаксационном разупрочнении стали в результате образования в структуре значительных количеств σ-фазы. Подобные явления могут наблюдаться, когда во время релаксационного процесса при соответствующей температуре начинается интенсивное выпадение избыточных фаз, обладающих пониженной жаропрочностью.
Рассмотренные случаи могут быть квалифицированы как аномальные. Практически применяемые для горячего крепежа аустенитные стали, как правило, имеют достаточно устойчивый твердый раствор и аллотропические превращения обычно отсутствуют. В условиях высокотемпературной релаксации структурные изменения в таких сталях ограничиваются выделением из твердого раствора вторичных фаз — карбидных или интерметаллидных. При невозможности полностью устранить внутренние превращения в сплавах в ряде случаев можно их использовать для повышения длительной релаксационной стойкости и жаропрочности.
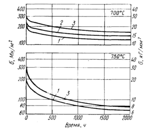
Для примера приведем аустенитную жаропрочную сталь Х15Н25В4Т (ЭИ164). В процессе испытания на релаксацию при 680—700°С в структуре предварительно закаленной и отпущенной при 750° С стали непрерывно происходит дополнительное образование вторичных фаз (в основном Ni3Тi). Поскольку частицы этого интерметаллида при указанной температуре выделяются из твердого раствора в достаточно дисперсном виде, они тормозят процесс релаксации и первичные кривые (рисунок 21,а) отражают монотонный спад напряжения.
1 — 200(20); 2 — 250(25); 3 — 300(30)
Рисунок 21 — Первичные кривые релаксации стали Х15Н25В4Т при 700°С. 750° С и
, МН/м2.
При повышении температуры до 750°С структурные превращения стали Х15Н25В4Т при длительном нагреве имеют более сложный характер. Как было показано Ю.В. Латышевым, фаза
(с кубической решеткой) частично перерождается в фазу
(с гексагональной решеткой). После 5000 ч начинается процесс обратного растворения фазы Ni3Тi, количество которой по истечении 10000 ч уменьшается почти до исходного. Одновременно в структуре непрерывно образуется интерметаллическое соединение Fe2W (типа фаз Лавеса), которое компенсирует «недостачу» в фазе Ni3Тi. Таким образом, суммарное содержание интерметаллидных фаз в стали за 5000—10000 ч не только не уменьшается, но даже незначительно возрастает (с 4,9 до 5,35%). Количество фазы Ni3Тi за то же время уменьшилось с ~4 до 2%, а количество фазы Fe2W, наоборот, возросло до 3,3%.
Описанные превращения способствуют сохранению сопротивления ползучести на достаточном уровне даже при столь высокой для стали этого класса температуре, как 750°С. Однако в условиях релаксации напряжений замена фазы Ni3Тi фазой Fe2W лишь несколько затормаживает разупрочнение стали при температуре 750°С. По истечении 1000 ч оставшееся напряжение составляет всего 35—40% от начального (рисунок 21, б). Можно полагать, что структурная нестабильность данной стали при 750°С является в условиях релаксации отрицательным фактором.
Интересные результаты дало уникальное по длительности испытание на релаксацию жаропрочного сплава Х15Н65ВМТЮ на никельхромовой основе. Сплав был испытан на релаксацию при 750°С в течение 20000 ч при начальных напряжениях, составляющих 33, 40, 50 и 60% от среднего значения предела текучести сплава при той же температуре 600 МН/м2. Термическая обработка состояла из закалки с 1180°С на воздухе и отпуска в течение 16 ч при 800°С.
Специально проведенные исследования показали, что длительный нагрев ХН65ВМТЮ при 750°С, несмотря на предшествовавший стабилизирующий отпуск, вызывает дополнительное выделение избыточной фазы типа Niз(Тi,Аl), сопровождающееся частичным перераспределением некоторых легирующих элементов между твердым раствором и избыточной фазой. Если в исходном состоянии количество последней составляет
10%, то за 5000 ч (при750°С) оно возрастает до 15,4%. В дальнейшем интенсивность выделения фазы Niз(Тi,Аl) заметно ослабевает; 77% дополнительно выделившегося количества этой фазы приходится на первые 5000 ч старения при 750°С и лишь 23% — на последующие 15000 ч. Непрерывное затухание процесса релаксации напряжений исследованного сплава связано с постепенной стабилизацией структуры и, в частности, с прекращением обеднения твердого раствора никелем и алюминием. По-видимому, стабилизация структуры сплавов с сильно легированным твердым раствором оказывает положительное влияние на длительную релаксационную стойкость. О том, что упрочнение твердого раствора в ряде случаев более эффективно, чем создание в структуре чрезмерного количества частиц избыточной фазы, говорят результаты сравнительного испытания на релаксацию при 800°С двух никельхромовых сплавов, из которых одни имел сильно легированный твердый раствор и умеренное количество вторичной (упрочняющей) фазы, а второй — менее легированный твердый раствор, но значительно большее количество той же упрочняющей фазы. В течение первых сотен часов оба сплава имели практически одинаковую релаксационную стойкость, но по истечении 1000 ч уровень оставшихся напряжений у второго сплава был ниже.
На основании изложенного можно заключить, что структурные превращения, происходящие в сплавах при температурном режиме релаксации напряжений, оказывают определенное влияние на ход процесса релаксации. Эффект дисперсионного твердения или аллотропических превращений накладывается на чисто релаксационные явления, поэтому общая картина процесса заметно усложняется.
В связи с этим естественно возникает «обратный» вопрос: может ли процесс высокотемпературной релаксации напряжений (не приводящий к разрушению) оказывать в свою очередь определенное влияние на структуру испытуемой стали (или сплава).
Аустенитные стали марок 1Х18Н9Т, 1Х14Н18В2БР и Х20Н25ВМЗМ, а также сплав ХН77ТЮ были испытаны на релаксацию напряжений при температуре 650°С, примерно отвечающей температуре 0,5
Выбранные начальные напряжения во всех случаях были ниже предела текучести, составляя
= (0,4
0,8)
.
Образцы, испытанные на релаксацию напряжений в течение 2000 ч, подвергали микроскопическому, электронномикроскопическому, фазовому, химическому и рентгеноструктурному анализам. Параллельно исследовали образцы в исходном состоянии, а также после нагрева той же длительности и температуре (при
= 0), что позволило отделить влияние температуры испытания от влияния самого процесса релаксации.
Так как различные исходные микроструктуры аустенитной стали могут обладать неодинаковой восприимчивостью к возможному влиянию процесса релаксации напряжений, кольцевые образцы перед испытаниями были подвергнуты шести вариантам термической обработки, что позволило исследовать каждую сталь в шести структурных состояниях. Последние отличались величиной зерна твердого раствора, количеством избыточной фазы и степенью ее дисперсности.
Заключение
Положительное влияние на релаксационную стойкость сплавов оказывают все факторы, повышающие сопротивление разупрочнению, уменьшающие скорость возврата и способствующие торможению диффузионных процессов, а также создающие стабильные препятствия движению дислокаций.
Таким образом, любое нарушение структурной однородности твердого раствора способствует развитию процессов релаксации. Это объясняется термодинамической неустойчивостью сплава, в котором образовались локальные участки структуры, несвойственной данным внешним (температура, давление) и внутренним (химсостав) условиям.
Можно ожидать понижения релаксационной стойкости сплава и в том случае, если в основном твердом растворе имеются концентрационные неоднородности. Последние могут возникать, например, при недостаточной выдержке стали во время термической обработки. В никельхромовых и некоторых других сплавах концентрационная неоднородность наблюдается в связи с возникновением, так называемого K-состояния.
Большое влияние на релаксационную стойкость металлов и сплавов (как и вообще на жаропрочность) оказывает величина зерна основного твердого раствора.
Для повышения релаксационной стойкости сплавов при относительно высоких температурах, в особенности при ограниченном сроке их службы, целесообразно увеличение размера зерна основной структуры; в связи с этим все виды термической обработки, приводящие к укрупнению зерна, являются предпочтительными. Однако наиболее крупное зерно почти неизбежно приводит к значительному уменьшению длительной пластичности и в ряде случаев способствует чувствительности к концентраторам напряжений. Поэтому, например, чрезмерно крупное зерно в металле крепежных деталей недопустимо.
Список использованной литературы
1. Борздыка, А.М. Релаксация напряжений в металле и сплавах / А.М. Борздыка, Л.Б. Гецов. – М.: Металлургия, 1972. – 304 с.
2. Губкин, С. И. Теория течения металлического вещества / С.И. Губкин.– М.: ОНТИ, 1935. – 234с.
3. Ровинский, Б.М. Влияние термомеханической обработки на релаксационную стойкость сталей и сплавов / Б.М. Ровинский // Известия ОТН АН СССР. – 1954. – №2. – С. 67.
4. Коттрелл, А. X. Дислокации и пластическое течение в кристаллах / А. Х. Коттрелл. – М.: Металлургиздат, 1958. – 390с.
5. Одинг, И. А. Исследования жаропрочных сталей и сплавов / И.А. Одинг, Ф. И. Алешкин // Наука. – 1964. – № 9 – С. 63.
6. Ровинский, Б.М. Релаксация напряжений / Б.М. Ровинский, В.Г. Лютцау // Известия ОТН АН СССР. – 1956. – № 11. – С. 96.
7. Петропавловская, 3. И. Релаксационная стойкость в металлах и сплавах / З.И. Петропавловская, В. А. Щенкова // Труды ЦНИИТМАШ. – 1964. –№45. – С. 29.
8. Мак Лин. Механические свойства металлов / Лин Мак. – М.: Металлургия, 1965. – 426с.
9. Одинг, И. А. Изучение явления релаксации напряжений / И. А. Одинг, А. В. Зубарев, З. Г. Фридман // Металловедение и термическая обработка металлов – 1961. – № 1. – С. 2.
10. Гинцбург, Я. С. Ограниченная ползучесть деталей машин / Я. С. Гинцбург. – М.: Машиностроение, 1968. – 249с.
11. Релаксационные явления в металлах и сплавах. – М.: Металлургиздат, 1963. – 354с.
12. Лютцау, В. Г. Методы изучения релаксационной стойкости / В. Г. Лютцау, Б. М. Ровинский // Заводская лаборатория. – 1957. – №9. – С. 61.
13. Никитина, Л. П. Новый метод изучения релаксационной стойкости / Л. П. Никитина // Заводская лаборатория. – 1963. – №11. – С. 148.
14. Бернштейн, М. Л. Термомеханическая обработка стали / М. Л. Бернштейн. – М.: Металлургия, 1968. – 568с.
15. Гинцбург Я. С. Релаксация напряжений в металлах / Я. С. Гинцбург. – М.: Машгиз, 1957. – 361с.
16. Проблемы металловедения и физики металлов (ЦНИИЧМ). – М.: Металлургиздат, 1955. – вып. IV. – 412с.
















