63325 (588928), страница 5
Текст из файла (страница 5)
Различают два типа входных сигналов готовности: асинхронный и синхронный, в соответствии с которыми предусматриваются и два типа синхронизации. Выбор типа синхронизации осуществляется по уровню напряжения на линии
. При
реализуется двухступенчатая логика синхронизации асинхронного сигнала готовности, в противном случае – одноступенчатая логика синхронизации синхронного сигнала готовности.
В случае двухступенчатой синхронизации (
) переход входного сигнала готовности из 0 в 1 будет синхронизироваться сначала по фронту, а затем по срезу CLK. Переход входного сигнала из 1 в 0 будет синхронизироваться только по срезу CLK. Такая схема синхронизации ориентирована на использование с асинхронными системными каналами с неготовым по умолчанию сигналом ответа
.
При одноступенчатой синхронизации (
) входной сигнал готовности тактируется только срезом CLK. Этот способ применим в системах, которые гарантируют синхронность формирования сигнала подтверждением обмена или готовности.
Вход
имеет встроенный резистор, подключенный к шине питания. Поэтому допускается вход
оставлять свободным, что соответствует ситуации
.
Микросхема К1810ГФ84 упакована в 18-выводный корпус типа 2104.18. Условное обозначение и распределение сигналов по выводам приведено на рисунке 1.18.
Рисунок 1.18 Условное графическое обозначение ГФ84
1.5.5 Параллельный программируемый интерфейс КР580ВВ55А
БИС КР580ВВ55А выполнена по nМОП-технологии, питается от источника +5В и потребляет ток 120 мА. Микросхема представляет собой программируемый параллельный интерфейс на 24 линии ввода/вывода с нагрузочной способностью 2,5 мА. Микросхема содержит два 8-разрядных и два 4-разрядных порта ввода/вывода, объединенных в две группы по 12 разрядов каждая. Интерфейс программируется на 3 режима работы: режим 0 – простой ввод/вывод, режим 1 – стробируемый ввод/вывод, режим 2 – двунаправленный канал ввода/вывода. В режиме 0 каждую группу из 12 линий ввода/вывода можно запрограммировать на нестробируемый ввод или вывод. В режиме 1 каждую группу можно запрограммировать на стробируемые ввод или вывод, при этом 8 выводов используются для передачи данных, а оставшиеся 4 вывода – для управления обменом. В режиме 2 используется только одна группа выводов, которая реализует двунаправленный 8-разрядный канал обмена, управляемый сигналами пяти выводов.
Микросхема организована на основе двунаправленной 8-разрядной шины данных и содержит порты ввода/вывода А, В, С, регистр управляющего слова (РУС), блок сопряжения с системной шиной. Порты А и В – 8-разрядные, порт С состоит из двух 4-разрядных портов. Порты сопрягаются с ВУ с помощью выводов портов РА7…РА0, РВ7…РВ0 и РС7…РС0, программируемых на ввод или вывод. Порт А содержит 8-разрядный выходной регистр с выходными формирователями и 8-разрядный входной регистр с входными формирователями. Он может работать на ввод или вывод 8-разрядных слов во всех трех режимах. Порт В состоит из 8-разрядного регистра ввода/вывода, входных и выходных формирователей и его можно использовать на ввод или вывод 8-разрядных слов в двух режимах: 0 и 1. Порт С состоит из двух 4-разрядных регистров (CH и CL). Каждому регистру соответствует своя группа входных и выходных формирователей, используемых для ввода/вывода 4-разрядных слов в режиме 0. При работе портов А, В в режимах 1 или 2 выводы порта С используются для приема и выдачи управляющих сигналов обмена, а регистр порта С выполняет функции регистра состояния.
Регистр управляющего слова содержит информацию, которая настраивает порты на ввод или вывод в одном из трех режимов его работы. Обмен с портами ввода/вывода и регистром управляющего слова осуществляется через трехстабильную шину данных D7...D0 под управлением сигналов, подаваемых на входы выборки
, адреса А1, А0 и чтения/записи
. При подаче на вход RES напряжения высокого уровня регистр управляющего слова устанавливается в состояние, при котором все каналы настраиваются на режим 0 для ввода информации (все шины портов А, В, С переходят в высокоомное состояние). При снятии сигнала со входа RES содержимое РУС не изменяется и соответственно не изменяется режим работы интерфейса.
БИС ориентирована на сопряжение с раздельными системными шинами. Схема ее сопряжения с системными шинами процессора К1810ВМ86 показана на рисунке 1.19.
Рисунок 1.19 Схема сопряжения ВВ55 и МП ВМ86
Выбирается БИС по сигналу, формируемому адресным селектором (АС). В схеме БИС подключена к младшим линиям шины данных и выбирается при А0 = 0. Входы А1, А0 БИС подключены к линиям А2, А1 адресной шины. Адресный селектор дешифрирует адрес с линий А15…А3 адресной шины, обеспечивая доступ совместно с линиями А2, А1 к адресному пространству объемом 64 Кбайта. При размещении БИС на линиях D15...D8 шины данных для разрешения селектора используется сигнал выборки старшего байта с линии
.
Режим работы и направление обмена с ВУ программируется управляющими словами. Управляющее слово режима устанавливает режимы работы групп А или В и режим ввода или вывода для каждого порта. Управляющее слово поразрядной установки/сброса порта С используется для поразрядного ввода информации и для начальной установки состояния отдельных разрядов порта С при его использовании для управления обменом в режимах 1, 2. Управляющие слова выводятся на интерфейс при А1, А0 = 11 и различаются значением разряда 7 (1 – управляющее слово режима, 0 – управляющее слово установки/сброса порта С). Режимы работы портов А и В устанавливаются автономно и независимо, а режим работы порта С зависит от режимов работы каналов А и В. При каждом изменении режима работы любого из портов все входные регистры портов сбрасываются в состояние логического 0. При установке режимов 1, 2 это приводит к обнулению всех разрядов регистра состояния (регистра порта С), и поэтому необходимо осуществлять требуемую начальную установку разрядов порта в соответствии с режимом работы портов А, В.
Программное обеспечение ввода/вывода через интерфейс на БИС КР580ВВ55А содержит программу начальной установки БИС (программирование режима и направления обмена), обычно располагаемую в подпрограмме инициализации, и подпрограммы ввода/вывода. Для программирования БИС в системе на БИС К1810 необходимо сформировать управляющее слово в регистре-аккамуляторе и выполнить его вывод по адресу БИС КР580ВВ55А при А1, А0 = 11 (РУС) в области ВУ объемом 256 байт. При расположении БИС в полном объеме адресного пространства ВУ 64 Кбайт перед выводом управляющего слова необходимо сформировать адрес ВУ в регистре DX.
Программирование ППИ КР580ВВ55А в системе команд МП 1810
MOV DX,PPIRCW ; Формирование адреса РУС ППИ
MOV AL,ICW ; Формирование управляющего слова
OUT DX,AL ; Вывод на ППИ
1.5.4 АЦП К1113ПВ1
Известно большое число методов аналого-цифрового преобразования, существенно отличающихся друг от друга потенциальной точностью, скоростью преобразования и сложностью аппаратной реализации. По методам преобразования АЦП подразделяются на последовательные, параллельные и последовательно–параллельные. Недостатком последовательных АЦП является низкая помехоустойчивость результатов преобразования.
БИС АЦП К1113ПВ1 выполнена по nМОП-технологии, питается от источников питания +5В и -15В и потребляет токи 10 и 18 мА соответственно. Микросхема, выбранная для проектируемого устройства, представляет собой функционально законченный 10-разрядный АЦП последовательного приближения с временем преобразования 30 мкс.
Назначение выводов БИС показано на рисунке 1.20.
Рисунок 1.20 Назначение выводов К1113ПВ1
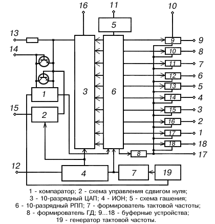
АЦП обеспечивает преобразование как однополярного напряжения (вывод 15 соединяется с выводом 16) в диапазоне 0...9,95 В, так и биполярного напряжения в диапазоне -4,975...+4,975 В в параллельный двоичный код. В состав ИС входят ЦАП, компаратор напряжения регистр последовательного приближения (РПП), источник опорного напряжения (ИОН), генератор тактовых импульсов (ГТИ), выходной буферный регистр с тремя состояниями, схемы управления. Выходные каскады с тремя состояниями позволяют считывать результат преобразования непосредственно на шину данных микропроцессора или микроконтроллера. По уровням входных и выходных логических сигналов сопрягаются с ТТЛ схемами. В ИС выходной ток ЦАП сравнивается с током входного резистора от источника сигнала и формируется логический сигнал РПП. Стабилизация разрядных токов ЦАП осуществляется встроенным ИОН. Тактирование РПП обеспечивается импульсами встроенного ГТИ с частотой следования 300...400 кГц. Установка РПП в исходное состояние и запуск его в режим преобразования производится по внешнему сигналу "гашение и преобразование". По окончанию преобразования АЦП вырабатывает сигнал "готовность данных" и информация из РПП поступает на цифровые входы через каскады с тремя состояниями. Корпус К1113ПВ1(A-B) типа 2104.18-1, масса не более 2,5 г, 1113ПВ1(A-B) типа 238.18-1, масса не более 2,5 г.
На рисунке 1.21 приведена функциональная схема АЦП.
Рисунок 1.21 Функциональная схема АЦП
В таблице 1.4 приведены электрические параметры устройства.
Таблица 1.4
| 1 | Номинальное напряжение питания Uп1 Uп2 | 5 В |
| 2 | Выходное напряжение низкого уровня | не более 0,4 В |
| 3 | Выходное напряжение высокого уровня | не менее 2,4 В |
| 4 | Напряжение смещения нуля в однополярном и биполярном режимах от полной шкалы | |
| 5 | Ток потребления от источника питания Uп1 от источника питания Uп2 | не более 10 мА не более 18 мА |
| 6 | Входной ток высокого (низкого) уровня | |
| 7 | Ток утечки на выходе | |
| 8 | Время преобразования | не более 30 мкс |
| 9 | Нелинейность от полной шкалы 1113ПВ1А 1113ПВ1Б 1113ПВ1В К1113ПВ1А К1113ПВ1Б К1113ПВ1В | |
| 10 | Абсолютная погрешность преобразования в конечной точке шкалы от полной шкалы | |
Зарубежными аналогами данной микросхемы AD571S, AD571K но эти микросхемы ни чем не превосходят отечественные преобразователи.
1.6 Принцип работы аппаратно-программных средств проектируемой системы
















