47269 (588471), страница 8
Текст из файла (страница 8)
Переход к четырем конвейерам возможен, но это потребовало бы создания громоздкого аппаратного обеспечения. Вместо этого используется другой подход. Основная идея — один конвейер с большим количеством функциональных блоков, как показано па рис. 2.5. Pentium II, к примеру, имеет сходную структуру. В 1987 году для обозначения этого подхода был введен термин суперскалярная архитектура. Однако подобная идея нашла воплощение еще более 30 лет назад в компьютере CDC 6600. CDC 6600 вызывал команду из памяти каждые 100 не и помещал ее в один из 10 функциональных блоков для параллельного выполнения. Пока команды выполнялись, центральный процессор вызывал следующую команду.
Стадия 3 выпускает команды значительно быстрее, чем стадия 4 способна их выполнять. Если бы стадия 3 выпускала команду каждые 10 не, а все функциональные блоки выполняли бы свою работу также за 10 не, то на четвертой стадии всегда функционировал бы только один блок, что сделало бы саму идею конвейера бессмысленной. В действительности большинству функциональных блоков четвертой стадии для выполнения команды требуется значительно больше времени, чем занимает один цикл (это блоки доступа к памяти и блок выполнения операций с плавающей точкой). Как видно из рис. 2 5, на четвертой стадии может быть несколько АЛУ.
2.7 Параллелизм на уровне процессоров
Спрос на компьютеры, работающие все с более и более высокой скоростью, не прекращается. Астрономы хотят выяснить, что произошло в первую микросекунду после большого взрыва, экономисты хотят смоделировать всю мировую экономику, подростки хотят играть в 3D интерактивные игры со своими виртуальными друзьями через Интернет. Скорость работы процессоров повышается, но у них постоянно возникают проблемы с быстротой передачи информации, поскольку скорость распространения электромагнитных волн в медных проводах и света в оптико-волоконных кабелях по-прежнему остается 20 см/нс, независимо от того, насколько умны инженеры компании Intel. Кроме того, чем быстрее работает процессор, тем сильнее он нагревается, и нужно предохранять его от перегрева.
Параллелизм на уровне команд помогает в какой-то степени, но конвейеры и суперскалярная архитектура обычно увеличивают скорость работы всего лишь в 5-10 раз. Чтобы улучшить производительность в 50, 100 и более раз, нужно разрабатывать компьютеры с несколькими процессорами.
2.7.1 Векторные компьютеры
Многие задачи в физических и технических науках содержат векторы, в противном случае они имели бы очень сложную структуру. Часто одни и те же вычисления выполняются над разными наборами данных в одно и то же время. Структура этих программ позволяет повышать скорость работы благодаря параллельному выполнению команд. Существует два метода, которые используются для быстрого выполнения больших научных программ. Хотя обе схемы во многих отношениях схожи, одна из них считается расширением одного процессора, а другая — параллельным компьютером.
Массивно-параллельный процессор (array processor) состоит из большого числа сходных процессоров, которые выполняют одну и ту же последовательность команд применительно к разным наборам данных. Первым в мире таким процессором был ILLIAC IV (Университет Иллинойса). Он изображен на рис. 2.6. Первоначально предполагалось сконструировать машину, состоящую из четырех секторов, каждый из которых содержит решетку 8x8 элементов процессор/память. Для каждого сектора имелся один блок контроля. Он рассылал команды, которые выполнялись всеми процессорами одновременно, при этом каждый процессор использовал свои собственные данные из своей собственной памяти (загрузка данных происходила во время инициализации). Из-за очень высокой стоимости был построен только один такой сектор, но он мог выполнять 50 млн операций с плавающей точкой в секунду. Если бы при создании машины использовалось четыре сектора и она могла бы выполнять 1 млрд операций с плавающей точкой в секунду, то мощность такой машины в два раза превышала бы мощность компьютеров всего мира.
Рисунок 2.6 - Массивно-параллельный процессор ILLIAC IV
Для программистов векторный процессор (vector processor) очень похож на массивно-параллельный процессор (array processor). Как и массивно-параллельный процессор, он очень эффективен при выполнении последовательности операций над парами элементов данных. Но, в отличие от первого (array processor), все операции сложения выполняются в одном блоке суммирования, который имеет конвейерную структуру. Компания Cray Research, основателем которой был Сеймур Крей, выпустила много векторных процессоров, начиная с модели Cray-1 (1974) и по сей день. Cray Research в настоящее время входит в состав SGI.
Оба типа процессоров работают с массивами данных. Оба они выполняют одни и те же команды, которые, например, попарно складывают элементы для двух векторов. Но если у массивно-параллельного процессора (array processor) есть столько же суммирующих устройств, сколько элементов в массиве, векторный процессор (vector processor) содержит векторный регистр, который состоит из набора стандартных регистров. Эти регистры последовательно загружаются из памяти при помощи одной команды. Команда сложения попарно складывает элементы двух таких векторов, загружая их из двух векторных регистров в суммирующее устройство с конвейерной структурой. В результате из суммирующего устройства выходит другой вектор, который или помещается в векторный регистр, или сразу используется в качестве операнда при выполнении другой операции с векторами.
Массивно-параллельные процессоры (array processor) выпускаются до сих пор, но занимают незначительную сферу компьютерного рынка, поскольку они эффективны при решении только таких задач, которые требуют одновременного выполнения одних и тех же вычислений над разными наборами данных. Массивно-параллельные процессоры (array processor) могут выполнять некоторые операции гораздо быстрее, чем векторные компьютеры (vector computer), но они требуют большего количества аппаратного обеспечения, и для них сложно писать программы. Векторный процессор (vector processor), с другой стороны, можно добавлять к обычному процессору. В результате те части программы, которые могут быть преобразованы в векторную форму, выполняются векторным блоком, а остальная часть программы — обычным процессором.
2.7.2 Мультипроцессоры
Элементы массивно-параллельного процессора связаны между собой, поскольку их работу контролирует один блок управления. Система нескольких параллельных процессоров, разделяющих общую память, называется мультипроцессором. Поскольку каждый процессор может записывать или считывать информацию из любой части памяти, их работа должна согласовываться программным обеспечением, чтобы не допустить каких-либо пересечений.
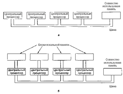
Возможны разные способы воплощения этой идеи. Самый простой из них — наличие одной шины, соединяющей несколько процессоров и одну общую память. Схема такого мультипроцессора показана на рис. 2.7а. Такие системы производят многие компании.
Нетрудно понять, что при наличии большого числа быстро работающих процессоров, которые постоянно пытаются получить доступ к памяти через одну и ту же шину, будут возникать конфликты. Чтобы разрешить эту проблему и повысить производительность компьютера, были разработаны различные модели. Одна из них изображена на рис. 2.7б. В таком компьютере каждый процессор имеет свою собственную локальную память, которая недоступна для других процессоров. Эта память используется для программ и данных, которые не нужно разделять между несколькими процессорами. При доступе к локальной памяти главная шина не используется, и, таким образом, поток информации в этой шине снижается. Возможны и другие варианты решения проблемы (например, кэш-память).
Рис. 2.7. Мультипроцессор с одной шиной и одной общей памятью (а); мультипроцессор,в котором для каждого процессора имеется собственная локальная память (б)
Мультипроцессоры имеют преимущество перед другими видами параллельных компьютеров, поскольку с единой разделенной памятью очень легко работать. Например, представим, что программа ищет раковые клетки на сделанном через микроскоп снимке ткани. Фотография в цифровом виде может храниться в общей памяти, при этом каждый процессор обследует какую-нибудь определенную область фотографии. Поскольку каждый процессор имеет доступ к общей памяти, обследование клетки, которая начинается в одной области и продолжается в другой, не представляет трудностей.
2.7.3 Мультикомпьютеры
Мультипроцессоры с небольшим числом процессоров (< 64) сконструировать довольно легко, а вот создание больших мультипроцессоров представляет некоторые трудности. Сложность заключается в том, чтобы связать все процессоры с памятью. Чтобы избежать таких проблем, многие разработчики просто отказались от идеи разделенной памяти и стали создавать системы, состоящие из большого числа взаимосвязанных компьютеров, у каждого из которых имеется своя собственная память, а общей памяти нет. Такие системы называются мультикомпьютерами.
Процессоры мультикомпьютера отправляют друг другу послания (это несколько похоже на электронную почту, но гораздо быстрее). Каждый компьютер не обязательно связывать со всеми другими, поэтому обычно в качестве топологий используются 2D, 3D, деревья и кольца. Чтобы послания могли дойти до места назначения, они должны проходить через один или несколько промежуточных компьютеров. Тем не менее время передачи занимает всего несколько микросекунд. Сейчас создаются и запускаются в работу мультикомпьютеры, содержащие около 10 000 процессоров.
Поскольку мультипроцессоры легче программировать, а мультикомпьютеры — конструировать, появилась идея создания гибридных систем, которые сочетают в себе преимущества обоих видов машин. Такие компьютеры представляют иллюзию разделенной памяти, при этом в действительности она не конструируется и не требует особых денежных затрат.
3 ЭВОЛЮЦИЯ МИКРОПРОЦЕССОРНЫХ СИСТЕМ
3.1 Основные направления развития
Несмотря на то, что сегодня известно множество способов повышения производительности микропроцессоров с суперскалярной архитектурой, имеется также ряд препятствий и ограничений, исключающих возможность дальнейшего наращивания быстродействия. В данной главе показаны способы повышения производительности суперскалярных микропроцессоров на примере архитектур Alpha 21364 и Power4. Разбираются вопросы перехода к принципиально новой, так называемой мультитредовой архитектуре, позволяющей существенно изменить возможности нынешних микропроцессоров.
История развития микропроцессоров в полной мере подчиняется диалектике эволюционного усовершенствования архитектуры. Начиная от машины ENIAC, содержавшей 19 тыс. ламп, производительность компьютеров росла на порядок каждые пять лет. Большое число транзисторов на современном кристалле делает возможным применить в одном микропроцессоре все известные способы повышения производительности, сообразуясь только с их совместимостью. Однако для полного использования возможностей аппаратуры уже недостаточно ограничиться только аппаратно реализованными алгоритмами управления, достаточно единообразно функционирующими во всех ситуациях. Поэтому при реализации усложненной логики управления используется программное обеспечение, для поддержки которого вводятся дополнительные команды и регистры управления микропроцессора. В свою очередь, формирование программ для потактного управления микропроцессором под силу только компилятору. Таким образом, в современных микропроцессорах возник симбиоз программных и аппаратных средств. Этот симбиоз представляет собой нечто большее, нежели эволюционный ход развития, а смену самого направления развития микропроцессоров, выражающуюся в переходе к мультитредовым и многопроцессорным архитектурам.
С позиции реализации такого симбиоза открываются следующие способы повышения производительности:
-
увеличение емкости памяти внутри кристалла;
-
увеличение количества арифметико-логических устройств;
-
введение блоков обработки мультимедийных данных, ранее использовавшихся, например, в сигнальных микропроцессорах;
-
интеграция на кристалле функций управления памятью и периферийными устройствами, для исполнения которых в традиционных микропроцессорах используются наборы микросхем («чипсеты»);
-
интеграция на кристалле интерфейсов сетевых и телекоммуникационных систем, что позволяет соединять эти микропроцессоры друг с другом и телекоммуникационными и вычислительными сетями без дополнительных адаптеров.
3.2 Увеличение объема внутрикристальной памяти
3.2.1 Организация внутрикристальной памяти
Современное состояние микроэлектроники характеризуется растущим разрывом между скоростью обработки данных в микропроцессорах и быстродействием внекристальной оперативной памяти. Можно уже говорить о том, что время выполнения однотактной команды микропроцессора на порядок и более меньше времени доступа к памяти вне кристалла. В таких условиях прибегают к построению многоуровневой иерархической памяти с использованием внутрикристальной кэш-памяти и применению мультитредовой архитектуры МТА, в которой задержка доступа в память в одном процессе «скрывается» за временем выполнения других процессов.
















