5209 (585185), страница 10
Текст из файла (страница 10)
Радиус зоны защиты на уровне земли:
r0=1,7 · h, м (3.36)
1 – граница зоны защиты на уровне высоты здания;
2 – граница зоны защиты на уровне земли;
3 – защищаемый объект – газофракционирующая установка;
4 – опоры молниеотвода.
Рисунок 3.3 - Общий вид молниезащиты газофракционирующей установки.
Для зоны Б высота одиночного тросового молниеотвода при известных значениях высоты здания и половин ширины определяют по формуле:
h=(rх+1,85·hх)/1,7, м (3.37)
Высота тросового молниеотвода h=(15+1,85·21,4)/1,7=32 м.
Так как для II категории молниезащиты при установке отдельно стоящих молниеотводов расстояние от них по воздуху и в земле до защищаемого объекта и вводимых в него подземных коммуникаций не нормируется, то опоры расположим у торцов установки. Тогда длина пролета троса а=150+2·0=150 м.
Высота опор составляет hоп =32-3=29 м.
Высота зоны защиты hо=0,92 · 32 = 29,4 м.
Радиус зоны защиты на уровне земли r0=1,7 · 12,8 = 54,4 м.
Для устойчивого положения опор их основания закреплены четырьмя железобетонными сваями (каждая), которые и выполняют роль заземлителей. что железобетонные сваи должны быть заглублены не менее, чем на 5 метров, а их диаметр находится в диапазоне 0,25÷0,4 метра.
Значит, параметры конструкции стержневого молниеотвода, обеспечивающего молниезащиту газофракционирующей установки:
-
высота торосового молниеотвода – 32 м;
-
высота опоры – 29 м;
-
Длина пролета троса 150 м;
-
высота зоны защиты – 29,4 м;
-
радиус зоны защиты – 54,4 м.
3.5.2 Разработка автоматической системы пожаротушения
Системы пожаротушения предназначены для предотвращения, ограничения развития, тушения пожара, а также защиты от пожара людей и материальных ценностей. Одним из самых надежных средств для решения этих задач являются системы автоматического пожаротушения, которые в отличие от систем ручного пожаротушения и систем, управляемых оператором, приводятся в действие пожарной автоматикой по объективным показаниям и обеспечивают оперативное тушение очага возгорания без участия человека.
Установка пожаротушения или противопожарная установка - это совокупность стационарных технических средств для тушения пожара за счет выпуска огнетушащего вещества. Конструктивно автоматические установки пожаротушения состоят из резервуаров или других источников, наполненных необходимым количеством огнетушащего состава, устройств управления и контроля, системы трубопроводов и насадков-распылителей. Количество распылителей, длины и сечение трубопроводов, требуемое количество огнетушащего вещества определяются тщательными расчётами.
Подразделяются системы автоматического пожаротушения, прежде всего, по используемому огнетушащему веществу:
газовое пожаротушение (СО2, аргон, азот, хладоны);
водяное пожаротушение (вода);
пенное пожаротушение и водопенное пожаротушение (вода с пенообразователями);
порошковое пожаротушение (порошки специального химического состава);
аэрозольные системы пожаротушения (подобны порошкам, но частицы на порядок меньше по размерам);
системы тонкодисперсной воды (тонкораспыленной воды) [24].
3.5.2.1 Огнетушащие средства, используемые при тушении сжиженных углеводородных газов
Для подавления процесса горения можно снижать содержание горючего компонента, окислителя (кислорода воздуха), снижать температуру процесса или увеличивать энергию активации реакции горения. В соответствии с этим в настоящее время при тушении пожаров используют один из следующих основных способов:
- изоляцию очага горения от воздуха или снижение путем разбавления воздуха негорючими газами, концентрации кислорода в воздухе до значения, при котором не может происходить процесс горения;
- охлаждение очага горения ниже определенных температур (температур самовоспламенения, воспламенения и вспышки горючих веществ и материалов);
- интенсивное ингибирование (торможение) скорости химической реакции окисления;
- механический срыв пламени в результате воздействия на него сильной струи газа или жидкости;
- созданием условий огнепреграждения.
Для тушения горящих СУГ используется наиболее распространенный способ, которым является охлаждение зоны горения. Сущность его заключается в охлаждения горящих веществ до температуры ниже температуры их воспламенения. При небольшом очаге пожара можно применить способ изоляции реагирующих веществ, за счет разобщения зоны горения от воздуха слоем какого-либо воздухонепроницаемого материала. Для этого применяются твердые листовые изолирующие материалы (войлок, асбестовая и обычная ткань) или сыпучие негорючие материалы (песок, тальк, различные флюсы).
Для тушения СУГ применяются следующие огнетушащие составы и средства [19]:
- газовые составы: инертные разбавители (N2, СО2);
- галогеноуглеводороды, порошки;
- вода аэрозольного распыла с добавками и без;
- вода как средство охлаждения;
- газо-аэрозольные составы.
Инертные разбавители применяются для объемного тушения. Они оказывают разбавляющее действие, уменьшая концентрацию кислорода ниже нижнего концентрационного предела горения. К наиболее широко используемым инертным разбавителям относятся азот, углекислый газ и различные галогеноуглеводороды. Эти средства используются, если более доступные огнетушащие вещества, такие как вода, пена оказываются малоэффективными.
В последнее время для тушения пожаров все более широко применяют огнетушащие порошки. Они могут применяться для тушения пожаров твердых веществ, различных горючих жидкостей, газов, металлов, а также установок, находящихся под напряжением. Следует отметить, что порошковыми составами можно ликвидировать горение сравнительно небольших объемов и площадей, поэтому они используются для зарядки ручных и переносных огнетушителей. Порошки рекомендуется применять в начальной стадии пожаров.
Наиболее простым, дешевым и доступным средством пожаротушения является вода, которая подается в зону горения в виде компактных сплошных струй или в распыленном виде. Вода, обладая высокой теплоемкостью и теплотой испарения, оказывает на очаг горения сильное охлаждающее действие. Кроме того, в процессе испарения воды образуется большое количество пара, который будет оказывать изолирующее действие на очаг пожара. К недостаткам воды следует отнести плохую смачиваемость и проникающую способность по отношению к ряду материалов. Для улучшения тушащих свойств воды к ней можно добавлять поверхностно- активные вещества. Воду нельзя применять для тушения ряда металлов, их гидридов, карбидов, а также электрических установок.
Пены являются широко распространенным, эффективным и удобным средством тушения пожаров. Существуют различные классификации пен, например по устойчивости, кратности, основе пенообразователя и т. п. По способу образования пены можно подразделять на химическую, газовая фаза которой получается в результате химической реакции; и газомеханическую (воздушно-механическую), газовая фаза которой образуется за счет принудительной подачи воздуха или иного газа. Химическая пена, образующаяся при взаимодействии растворов кислот и щелочей в присутствии пенообразователей, используется в настоящее время только в отдельных видах огнетушителей [20].
3.5.2.2 Автоматические стационарные установки пожаротушения
Автоматические стационарные установки пожаротушения в зависимости от используемых огнетушащих веществ подразделяют на водяные, пенные, газовые и порошковые.
Для тушения пожаров сжиженных газов целесообразней использовать автоматические установки водяного и пенного пожаротушения [20,21]
Принципиальная схема комбинированной установки для тушения пожаров в резервуарах представлена на рисунке 3.4.
В случае если система пожарной защиты полностью автоматизирована, ее пуск осуществляется от пожарных датчиков. Полуавтоматические установки пожаротушения могут включаться вручную. Для включения системы или установки должны применяться задвижки, управляемые дистанционно.
В качестве пожарных датчиков используются приборы обнаружения оптического излучения пламени, так как они являются наиболее чувствительными и быстродействующими [23].
3.5.2.3 Расчет расхода раствора пенообразователя
Расчет расхода раствора пенообразователя на тушение пожара определяется исходя из интенсивности подачи раствора пенообразователя на 1 м2 расчетной площади тушения и времени тушения.
Расчетную площадь тушения принимают равной площади горизонтального сечения резервуара.
S = πD2/4, (3.38)
где D – диаметр резервуара,м.
Диаметр резервуара D=2 м. Расчетная площадь тушения равна 3,14 м2.
Расход раствора пенообразователя Woв на тушение пожара определяется по формуле:
Woв = Io S τКз, (3.39)
где Io— оптимальный удельный расход (интенсивность подачи) раствора пенообразователя, для сжиженного пропана - 0,08 л/(м2∙с);
S —расчетная площадь пожара, м2;
τ—расчетная продолжительность работы средств АПЗ, с;
Кз—коэффициент запаса (принимается 1,2).
Расчетное время тушения пожара для систем автоматического пенного пожаротушения - 10 мин [23].
Расход раствора пенообразователя на тушение пожара при горении резервуара с сжиженным пропаном составит:
Woв. = 0,08·3,14·600·1,2 = 181 л;
Таким образом, по проведенным расчетам расход раствора пенообразо-вателя на тушение пожара автоматической системой пенного пожаротушения при горении резервуара с сжиженным пропаном составит 181 л.
3.5.2.4 Расчет расхода воды на охлаждение резервуаров
Для предотвращения взрыва горящего резервуара и возгорания соседних резервуаров применяют охлаждение их водой. Каждый резервуар оборудуется распылителем воды.
Расход воды на охлаждение горящего и смежных резервуаров определяется по следующей формуле:
qвохл = π ·(Ігв·Dгр + 0,5 ·Ісмв·Dсмр ·n), (3.40)
где Ігв- расход воды на 1м длины окружности горящего резервуара, принимаемый равным 0,5 л/(м2·с);
Ісмв- расход воды на 1м длины окружности смежного резервуара, принимаемый равным 0,2 л/(м2·с);
Dгр ,Dсмр- диаметры горящего и смежных резервуаров, м;
n- число смежных резервуаров;
Тогда получим:
qвохл=3,14· (0,5·2+0,5·0,2·2·2)=5,18 л/с.
Следовательно, расход воды для охлаждения горящего и соседних с ним резервуаров составит – 5,18 л/с.
3.5.2.5 Расчет количества пенообразующих устройств
В качестве пенообразующих устройств, для пенной системы пожаротушения применяют пеногенераторы.
Число потребных для защиты резервуара пеногенераторов nг определяется по формуле:
nг=0,785D2p·Ip/qгp, (3.41)
где Dp- диаметр резервура, м;
Ip- удельный расход раствора, л/(м2·с), для сжиженного пропана - 0,08 л/(м2∙с);
qгp- производительность генератора пены по раствору, л/с, принимается равным для пеногенератора ГВП 2 л/с [3]. Тогда получим:
nг= 0,785·22·0,08/2=1
Следовательно, количество пенообразующих устройств (пеногенераторов) на один резервуар составит 1 штуку.
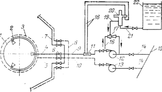
1 - резервуар; 5 - пенная камера с ГВП; 3 - кольцо водяного орошения; 4 - трубопровод. для подачи пенообразующего раствора в ГВП; 5 - трубопровод для подачи воды в кольцевой ороситель; 6 - задвижка; 7 - коллектор раствора; 8 - водяной коллектор; 9 - магистральный трубопровод для подачи раствора; 10 -магистральный трубопровод для подачи воды; 11 - сопло Вентури; 12, 13 -насосы; 14 - всасывающая линия насоса; 15 - водопровод; 16 - циркуляционные трубы смесители; 17 - смеситель; 18 - трубки для управления дозатором; 19 - труба для подачи пенообразователя к смесителю; 20 - автоматический дозатор; 21 - труба для подачи пенообразователя к автоматическому дозатору; 22 - бак с пенообразователем.
Рисунок 3.3 - Принципиальная схема комбинированной системы установки для тушения пожаров в резервуарах с нефтепродуктами многократной воздушно-механической пеной и орошением резервуара водой
3.5.3 Системы автоматической пожарной сигнализации
Автоматическая пожарная сигнализация является важной мерой предотвращения крупных пожаров. При отсутствии пожарной сигнализации от момента обнаружения пожара до вызова пожарных подразделений проходит большой промежуток времени, что в большинстве случаев приводит к полному охвату помещения пламенем. Основная задача автоматической пожарной сигнализации - обнаружение начальной стадии пожара, передача извещения о месте и времени его возникновения и при необходимости включения автоматических систем пожаротушения и дымоудаления.
Функционально автоматическая пожарная сигнализация состоит из приемно-контрольной станции, которая через сигнальные линии соединена с пожарными извещателями. Задачей сигнальных извещателей является преобразование различных проявлений пожара в электрические сигналы. Приемно-контрольная станция после получения сигнала от первичного извещателя включает световую и звуковую сигнализацию и при необходимости автоматические установки пожаротушения и дымоудаления.
Скорость срабатывания автоматической пожарной сигнализации в основном определяется скоростью срабатывания первичных извещателей. В настоящее время наиболее часто используют тепловые, дымовые, световые и звуковые пожарные извещатели.
Тепловые извещатели по принципу действия разделяются на максимальные, дифференциальные и максимально-дифференциальные. Первые срабатывают при достижении определенной температуры, вторые - при определенной скорости нарастания температуры, а третьи - от любого значительного изменения температуры. В качестве чувствительных элементов применяют легкоплавкие замки, биметаллические пластины, трубки, заполненные легко расширяющейся жидкостью, термопары и т. д. Тепловые пожарные извещатели устанавливают под потолком в таком положении, чтобы тепловой поток, обтекая чувствительный элемент извещателя, нагревал его. Тепловые пожарные извещатели не обладают высокой чувствительностью, поэтому обычно не дают ложных сигналов срабатывания в случае увеличения температуры в помещении при включении отопления, выполнения технологических операций.
















