151132 (580539)
Текст из файла
КОНТРОЛЬНАЯ РАБОТА
НА ТЕМУ:
«ЭЛЕКТРИЧЕСКИЕ ИЗМЕРЕНИЯ»
Введение
Развитие науки и техники всегда было тесно связано с прогрессом в области измерений. Большое значение измерений для науки подчёркивали некоторые учёные.
Г. Галилей: «Измеряй всё доступное измерению и делай доступное всё недоступное ему».
Д.И. Менделеев: «Наука начинается с тех пор, как начинают измерять, точная наука немыслима без меры».
Кельвин: «Каждая вещь известна лишь в той степени, в какой её можно измерить».
Измерения являются одним из основных способов познания природы, её явлений и законов. Каждому, новому открытию в области естественных и технических наук предшествует большое число различных измерений. (Г. Ом – закон Ома; П. Лебедев – давление света).
Важную роль играют измерения в создании новых машин, сооружений, повышении качества продукции. Например, во время испытания стендового крупнейшего в мире турбогенератора 1200 МВт, созданного на Ленинградском объединении «Электросила», измерения производились в 1500 различных его точках.
Особо важную роль играют электрические измерения как электрических так и не электрических величин.
Первый в мире электроизмерительный прибор «указатель электрической силы» был создан в 1745 году, академиком Г.В. Рохманом, соратником М.В. Ломоносова.
Это был электрометр – прибор для измерения разности потенциалов. Однако только со второй половины XIX века в связи с созданием генераторов электрической энергии остро встал вопрос о разработке различных электроизмерительных приборов.
Вторая половина XIX века, начало XX века, – русский электротехник М.О. Доливо-добровольский разработал амперметр и вольтметр, электромагнитный системы; индукционный измерительный механизм; основы ферродинамических приборов.
Тогда же – русский физик А.Г. Столетов – закон изменения магнитной проницаемости, её измерение.
Тогда же – академик Б.С. Якоби – приборы для измерения сопротивления электрической цепи.
Тогда же – Д.И. Менделеев – точная теория весов, введение в России метрической системы мер, организация отделения по проверке электроизмерительных приборов.
1927 год – Ленинград построен первый отечественный приборостроительный завод «Электроприбор» (сейчас – Вибратор выпуск счётчиков).
30 годы – построены приборостроительные заводы в Харькове, Ленинграде, Москве, Киеве и в других городах.
С 1948 по 1967 год объём продукции приборостроения возрос в 200 раз.
В последующих пятилетках развитие приборостроения идёт неизменно опережающими темпами.
Основные достижения:
-
Аналоговые приборы непосредственной оценки улучшенных свойств;
-
Узко профильные аналоговые сигнализирующие контрольные приборы;
-
Прецизионные полуавтоматические конденсаторы, мосты, делители напряжения, другие установки;
-
Цифровые измерительные приборы;
-
Применение микропроцессоров;
-
Измерительный компьютер.
Современное производство немыслимо без современных средств измерений. Электроизмерительная техника постоянно совершенствуется.
В приборостроении широко используется достижения радиоэлектроники, вычислительной техники, и другие достижения науки и техники. Всё чаще применяют микропроцессоры и микро ЭВМ.
Изучение курса «Электрических измерений» ставит цель:
-
Изучение устройства и принцип действия электроизмерительных приборов;
-
Классификация измерительных приборов, знакомство с условными обозначениями на шкалах приборов;
-
Основные методики измерений, подбор тех или иных измерительных приборов в зависимости от измеряемой величины и требования к измерению;
-
Ознакомление с основными направлениями современного приборостроения.
1. Основные понятия, методы измерений и погрешностей
Измерением называется нахождение значений физической величины опытным путём с помощью специальных технических средств.
Измерения должны выполняться в общепринятых единицах.
Средствами электрических измерений называются технические средства, использующиеся при электрических измерениях.
Различают следующие виды средств электрических измерений:
– Меры;
– Электроизмерительные приборы;
– Измерительные преобразователи;
– Электроизмерительные установки;
– Измерительные информационные системы.
Мерой называется средство измерений, предназначенное для воспроизведения физической величины заданного размера.
Электроизмерительным прибором называется средство электрических измерений, предназначенное для выработки сигналов измерительной информации в форме доступной непосредственного восприятия наблюдателя.
Измерительным преобразователем называется средство электрических измерений, предназначенное для выработки сигналов измерительной информации в форме удобной для передачи, дальнейшего преобразования, хранения, но не поддающейся непосредственному восприятию.
Электроизмерительная установка состоит из ряда средств измерений и вспомогательных устройств. С её помощью можно производить более точные и сложные измерения, поверку и градуировку приборов и т.д.
Измерительные информационные системы представляют собой совокупность средств измерений и вспомогательных устройств. Предназначены для автоматического получения измерительной информации от ряда её источников, для её передачи и обработки.
Классификация измерений:
а). В зависимости от способа получения результата прямые и косвенные:
Прямыми называются измерения, результат которых получается непосредственно из опытных данных (измерение тока амперметром).
Косвенные называются измерения, при которых искомая величина непосредственно не измеряется, а находится в результате расчёта по известным формулам. Например: P=U·I, где U и I измерены приборами.
б). В зависимости от совокупности приёмов использования принципов и средств измерений все методы делятся на методы непосредственной оценки и методы сравнения.
Метод непосредственной оценки – измеряемая величина определяется непосредственно по отсчётному устройству измерительного прибора прямого действия (измерение тока амперметром). Этот метод прост, но отличается низкой точностью.
Метод сравнения – измеряемая величина сравнивается с известной (например: измерение сопротивления путём сравнения его с мерой сопротивления – образцовой катушкой сопротивления). Метод сравнения подразделяют на нулевой, дифференциальный и замещения.
Нулевой – измеряемая и известная величина одновременно воздействуют на прибор сравнения, доводя его показания до нуля (например: измерение электрического сопротивления уравновешенным мостом).
Дифференциальный – прибор сравнения измеряет разность между измеряемой и известной величиной.
Метод замещения – измеряемая величина заменяется в измерительной установке известной величиной.
Этот метод наиболее точен.
Погрешности измерений
Результаты измерения физической величины дают лишь приближённое её значение вследствие целого ряда причин. Отклонение результата измерения от истинного значения измеряемой величины называется погрешностью измерения.
Различают абсолютную и относительную погрешность.
Абсолютная погрешность измерения равна разности между результатом измерения Аи и истинным значением измеряемой величины А:
ДА=Аи‑А
Поправка: дА=А–Аи
Таким образом, Истинное значение величины равно: А=Аи+дА.
О погрешности можно узнать, сравнивая показания прибора с показаниями образцового прибора.
Относительная погрешность измерения гА представляет собой отношение абсолютной погрешности измерения к истинному значению измеряемой величины, выраженное в %:
%
Пример: Прибор показывает U=9,7 В. Действительное значение U=10 В определить ДU и гU:
ДU=9,7–10=–0,3 В гU=
%=3%.
Погрешности измерений имеют систематическую и случайную составляющие. Первые остаются постоянными при повторных измерениях, они определяются, и влияние её на результат измерения устраняется введением поправки. Вторые изменяются случайным образом, и их нельзя определить или устранить.
В практике электроизмерений чаще всего пользуются понятием приведённой погрешности гп:
Это отношение абсолютной погрешности к номинальному значению измеряемой величины или к последней цифре по шкале прибора:
%
Пример: ДU=0,3 В. Вольтметр рассчитан на 100 В. гп=?
гп=0,3/100·100%=0,3%
Погрешности в измерениях могут быть в следствии:
а). Неправильной установки прибора (горизонтальная, вместо вертикальной);
б). Неправильного учёта среды (внешней влажности, tє).
в). Влияние внешних электромагнитных полей.
г). Неточный отсчёт показаний и т.д.
При изготовлении электроизмерительных приборов применены те или иные технические средства, обеспечивающие тот или иной уровень точности.
Погрешность, обусловленная качеством изготовления прибора, называется – основной погрешностью.
В соответствии с качеством изготовления все приборы подразделяются на классы точности: 0,05; 0,1; 0,2; 0,5; 1,0; 1,5; 2,5; 4,0.
Класс точности указывается на шкалах измерительных приборов. Он обозначает Основную наибольшую допустимую приведённую погрешность прибора:
гД=
%.
Исходя из класса точности при поверке прибора, определяют, пригоден ли он к дальнейшей эксплуатации, т.е. соответствует ли своему классу точности.
Сравнение точности прибора с образцовым – называется поверкой.
Для поверки применяют образцовые приборы на 2 класса точности выше поверяемого. Так для поверки прибора класса точности 0,5 пригодны приборы класса точности 0,1; 0,05.
Перед поверкой вычисляют наибольшую допустимую погрешность ДА наиб для поверяемого прибора, или определяют его истинный класс точности.
Меры основных электрических величин
В зависимости от степени точности и области применения меры подразделяются на эталоны, образцовые и рабочие меры.
Эталоны – средство измерения, обеспечивающее воспроизведение и хранение единицы физической величины для передачи её размера другим средствам измерений.
Образцовые меры – предназначены для поверки и градуировки рабочих мер измерительных приборов. Они могут непосредственно использоваться для точных измерений.
Рабочие меры– изготовляются для широкого диапазона номинальных значений величин и используются для поверки измерительных приборов и для измерений на предприятиях.
Для изготовления приборов в целях обеспечения высокой точности измерений применяют меры электрических величин: мера ЭДС; I; R; L; взаимной индуктивности; С.
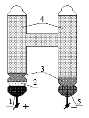
а). Мера ЭДС– в качестве мер ЭДС, как образцовых так и рабочих, применяют нормальные элементы различных классов точности.
| |
| Бывают трёх классов точности 0,001; 0,002; 0,005 ЭДС для элемента Класса точности 0,005 составляет 1,0185 – 1,0187 В. Допустимое изменение ЭДС за год для элементов класса точности 0,005 составляет 50 мкВ |
б). Меры электрических сопротивлений: образцовые и рабочие меры выполняются в виде катушек сопротивлений, которые выполняются из манганиновой проволоки или ленты (Cu‑84%, Ni‑4%, Mn‑12%). Он обладает малым температурным коэффициентом сопротивления (0,00001 1/єС), большим удельным сопротивлением (0,45 Ом·мм2/м) и малой термо-э.д.с. при контакте с медью (2 мкВ на 1 єС).
Образцовые резисторы изготовляются на номинальные сопротивления 0,00001; 0,0001; 0,001; 0,01; 0,1; 1,0; 10; 100; 1000; 10000; 100000 Ом. Класс точности измерительных резисторов (катушек сопротивлений): 0,0005; 0,001; 0,002; 0,005; 0,01; 0,02; 0,05.
| Устройство одной из катушек сопротивления. На латунный или фарфоровый цилиндр А наложена бифилярная (выполненная в два провода) обмотка, на концах которой расположены две пары зажимов I и U, укреплённые на эбонитовой панели Б, к которой крепится кожух катушки В. |
Характеристики
Тип файла документ
Документы такого типа открываются такими программами, как Microsoft Office Word на компьютерах Windows, Apple Pages на компьютерах Mac, Open Office - бесплатная альтернатива на различных платформах, в том числе Linux. Наиболее простым и современным решением будут Google документы, так как открываются онлайн без скачивания прямо в браузере на любой платформе. Существуют российские качественные аналоги, например от Яндекса.
Будьте внимательны на мобильных устройствах, так как там используются упрощённый функционал даже в официальном приложении от Microsoft, поэтому для просмотра скачивайте PDF-версию. А если нужно редактировать файл, то используйте оригинальный файл.
Файлы такого типа обычно разбиты на страницы, а текст может быть форматированным (жирный, курсив, выбор шрифта, таблицы и т.п.), а также в него можно добавлять изображения. Формат идеально подходит для рефератов, докладов и РПЗ курсовых проектов, которые необходимо распечатать. Кстати перед печатью также сохраняйте файл в PDF, так как принтер может начудить со шрифтами.
















