147662 (580219), страница 3
Текст из файла (страница 3)
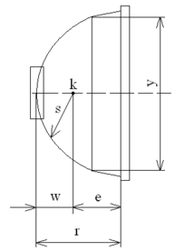
В конструкции отражателя светофора увеличение какого расстояния способствует уменьшению выгорания красителя светофильтра:
В) e
С) r
D) s
Е) y
95
В конструкции отражателя светофора уменьшение какого расстояния способствует появлению фантомного эффекта:
А) w
В) e
С) r
D) s
Е) y
96
Тактом регулирования называется:
A) период действия определенной комбинации светофорных сигналов
B) период действия запрещающего сигнала в конфликтующем направлении
C) период действия разрешающего сигнала в конфликтующем направлении
D) время движения определенной группы транспортных и пешеходных потоков
E) периодически повторяющаяся совокупность всех фаз
97
Фазой регулирования называется:
A) суммарная длительность основных тактов
B) совокупность основного и следующего за ним промежуточного такта
C) суммарная длительность промежуточных тактов
D) период действия определенной комбинации светофорных сигналов
E) время движения определенной группы транспортных и пешеходных потоков
98
Режим светофорного регулирования можно представить в виде:
А) Тц = ton + tПn
В) Тц = t01 + tП1 + ton + tПn
С) Тц = t01 + tПn
D) Тц = tП1 + tПn
E) Тц = tП1 + ton
(n-число фаз)
99
Длительность желтого сигнала светофора находится в пределах:
A) 3 – 4 c
B) 2 - 3 c
C) 2 – 4 c
D) 4 – 5 c
E) 3 – 5 c
100
Если на перекрестке в течение определенного времени по всем направлениям действует красный сигнал, то при этом промежуточные такты называются:
A) цикловыми интервалами
B) промежуточными интервалами
C) фазными промежутками
D) тактовыми промежутками
E) переходными интервалами
101
Задержка в движении в начале такта to называется:
A) потерянным временем
B) эффективной задержкой
C) стартовой задержкой
D) временем отставания потока
E) временем снижения длительности цикла
102
Потерянное время в фазе определяется:
А) tП = tCT - tПT - tp
B) tПT = tП - tCT +tp
C) tП = tПT - tCT - tp
D) tПT = tCT + tП -tp
E) tП = tПT + tCT + tp
103
Число транспортных средств, покинувших перекресток в среднем в течение tэф, равно:
-
A) их числу, покинувшему перекресток за время прорыва
B) их числу, покинувшему перекресток за время фазы с вычетом времени потери
C) их числу, покинувшему перекресток за время фазы плюс времени прорыва транспортных средств на желтый сигнал
D) их числу, покинувшему перекресток за время фазы
E) их числу, покинувшему перекресток за период потерянного времени
104
При движении в прямом направлении по дороге без продольных уклонов поток насыщения определяется:
А) МНij Прямо = 515 Bпч Nij
B) МНij Прямо = 525 Bпч
C) МНij Прямо = 525 Bпч Nij
D) МНij Прямо = 325 Bпч
E) МНij Прямо = 515 Bпч yij
105
Каждый процент уклона на подъеме снижает (на спуске увеличивает) поток насыщения на:
A) 4 %
B) 2 %
C) 2.5 %
D) 3.5%
E) 3 %
106
Формула потока насыщения для случая движения прямо, налево и направо по одним и тем
же полосам движения записывается:
А) МНij = 100 МНij Прямо / (a + 1.75b + 1.25c)
B) МНij = 100 МНij Прямо / (a + 1 25b + 1.75c)
C) МНij = 100 МНij Прямо / (a + 1.65b + 1.35c)
D) МНij = 100 МНij Прямо / (a + 1.45b + 1.25c)
E) МНij = 100 МНij Прямо / (a + 1.75b + 1.55c)
107
Для лево- и правоповоротных потоков, движущихся по специально выделенным полосам,
для однорядного движения поток насыщения определится:
A) МНijПОВ = 1800 / (1 +1.525R)
B) МНijПОВ = 1800 / (1 +1.55/R)
C) МНijПОВ = 1800 / (1 +1.525/R)
D) МНijПОВ = 1600 / (1 +1.525/R)
E) МНijПОВ = 1600 / (1 +2.525R)
108
Для лево- и правоповоротных потоков, движущихся по специально выделенным полосам.
для двухрядного движения поток насыщения определится:
A) МНijПОВ = 3000 / (1 +1.525/R)
B) МНijПОВ = 3000 / (1 +1.535R)
C) МНijПОВ = 3000 / (1 +1.525R)
D) МНijПОВ = 3000 / (1 +1.625/R)
E) МНijПОВ = 3000 / (1 -1.625R)
109
Фазовый коэффициент определяется:
A) уij = Nij Mij
B) yij = Nij / Mij
C) yij = Nij toi / Mij
D) yij = Nij / toi Mij
E) yij = Mij / Nij
110
В общем виде формула промежуточного такта запишется:
A) tПi = tpК - tT - ti – ti+1
B) tПi = tpК - tT + ti – ti+1
C) tПi = tpК + tT - ti – ti+1
D) tПi = tpК + tT + ti – ti+1
E) tПi = tpК - tT - ti + ti+1
111
Длительность основного такта определяется:
A) t0i = yij tПi / Nij
B) t0i = yij tПi
C) t0i = Nij tПi / Mij
D) t0i = yij Nij Тц
E) t0i = yij Тц
112
При полностью насыщенной фазе при равномерном прибытии транспортных средств длительность цикла определится:
А) Тц = Тц yi + tПi
В) Тц = ТП / (1 - Y)
С) Тц = (1 - yi) / ТП
D)Тц = (1 + Y) / ТП
Е) Тц = (Y -1) / ТП
113
При полностью насыщенной фазе при случайном прибытии транспортного средства длительность цикла определяется:
А) Тц = (1.15 ТП + 0.5) / (1 - Y)
В) Тц = (1.05 ТП + 5) / (1 + Y)
С) Тц = (1.5 ТП + 5) / (1 - Y)
D) Тц = (1.5 ТП + 5) / (Y -1)
Е) Тц = (1.15 ТП + 15) / (1 + Y)
114
По соображениям безопасности длительность цикла находится в пределах:
А) 20 ТЦ 120с
В) 25ТЦ 120с
С) 25ТЦ 130 с
D)30 ТЦ 120c
Е) 20 ТЦ 130 с
115
По соображениям безопасности движения длительность основного такта t0j принимают не менее:
A) 5 с
B) 6 с
C) 8 с
D)9c
Е)7с
116
Время, необходимое для пропуска пешеходов:
А) tПШ = (7 + ВПШ) / VПШ
B) tПШ = 7 + ВПШ / VПШ
C) tПШ = 7 + ВПШ VПШ
D) tПШ = (5 + ВПШ) / VПШ
E) tПШ = 5 + ВПШ / VПШ
117
Время, необходимое для пропуска трамвая через перекресток:
А) tТР = 7.2(Li - LТР) / V ТР
В) tТР = 7.2(Li + LТР) / V ТР
С) tТР = 3.6(Li - LТР) / V ТР
D) tТР = 3.6(Li + LТР) / V ТР
E) tТР = 7.2(LТР -Li) / V ТР
118
Качество различных вариантов схем организации движения на перекрестке оценивают:
A) стартовой задержкой
B) эффективным временем
C) средней задержкой транспортного средства
D) экипажным временем
E) потоком насыщения
119
Степень насыщения направления движения представляет собой:
A) отношение среднего числа прибывающих в данном направлении к перекрестку в течение цикла транспортных средств к максимальному числу покинувших перекресток в том же направлении в течение разрешающего сигнала
B) отношение наибольшего числа прибывающих в данном направлении к перекрестку в течение цикла транспортных средств к максимальному числу покинувших перекресток в том же направлении в течение разрешающего сигнала
C) отношение наименьшего числа прибывающих в данном направлении к перекрестку в
течение цикла транспортных средств к минимальному числу покинувших перекресток в том же направлении в течение разрешающего сигнала
D) отношение среднего числа прибывающих в данном направлении к перекрестку в течение
каждой фазы транспортных средств к минимальному числу покинувших перекресток в том же направлении в течение разрешающего сигнала
E) отношение средневзвешенного числа прибывающих в данном направлении к перекрестку в течение цикла транспортных средств к максимальному числу покинувших перекресток в том же направлении в течение разрешающего сигнала
120
В графике режима светофорной сигнализации отражается:
A) только порядок чередования сигналов
B) порядок чередования и длительность сигналов
C) только длительность сигналов
D) порядок чередования сигналов, интенсивности на подходах к перекрестку
E) длительность сигналов и интенсивности на подходах к перекрестку
121
Граничный интервал времени tГp при пересечении главной дороги на нерегулируемом перекрестке определяется из условия:
A) что он будет принят 60% водителями и длительность его не превысит 10 с.
B) что он будет отвергнут 70% водителями
C) что он будет принят 70% водителями
D) что он с одинаковой вероятностью может быть принят или отвергнут водителями
E) что он будет принят 50% водителями и длительность его не превысит 10 с.
122
По способу переработки информации о транспортном потоке алгоритмы адаптивного управления делятся на:
А) две группы
B) три группы
C) четыре группы
D) пять групп
E) шесть групп
123
Алгоритмы статической оптимизации позволяют:
A) определить оптимальное управление при достижении минимума или максимума критерия эффективности
B) переключить сигналы светофора по информации о состоянии перекрестка в данном цикле регулирования
C) определить параметры управления на следующий момент времени на основе вероятностного прогнозирования этого состояния
D) переключить сигналы светофора и определить параметры управления по выбранным значениям интенсивностей движения
E) рассматривать светофорную сигнализацию как статически неопределимый объект
124
Сигналы светофора переключаются сразу после проезда стоп-линий последним автомобилем очереди при:
A) алгоритме сравнения плотности потока на подходе к перекрестку в направлении разрешающего сигнала с транспортной задержкой в конфликтующем направлении
B) алгоритме поиска разрыва в транспортном потоке в направлении действия разрешающего сигнала
C) алгоритме поиска разрыва в транспортном потоке при переменных управляющих пара-
метрах
D) алгоритме, предусматривающем лишь пропуск очередей, образовавшихся в период действия запрещающего сигнала
E) алгоритме, предусматривающем перераспределение длительностей фаз внутри цикла
125
Длительность разрешающих сигналов соответствует фактической разгрузке направлений движения при:
A) алгоритме, предусматривающем перераспределение длительностей фаз внутри цикла
B) алгоритме поиска разрыва в транспортном потоке в направлении действия разрешающего сигнала
C) алгоритме поиска разрыва в транспортном потоке при переменных управляющих пара метрах
D) алгоритме сравнения плотности потока на подходе к перекрестку в направлении разрешающего сигнала с транспортной задержкой в конфликтующем направлении
















