147662 (580219), страница 2
Текст из файла (страница 2)
В) М = 1.2 W h2
C) M=1.2W2h
-
D) M=1.1 W/h
E) M=1.1 Wh
51
Расчетную ветровую нагрузку определяют по скоростному напору, равному:
А) 545.3 Па
В) 540 Па
C) 539.4 Па
D) 549.4 Па
E) 550.1 Па
52
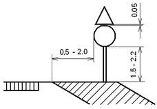
Заглубление опоры дорожного знака в грунт принимают равным:
B) 1.0 м
C) 1.2м
D)1.3m
Е) 0.9 м
53
Данный дорожный знак установлен на:
А) полосе отвода
В) откосе насыпи
С) обочине
D) берме
Е) над обочиной
54
Среди знаков приоритета локальный характер носят дорожные знаки:
А) 2.1 «Главная дорога» и 2.5 «Движение без остановки запрещено»
В) 2.4 «Уступите дорогу» и 2.5 «Движение без остановки запрещено»
С) 2.4 «Уступите дорогу» и 2.1 «Главная дорога»
D) 2.2 «Конец главной дороги» и 2.1 «Главная дорога»
Е) 2.2 «Конец главной дороги и 2.5 «Движение без остановки запрещено»
55
Разметка делится на:
А) магистральную, немагистральную
В) горизонтальную, вертикальную
С) применяемые в населенных пунктах и вне населенных пунктах
D) применяемые для двухполосного и многополосного движений
E) применяемые для усовершенствованных и неусовершенствованных дорог
56
Для горизонтальной разметки применяют:
A) сочетание черного и белого цветов
B) белый цвет
C) желтый цвет
D) белый и желтый цвета
E) белый и черный цвета
57
Для вертикальной разметки применяют:
A) сочетание черного и белого цветов
B) белый цвет
C) желтый цвет
D) белый и желтый цвета
E) белый и черный цвета
58
Горизонтальная разметка применяется на дорогах с усовершенствованным покрытием, имеющих проезжую часть с шириной и более при интенсивности и более:
A) 6 м, 800 ед/сутки
B) 7 м, 1200 ед/сутки
С) 6м,1000ед/сутки
D)7m,800ед/сутки
Е) 7 м, 900 ед/сутки
59
В настоящее время для выполнения дорожной разметки получили широкое распространение:
A) краски и термопластики
B) краски и цветные асфальтобетоны
C) кнопки, металлические плиты и термопластики
D) ленты-полуфабрикаты и краски
E) керамические плиты и цементобетоны
60
По данным исследований большая часть водителей на дорогах с прерывистой разметкой выбирают такую скорость, при которой частота мельканий штрихов и разрывов не превышает …. Гц:
А) 5
В) 4
С) 3
D) 8
E) 10
61
В состав краски для разметки входят:
А) наполнитель, пигмент, связующее вещество, растворитель
В) пигмент, связующее вещество, растворитель, отвердитель
С) пигмент, связующее вещество, растворитель, отвердитель, стабилизатор
D) пигмент, связующее вещество, отвердитель, стабилизатор
Е) пигмент, связующее вещество, растворитель, стабилизатор
62
Цифры в номере дорожной разметки обозначают:
А) первая – группу, вторая – разновидность разметки, третья – порядковый номер
В) первая – порядковый номер, вторая – группу, третья – разновидность разметки
С) первая – порядковый номер, вторая – разновидность разметки, третья – группу
D) первая – разновидность разметки, вторая – порядковый номер, третья – группу
Е) первая – группу, вторая – порядковый номер, третья – разновидность разметки
63
Исходным данным для составления схем разметки является:
А) данные ДТП
В) особенности условий движения
С) параметры транспортных потоков
D) планировочные характеристики участка дороги
Е) пешеходных потоков
64
Какая дорожная разметка обозначает пешеходный переход, где движение регулируется светофором:
65
Какая дорожная разметка обозначает место, где водитель при необходимости должен остановиться, уступая дорогу транспортным средствам, движущимся по пересекаемой дороге:
66
На двухполосных дорогах, имеющих форму горизонтальных кривых, в условиях обеспеченной видимости транспортные потоки противоположных направлений разделяют на всем протяжении кривой сплошной линией при радиусе менее:
А) 65 м
В) 55 м
С) 60 м
D) 50 м
Е) 70 м
67
Расстояние от сплошной линии разметки до края проезжей части не более:
А) 0.3 м
В) 0.2 м
С) 0.4 м
D) 0.5 м
Е) 0.6 м
68
При устройстве пешеходных переходов в качестве технических средств организации движения не применяются:
A) дорожные контроллеры
B) транспортные светофоры
C) пешеходные светофоры, островки безопасности, дорожные знаки и разметка, ограждения
D) дорожные знаки и разметка, пешеходные светофоры, островки безопасности
E) ограждения, транспортные светофоры
69
Ширина пешеходного перехода должна быть не менее:
А)3м
B) 4 м
C) 5м
D)6m
Е)7м
70
Островки безопасности на пешеходном переходе устанавливают, если ширина проезжей части превышает:
А) 10м
-
В) 14м
С) 17 м
D) 22m
Е) 25м
71
Время терпеливого ожидания пешеходов составляет в среднем:
A) 20 с
B) 25 с
C) 30с
D) 35c
Е) 40с
72
Светофоры классифицируются по:
A) функциональному назначению, конструктивному исполнению
B) функциональному назначению, конструктивному исполнению, по их роли в процессе управления движением, по светотехническим параметрам
C) функциональному назначению, конструктивному исполнению, по светотехническим параметрам
D) конструктивному исполнению, по светотехническим параметрам, по их роли в процессе управления
E) функциональному назначению, конструктивному исполнению, по их роли в процессе управления движением
73
В соответствии с ГОСТ 25695-83 «Светофоры дорожные. Общие технические условия»
они делятся на:
А) две группы
B) три группы
C) четыре группы
D) пять групп
E) шесть групп
74
Дополнительные секции применяются со светофорами типа:
А) 4
В)3
С) 2
D)1
Е) со всеми
75
Контуры стрелок, указывающих разрешенное (запрещенное) направление движения, наносят на всех линзах светофоров типа:
A) 1
В)3
С) 4
D)5
Е)2
76
В качестве повторителей сигналов светофоров типа 1 применяют транспортные светофоры типа:
А)1
В) 2
С)3
D)6
Е)7
77
При организации реверсивного движения применяют светофоры типа:
А)1
B) 4
C) 2
D)5
Е)3
78
Светофор какого типа имеет постоянно мигающий желтый цвет:
A) 8
B) 7
C) 2
D)5
Е)6
79
Сколько существует типов пешеходных светофоров:
А) один
B) два
C) три
D) четыре
E) пять
80
Нормативное минимальное расстояние видимости светофорного сигнала равно:
A) 110 м
B) 80 м
C) 90м
D)100m
Е) 70м
81
Исходя из высоты установки светофора, ширины проезжей части и особенности бокового
зрения водителя, считается достаточным иметь ширину светового пучка сигнала равным:
A) +/- 10° в горизонтальной и 8° в вертикальной плоскостях
B) +/- 5° в горизонтальной и 6° в вертикальной плоскостях
C) +/- 8° в горизонтальной и 8° в вертикальной плоскостях
D) +/- 12° в горизонтальной и 10° в вертикальной плоскостях
E) +/- 8° в горизонтальной и 10° в вертикальной плоскостях
82
Характер распределения силы света сигнала светофора в зависимости от положения водителя относительно его (светофора) оптической оси выглядит:
83
Для повышения срока службы ламп накаливания светофоров применяют специальные
наполнители из:
A) ксенона
B) неона
C) криптона
D) фреона
E) оксида углерода
84
Какой тип светофора изображен на рисунке:
А) тип 1 В) тип 2 С) тип 3 D) тип 4 Е) тип5
85
Какой тип светофора изображен на рисунке:
А) тип 1 В) тип 2 С) тип 3 D) тип 4 Е) тип5
86
Какой тип светофора изображен на рисунке
А
) тип 1 В) тип 2 С) тип 3 D) тип 4 Е) тип5
87
Какой тип светофора изображен на рисунке:
А) тип 1 В) тип 2 С) тип 3 D) тип 4 Е) тип5
88
Какой тип светофора изображен на рисунке:
А) тип 1 В) тип 3 С) тип 5 D) тип 7 Е) тип8
89
Угол светорассеяния светофильтра светофора – это:
A) наибольший угол, в пределах которого сила света уменьшается вдвое по сравнению с ее осевым значением
B) наименьший угол, в пределах которого сила света уменьшается вдвое по сравнению с ее осевым значением
C) наименьший угол, в пределах которого сила света не уменьшается вдвое по сравнению с ее осевым значением
D) наибольший угол, в пределах которого сила света не уменьшается втрое по сравнению с ее осевым значением
E) наименьший угол, в пределах которого сила света уменьшается втрое по сравнению с ее осевым значением
90
Для современных светофоров угол светорассеяния находится в пределах:
A) 5 – 200
B) 10 – 150
C) 5 – 150
D) 5 – 250
E) 10 – 200
91
Наилучшая видимость сигналов достигается при установке светофоров над проезжей частью на высоте:
A) 6 – 7 м
B) 4 – 5 м
C) 5.5 – 7 м
D) 5 – 6 м
E) 4.5 – 6 м
92
Расстояние в плане от стоп-линии до светофора не должно быть менее:
A) 7 м
B) 8 м
C) 6 м
D) 5 м
E) 10 м
93
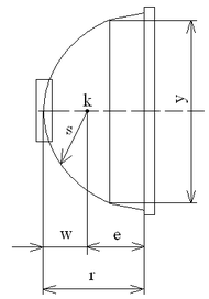
В конструкции отражателя светофора фокусное расстояние показано величиной:
А) e
В) w
С) r
D) s
Е) y
94
















