125852 (577906), страница 2
Текст из файла (страница 2)
Допуски:
Отверстие: TD = 87 мкм = 0,087 мм
Вал: Td = 87 мкм = 0,087 мм
Используем значения основных отклонений валов, мкм (ГОСТ 25346-82, СТ СЭВ 145-75)
Для интервалов размеров, мм: Свыше 100 до 120, Буквенное обозначение «р», нижнее отклонение ei равно +37 мкм для всех квалитетов:
ei = + 0,037 мм.
Td = es – ei = 0,087 мм
Верхнее отклонение вала: es = Td + ei = 0,087 + 0,037 = + 0,124 мм
Используем значения основных отклонений отверстий, мкм (ГОСТ 25346-82, СТ СЭВ 145-75). Для интервалов размеров, мм: Свыше 100 до 120, Буквенное обозначение «Н», нижнее отклонение EI равно 0 мкм для всех квалитетов.
TD = ES – EI = 0,087 мм
Нижнее отклонение отверстия: EI = 0
Верхнее отклонение отверстия: ES = EI + TD
ES = 0 + 0, 087 = + 0, 087 мм
Определение предельных размеров вала и отверстия.
Размеры вала: d = 120 мм
dmin = ei + d = + 0,037 + 120 = 120, 037 мм
dmax = es + d = + 0,124 + 120 = 120,124 мм
Размеры отверстия: D = 120 мм
Dmin = EI + D = 0+ 120 = 120,000 мм
Dmax = ES + D =+ 0, 087 + 120 = 120, 087 мм
Определим систему допусков, в которой задана посадка.
В задаче дано Н 9, следовательно имеем основное отверстие.
Вывод: имеем посадки в системе отверстия.
2. Определим величины предельных зазоров или натягов, допуск посадки.
По характеру соединения различают группы посадок с зазором, с натягом и переходные. Прежде чем в посадке определять зазоры или натяги, надо сравнить соответствующие предельные размеры вала и отверстия.
dmax = 120,124 мм > Dmax = 120,087 мм
dmin = 120, 037 мм > Dmin = 120,000 мм
dmin = 120, 037 мм < Dmax = 120,087 мм
Имеем посадку Ø120
переходную.
Наибольший натяг: Nmax = es - EI = + 0,124 – 0 = 0,124мм
Наименьший натяг: Nmin = ei – ES = +0,037 – 0,087 = - 0,050 мм
Наибольший зазор: Smax = ES – ei = +0,087 – 0,037 = +0,050 мм = - Nmin
Допуск посадки: IT = TN = Nmax - Nmin = 0,124 –(- 0,050 ) = 0,174 мм
Проверка: IT = TN = TD + Td = 0,087 +0,087= 0,174 мм
3. Определим групповые допуски вала и отверстия
Величину групповых допусков вала и отверстия определяют путем деления допуска детали на число размерных групп - п
;(2)
(3)
т.е. допуски всех размерных групп вала или отверстия будут равны между собой.
п=3
Tdгр = 0,087: 3 = 0,029 мм
TDгр = 0,087: 3 = 0,029 мм
4. Предельные отклонения и размеры вала и отверстия в каждой размерной группе проще всего определять прямо по схеме полей допусков заданного соединения, разделив на схеме эти поля допусков на заданное число размерных групп и определив значения предельных отклонений на границах допусков размерных групп.
Детали соединения Ø120
следует рассортировать на 3 размерные группы. Схема полей допусков дана на чертеже. Все группы имеют посадку с натягом.
Минимальный натяг в группе: N1min = ei - ES = 0,037- 0,029 = 0,008мм
Максимальный натяг в группе: N1max = es - EI = 0,066 – 0,000 = 0,066 мм.
Таблица 3 – Образованные размерные группы
| Группа | Предельные отклонения, мм | Допуск, мм | Натяг, мм | |||||||||
| Вала | Отверстия | |||||||||||
| макс | мин | |||||||||||
| Нижнее ei | Верхнее es | Нижнее EI | Верхнее ES | |||||||||
| 1 | + 0,037 | +0,066 | 0 | +0,029 | 0,029 | 0,066 | 0,008 | |||||
| 2 | + 0,066 | +0,095 | +0,029 | +0,058 | 0,029 | 0,066 | 0,008 | |||||
| 3 | +0,095 | +0,124 | +0,058 | +0,087 | 0,029 | 0,066 | 0,008 | |||||
5. Составим карту сортировщика, указав в ней предельные размеры валов и отверстий в каждой размерной группе.
Таблица 4 – Карта сортировщика для сортировки на три размерных группы деталей соединения Ø120 H9- p9
| Номер размерной группы | Размеры деталей, мм | |||
| отверстие | вал | |||
| 1 | свыше | 120,000 | 120,037 | |
| до | 120,029 | 120,066 | ||
| 2 | свыше | 120,029 | 120,066 | |
| до | 120,058 | 120,095 | ||
| 3 | свыше | 120,058 | 120,095 | |
| до | 120,087 | 120,124 | ||
6. В этой задаче предельные групповые натяги равны:
,
ЗАДАНИЕ 3
Расчет и выбор полей допусков для деталей, сопрягаемых с подшипниками качения
Цель задания:
-
Научиться обоснованно, назначать поля допусков для размеров, сопрягаемых с подшипниками качения.
-
Научиться обозначать на чертежах посадки колец подшипников качения с деталями.
Исходными данными служат:
-
Номер подшипника качения. - 205
-
Величина его радиальной нагрузки. – 2500 Н
-
Чертеж узла, в котором используется подшипник качения: номер чертежа узла 1.
В задании требуется:
-
Определить конструктивные размеры заданного подшипника качения.
-
Установить характер нагрузки подшипника.
-
Определить вид нагружения каждого кольца подшипника.
-
Рассчитать и выбрать посадки подшипника на вал и в корпус.
-
Для сопряжений «подшипник-корпус» и «подшипник-вал» построить схемы полей допусков, с указанием номинальных размеров, предельных отклонений, зазоров или натягов.
-
Вычертить эскизы подшипникового узла и деталей, сопрягаемых с подшипником, указав на них посадки соединений и размеры деталей.
Решение:
-
По приложению Ж методических указаний определим конструктивные размеры заданного подшипника №205 (D, d, B и r) в соответствии с ГОСТ 8338 – 75.
Нормальные габаритные размеры подшипников (ГОСТ 8338 – 75)
| Условные обозначения подшипников | Габаритные размеры, мм | Радиус закругления фаски, r мм | ||
| внутренний диаметр, d | наружный диаметр, D | ширина, B | ||
| Легкая серия | ||||
| 205 | 25 | 52 | 15 | 1,5 |
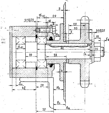
2. По чертежу рис. 1 узла с учетом условий его работы нужно установим характер нагрузки подшипника:
- перегрузка до 150%, умеренные толчки и вибрации (статическая).
Рис. 1 - Первая типовая схема
3. Вид нагружения показывает, какая часть беговой дорожки каждого кольца воспринимает радиальную нагрузку. В данной схеме внутренние кольца подшипников вращаются вместе с валом, наружные кольца, установленные в корпусе, неподвижны. Радиальная нагрузка Р постоянна по величине и не меняет своего положения относительно корпуса.
В этом случае внутреннее кольцо воспринимает радиальную нагрузку Р последовательно всей окружностью дорожки качения, такой вид нагружения кольца называется циркуляционным. Наружное кольцо подшипника воспринимает радиальную нагрузку лишь ограниченным участком окружности дорожки качения, такой характер нагружения кольца называется местным.
Дорожки качения внутренних колец подшипников изнашиваются равномерно, а наружных – только на ограниченном участке.
При назначении посадок подшипников качения существует правило: кольца, имеющие местное нагружение, устанавливаются с возможностью их проворота с целью более равномерного износа дорожек качения; при циркуляционном нагружении, напротив, кольца сажают по более плотным посадкам.
4. Посадку подшипников качения на вал и в корпус выбирают, прежде всего, в зависимости от вида нагружения колец. При циркуляционном нагружении колец подшипников посадки а валы и в корпусы выбирают по величине интенсивности радиальной нагрузки на посадочной поверхности. Интенсивность радиальной нагрузки определяют по формуле (79) [1], учитывая при выборе коэффициентов характер нагрузки, конструкцию вала и корпуса под подшипник, вид подшипника качения. При этом необходимо понимать, что нагрузка подшипника и вид нагружения его колец – разные вещи.
Определив для циркуляционно нагруженного кольца величину интенсивности радиальной нагрузки, по таблице 16 [1] выбирают поле допуска соответственно для вала или корпуса, сопрягаемого с этим кольцом. Посадку под кольцо, имеющее местный вид нагружения, выбирают из таблицы 17 [1].
Радиальная нагрузка Fr = 2500 H, перегрузка до 150%, умеренные толчки и вибрации (статическая), осевая нагрузка отсутствует.
Вид нагружения колец: внутреннего – циркуляционный, наружного – местный.
Из маркировки подшипника следует, что задан радиальный однорядный шариковый подшипник легкой серии, класс точности 6.
Основные размеры подшипника:
посадочный размер наружного кольца D = 52 мм;
посадочный размер внутреннего кольца d = 25 мм;
ширина колец В = 15 мм;
















