Ушаков_ТПЭВМ (562162), страница 33
Текст из файла (страница 33)
Биполярные транзисторы разделяются на планарные и планарно-эпитаксиальные (рис. 17.1).
Планарный транзистор (рис. 17.1, а) отличается тем, что все слои, соответствующие эмиттеру (Э), базе (Б) и коллектору (К), выходят на одну поверхность. Коллекторные токи при этом проходят протяженный горизонтальный участок под базой, прежде чем достигнут контакта. Повышенное сопротивление коллектора снижает быстродействие транзистора.
Планарно-эпитаксиальный транзистор имеет высоколегированный захороненный слой N+-типа с малым омическим сопротивлением (рис. 17.1,6), который уменьшает сопротивление коллектора. Транзисторы имеют форму прямоугольника шириной'50... 200 мкм и длиной 75...300 мкм. Глубина эмиттерной области составляет несколько микрометров, Большинство биполярных транзисторов изготовляют со структурой N-Р-N, что обеспечивает более высокое быстродействие по сравнению со структурой Р-Н-Р, так как подвижность электронов в 2...3 раза превышает подвижность дырок.
На рис. 17.1, в показана структура планарно-эпитаксиального транзистора с барьером Шотки. Она представляет собой транзистор N-P-N+-типа, в котором металлический, контакт базы расширен на коллекторную область. Такой контакт обладает выпрямляющими свойствами и работает как диод. Транзисторы с барьером Шотки характеризуются высоким быстродействием и большим коэффициентом усиления. Изготовление таких транзисторов не требует дополнительных операций, а площадь незначительно превышает площадь обычного транзистора.
Униполярный (полевой) транзистор имеет структуру “металл—оксид—полупроводник” (МОП) и может быть выполнен с индуцированным или встроенным каналом (рис. 17.2), который создается технологическим путем.
МОП-транзистор с индуцированным каналом (рис. 17.2, а) представляет собой конденсатор, верхней обкладкой которого является металлический затвор (3), нижней — полупроводник (кремний Р-типа), а диэлектриком — слой SiO2. Когда к затвору приложено положительное напряжение, на поверхности кремния между диффузионными областями N-типа индуцируется (наводится) канал проводимости N-типа от истока (И) к стоку (С).
С помощью напряжения на затворе можно менять в широких Пределах ток от истока к стоку (от 10 -9 до 10 -2 А).
Максимальное напряжение на затворе (10 В) ограничивается электрической прочностью изолятора. Малое расстояние между диффузионными областями (10 мкм) и тонкий оксидный слой (0,2 мкм) обеспечивают максимальное изменение проводимости от Истока к стоку.
Важнейшим свойством МОП-транзисторов является высокое годное сопротивление, что объясняется хорошей изоляцией забора слоем диоксида кремния. МОП-транзисторы имеют простую Структуру и малую по сравнению с обычными транзисторами паразитную емкость. Площадь МОП-транзистора примерно в 10 раз чаще, чем планарного
Диод. Диод образуется путем создания P-N -перехода между диффузионным слоем и монокристаллом полупроводника (рис. 17.3). Технология изготовления таких диодов идентична технологии изготовления транзисторов. На практике в качестве диодов используют транзисторные структуры, что значительно упрощает процесс их изготовления. Для получения диодов на основе транзисторных структур используют различные схемы диодного включения транзисторов.
Резисторы. По значимости они занимают следующее место после полупроводниковых приборов. Резисторы применяют двух типов: полупроводниковые и тонкопленочные.
Полупроводниковые резисторы получают методом диффузии (рис. 17.4, а). Они имеют малые размеры с номинальными значениями от 25 Ом до 25 кОм.
Такие резисторы отделяют от остальной части методом изолирующей
диффузии. Значение сопротивления зависит от размеров резистивного слоя.
Сопротивление диффузионной области может быть выражено в единицах поверхностного сопротивления материала ρк:
R = ρкL/b (17.1)
где L—длина резистора; b—ширина резистора.
Контактные площадки, расположенные на концах диффузионного резистора, вносят дополнительное сопротивление, которое учитывают поправочным коэффициентом. При R=4 кОм и ρк=200 Ом/?
L/b = R/ρк= 4000/20=20/1.
Из технологических соображений ширина резистора L принимается равной 25 мкм; следовательно, L = 500 мкм. Точность диффузионных резисторов составляет ± (10...20) %. Она зависит от равномерности распределения примесей и точности выполнения конфигурации резистивного слоя.
Максимальная допустимая мощность, рассеиваемая диффузионными резисторами, достаточно велика и определяется главным образом возможностями осуществления теплоотвода. Абсолютные значения сопротивлений имеют сравнительно большой разброс в разных образцах, но обеспечивают достаточно хорошее согласование сопротивлений в одной схеме.
Тонкопленочные резисторы (рис. 17.4, б) представляют собой пленку материала с большим сопротивлением, расположенную на пленке диоксида кремния. Наибольшее применение имеют резисторы из нихрома. Наличие хрома в составе резистора обеспечивает хорошее сцепление пленки со слоем диоксида кремния.
Типичные тонкопленочные резисторы имеют сопротивление от 15 до 800 Ом/□, а температурный коэффициент 5∙10-4 1/°С.
Преимущества тонкопленочных резисторов заключаются в возможности размещения их на меньшей площади и лучшей изоляции. Значение паразитных емкостей у них значительно меньше, чем у диффузионных. Такие резисторы можно выполнять с точностью до ±1%. Однако использование тонкопленочных резисторов требует введения дополнительных операций технологического Процесса, которые приводят к удорожанию схемы. Тонкопленочные резисторы обычно применяют в тех случаях, когда требуются стабильные и точные сопротивления больших номиналов.
Конденсаторы полупроводниковых микросхем. Они имеют следующие разновидности (рис. 17.5): диффузионные, металл-оксидно-полупроводниковые (МОП-конденсаторы) и тонкопленочные.
Диффузионные конденсаторы (рис. 17.5, а) образуется смещенным в обратном направлении p-N- переходом. Для данного материала емкость является функцией площади перехода, концентрации примесей и приложенного напряжения. Емкость p-N-перехода имеет линейную зависимость от напряжения. Точность диффузионных конденсаторов составляет ±20%. При использовании кремния можно получить конденсаторы емкостью до 1000 мФ и пробивным напряжением в 7 ... 10 В.
МОП-конденсаторы (рис. 17.5,6) обладают лучшими характеристиками. Они создаются непосредственно на полупроводниковой пластине. Диэлектриком здесь является слой диоксида кремния, образованный на полупроводнике. Одним из электродов является область кремния N+-типа, лежащая под оксидом, а другим — проводящая пленка алюминия, нанесенная на слой оксида. Такой конденсатор обладает хорошей линейностью, высоким пробивным напряжением (до 50 В), низким температурным коэффициентом. Удельная емкость МОП-конденсаторов составляет до 104 пФ/см2. Практически это значение ограничивается пределами 300... 1000 пФ. МОП-конденсаторы обладают высокой стабильностью, их емкость не зависит от напряжения. Температурный коэффициент может быть получен меньше 0,03%. Основным недостатком МОП-конденсаторов является большая паразитная емкость относительно подложки.
Тонкопленочные конденсаторы (рис. 17.5, в) получаются путем осаждения пленки диэлектрика между двумя проводящими пленками из алюминия, образующими пластины конденсатора. Одна из них наносится на слой диоксида кремния. В качестве диэлектрика применяют диоксид кремния SiO2 или оксид тантала Ta2O5. Благодаря хорошей изоляции от подложки слоем SiO2 конденсатор имеет высокое напряжение пробоя, достигающее сотен вольт. Емкость тонкопленочного конденсатора может достигать 900 пФ/мм2, когда в качестве диэлектрика применяется SiO2, и до 3500 пФ/мм2, .если диэлектриком является Ta2O5. Точность конденсатора составляет ±(5...10)%.
Г Л А В А 22
СБОРКА И КОНТРОЛЬ ЭВМ
22.1. Виды изделий и схемы сборки
Технологическим процессом сборки называется совокупность операций, в результате которых детали соединяются в сборочные единицы, а сборочные единицы — в изделие. Изделием называется любой предмет или набор предметов производства, подлежащих изготовлению на предприятии. Изделия основного производства предназначены для поставки, а вспомогательного прризводства — только для собственных нужд.
Виды изделий. Установлены следующие виды изделий: детали, сборочные единицы, комплексы и комплекты.
Деталь — изделие, изготовляемое из однородного по наименованию и марке материала, без применения сборочных операций (например, валик из одного куска металла, печатная плата, отрезок провода заданной длины). К этому виду изделий относятся также детали, подвергнутые покрытиям (защитным и декоративным) независимо от вида, толщины и назначения покрытия или изготовленные с применением местной сварки, пайки, склейки, сшивки и т. п. (например, хромированный винт, трубка, сваренная из одного куска листового материала).
Сборочная единица — изделие, составные части которого подлежат соединению между собой на предприятии-изготовителе помощью сборочных операций (свинчиванием, клепкой, сваркой и т. п.), например микромодуль, маховичок из пластмассы с металлической арматурой.
Комплекс — это два изделия и более, не соединенных на предприятии-изготовителе сборочными операциями, но предназначенных для выполнения взаимосвязанных эксплуатационных функций. Каждое из изделий, входящих в комплекс, выполняет одну или несколько основных функций, установленных для всего комплекса, например поточная линия станков, изделие, состоящее из метеорологической ракеты, пусковой установки и средств управления. В комплекс могут входить детали, сборочные единицы и комплекты, предназначенные для выполнения вспомогательных функций, например для монтажа комплекса на месте его эксплуатации, комплект запасных частей и др.
Комплект состоит из двух изделий и более, не соединенных на предприятии-изготовителе сборочными операциями и представляющих собой набор изделий, имеющих общее эксплуатационное назначение вспомогательного характера, например комплект измерительной аппаратуры, комплект запасных частей.
Изделия агрегатной системы средств вычислительной техники на основе микроэлектронных схем, предназначенные для построения и эксплуатации вычислительных комплексов, изготовляются следующих видов (ГОСТ 20397—82): субкомплексы, устройства, агрегатные модули, блоки элементов и др.
С
убкомплекс — часть комплекса, выделенная функционально, территориально или конструктивно.
Устройство — функционально законченное изделие, выполняющее определенную функцию получения, передачи, преобразования информации, не имеющие самостоятельного эксплуатационного назначения.
Агрегатный модуль предназначен для компоновки устройств, субкомплексов и комплексов. Он состоит из приборов, блоков и элементов, но представляет собой неделимое изделие для потребителя.
Блок элементов — первичная функциональная конструкторская единица, не имеющая самостоятельного эксплуатационного назначения и используемая для построения приборов.
Расчленение изделий на сборочные элементы производится путем построения схемы сборочного состава. схема сборки. Схема сборки (ГОСТ 23887—79) представляет собой графическое изображение в виде условных обозначений последовательности сборки изделия или
его составной части. Каждый элемент (деталь, сборочная единица) изображается на схеме прямоугольником, разделенным на три части, где указываются наименование элемента, индекс и число, входящее в данное соединение. Схемы сборки строятся с максимальным рас членением изделия на сборочные единицы независим от программы выпуска. Технологические схемы сборка облегчают разработку технологического процесса благодаря своей наглядности В практике используют схемы сборки с базовой деталью и «веерного» типа.
Схема сборки с базовой деталью (рис. 22.1) отражает последовательность процесса сборки. Базовой деталью является плата, панель или другая деталь, с которой начинается сборка. Направления движения деталей и узлов показаны стрелками.
Схема сборки «веерного» типа (рис. 22.2) показывает, из каких деталей образуется сборка. Достоинством такой схемы является ее простота и наглядность, но она не отражает последовательность сборки.
Схемами сборки пользуются при разработке технологического процесса наряду со сборочным чертежом и техническими условиями.
Различают стационарную и подвижную сборку.
Стационарная сборка выполняется на одном рабочем месте, к которому подаются все необходимые детали и' сборочные единицы. Она является наиболее распространенным видом сборки в условиях единичного и серийного производства.
Стационарная сборка может строиться по принципу концентрации и дифференциации. При концентрации весь сборочный процесс выполняется одним сборщиком, а при дифференциации разделяется на предварительную и окончательную. Предварительная сборка производится несколькими отдельными бригадами параллельно, а общая сборка — специальной бригадой или одним рабочим. Это обеспечивает специализацию рабочих и сокращает длительность сборки.
Стационарная сборка по принципу дифференциации целесообразна при
значительной трудоемкости сборочного процесса или большой программе по отдельным видам изделия.
Подвижная сборка выполняется при перемещении собираемого изделия от одного сборочного места к другому. На каждом рабочем месте выполняется одна повторяющаяся операция.
Эта форма сборки применяется в условиях поточного производства. Она может осуществляться двумя способами:
а) со свободным движением собираемых объектов, перемещаемых от одного рабочего места к другому вручную или при помощи механического транспортера;
б) с принудительным движением собираемых объектов, которые перемещаются посредством конвейера при строго рассчитанном такте.
Процесс сборки осуществляется непосредственно на конвейере. Поточная сборка является основной формой, применяемой в серийном и массовом производстве. Переход на поточные методы повышает производительность труда за счет технических и организационных мероприятий, а также сокращает длительность производственного цикла и размер незавершенного производства.
Различия в организационных формах поточного производства сводятся к различиям в поточных линиях (по степени специализации, степени ритмичности, способу поддержания ритма работы, оснащенности транспортными устройствами и др.).
22.2. Технологические процессы, применяемые при общей сборке ЭВМ
Основным видом соединений при общей сборке ЭВМ является монтаж с помощью проводов. Большинство монтажных проводов изготовляют из отдельных тонких проволок из чистой электротехнической меди, скручиваемых в жилу. Широко применяют провода с волокнистой, пленочной, полихлорвиниловой и волокнисто-хлорвиниловой изоляциями
В бортовой аппаратуре используют провода с изоляцией из полиэтилена и фторопласта-4. Изоляция из полиэтилена сохраняет свои свойства при низких (до —60 °С) и высоких температурах, а также в условиях глубокого вакуума. Недостатком такой изоляции является недопустимость даже кратковременных токовых перегрузок.
Фторопласт-4 обладает высокой теплостойкостью и допускает нагрев до 250 °С Однако он обладает токсичностью при высокой температуре и большой стоимостью вследствие сложности изготовления.
Технологический процесс монтажа электрических соединений при помощи монтажных проводов состоит из следующих этапов: подготовки провода к монтажу, механического закрепления монтажных проводов, пайки мест присоединений жил проводов, проверки правильности монтажа.
Подготовка к монтажу заключается в резке провода необходимой длины, зачистке концов, закреплении изоляции на конце.
Наиболее простая конструкция приспособления для резки монтажных проводов состоит из подвижного и неподвижного дисков, имеющих ряд отверстий, рассчитанных на резку проводов разного диаметра. Провод отрезается при повороте подвижного диска.
Более высокая производительность получается при резке на автоматизированных приспособлениях (рис. 22.3). Бухта 5 (или катушка) провода устанавливается на оси 8. Конец провода через поводок 7 и ролики 4, 6 подается роликами 3, 9 в направляющую втулку 2. Провод необходимой длины отрезается ножом 1. Снятие изоляции на длине от 7 до 50 мм осуществляется механическим путем (надрезкой) или обжигом.
Волокнистую изоляцию, не имеющую в своем составе асбеста и стекловолокна, удаляют обжигом.
В
практике достаточно широкое применение получили электроножи типа клещей. Они представляют собой две петли из нихромовой проволоки, закрепленные в контактодержателях. Для удаления изоляции провод помещают в нагретые нихромовые петли и при их сближении изоляция обжигается по периметру. При этом обжигаются края оставшейся изоляции, что является недостатком метода.
С тонких многожильных проводов вначале снимают оболочку, а покрытые эмалью тонкие жилы провода нагревают 4 ... 6 с в верхней области спиртовой горелки, а затем опускают в раствор 10 %-ного нашатырного спирта. После снятия изоляции жилы провода зачищают ножом или на специальном приспособлении до металлического блеска.
'Разлохмаченные концы изоляции нуждаются в заделке. Она производится проклеиванием концов нитроклеем, надеванием на них полихлорвиниловых и других трубок, наложением ниточного бандажа, опрессовкой концов в пластмассовые наконечники. Концы многожильных проводов должны быть скручены. Для этого применяют плоскогубцы со шлифованными губками или специальные приспособления.
В число обязательных операций электрического монтажа входит маркировка проводников в соответствии с принципиальной и монтажной схемой. Маркировка значительно упрощает проверку схемы и ускоряет нахождение неисправностей.
Провода маркируют при помощи липких лент или бирок, которые надевают на их концы. Бирки представляют изоляционные трубки из полихлорвинила с нанесенными на них номерами или другими обозначениями. Резка бирок производится на автоматизированных приспособлениях (рис. 22.4). Трубка 2 из бухты 1 через направляющие втулки 3 и 6 роликами 4 подается в зону резки и обрезается ножом 5. Длина бирок регулируется за счет изменения скорости подачи трубки. Производительность автомата составляет 10... 150 шт/мин. Точность резки при длине трубки до 25 мм составляет ±1 мм.
При надевании бирок с зазором их закрепляют на проводах клеем. Для маркировки проводов диаметром до 1 мм следует применять цветные бирки. Маркировку можно заменить применением монтажного провода с цветной изоляцией. На электромонтажных схемах в этом случае указывается цвет монтажных проводов сокращенными обозначениями или цифровыми шифрами.
П
ри монтаже вычислительных устройств применяют жгуты из проводов, связанных и уложенных в определенном порядке.
Раскладка жгутов производится на специальных шаблонах (плоских и пространственных). На рис. 22.5 показан жгут, изготовленный на плоском шаблоне. Последний представляет собой доску, на которой шпильками показано направление проводов. Конец провода заводят в отверстие шаблона и закрепляют шпилькой. Около каждой шпильки ставят номер провода. После этого провод прокладывают по контуру шаблона, загибая на угловых шпильках. Раскладка проводов заканчивается закреплением другого конца на конечной шпильке, имеющей тот же номер, что и начальная.
Провода, идущие по одной трассе, вяжут провощенными льняными нитками через каждые 15 ... 20 мм. Для предохранения жгутов от механических повреждений их обматывают лентами или заключают в шланги. При раскладке на обычном шаблоне много времени затрачивается на отыскание соединений в таблице и соответствующих шпилек на шаблоне, что снижает производительность труда и утомляет рабочего. Для облегчения этой работы применяют электрифицированные шаблоны, в которых при закреплении начала первого провода сигнальная лампочка гаснет и загорается сигнальная лампочка зажима, в котором надо закрепить конец первого провода. После этого загорается лампочка у третьего зажима для закрепления следующего провода и т. д.
Применение электрифицированных шаблонов гарантирует правильность укладки и исключает необходимость контроля.
Снизить трудоемкость монтажных работ и повысить надежность соединения по сравнению со жгутовым монтажом позволяет использование гибких печатных кабелей и ленточных проводов (спрессованных, плетеных, тканых). Плоские ленточные провода поступают на сборку в рулонах, которые разрезают на мерные отрезки и удаляют с обоих концов изоляционный слой.
Механическое крепление провода является основным видом заделки монтажных проводов с токоведущей деталью (лепестком, монтажной стойкой и др.) с последующей пайкой. Механическое крепление обеспечивает прочность соединения, а пайка — хорошую электропроводность. Соединение монтажных проводов сваркой обеспечивает более высокую по сравнению с пайкой прочность соединения, термическую стойкость и меньшую трудоемкость.
Несмотря на ряд преимуществ сварных соединений, пайка остается основным способом соединения монтажных проводов. Для электрического монтажа функциональных модулей второго и более высоких уровней наряду с пайкой используется накрутка. Монтаж накруткой заключается в соединении одножильного провода со штыревым выводом схемы путем накрутки с натягом определенного числа витков провода вокруг вывода, имеющего два острых края и более (рис. 22.6). Острые края вывода образуют точки высокого давления, которые приводят к появлению выемок как на проводе, так и на выводе. Соединение двух металлов с большим механическим натягом обеспечивает электрическую непрерывность и механическую стабильность.
Натяжение провода при накрутке достаточно велико для того, чтобы разрушить оксидную пленку на выводе и на навиваемом проводе, а также вдавить провод в грань вывода, на котором при этом образуются газонепроницаемые контактные поверхности.
Важным параметром, характеризующим качество соединения накруткой, является усилие стягивания, т. е. усилие, необходимое для снятия полного соединения вдоль оси вывода. Провода большого сечения обеспечивают большие усилия. Например, при диаметре провода 1,02 мм усилие стягивания составляет 48 Н, для провода 0,32 мм — всего около 20 -Н.
Монтаж накруткой имеет три вида соединений: обычное, модифицированное и бандажное (рис. 22.6, б, в, г).
О
бычное соединение получают путем навивки на вывод неизолированного участка одножильного провода.
Модифицированное соединение имеет 1 ... 2 витка изолированного провода. Изоляция снижает вероятность поломки первого витка неизолированного провода при механических воздействиях за счет уменьшения концентрации напряжения в точках контакта.
Бандажное соединение состоит из нескольких витков неизолированного провода, навитых на вывод навесного элемента, который должен прилегать к широкой поверхности вывода. Число витков при накрутке составляет 5 ... 8, а при бандажном соединении — не менее 8.
Для всех видов соединения накруткой необходимо плотное прилегание витков друг к другу. Накрутку выполняют с помощью специального инструмента (рис. 22.7), который представляет собой валик /, имеющий два отверстия. Центральное отверстие служит для размещения присоединительного штифта 3, а боковое 4 — для монтажного провода 2. На торце валика выполнены канавка для провода и накручивающая кромка 4. С провода снимают изоляцию и оголенный конец провода вставляют в отверстие валика и загибают. Затем насаживают накручивающий инструмент на присоединительный штифт. Процесс накрутки выполняют под легким давлением (до 30 Н) в осевом направлении.
Автоматизация электромонтажа методом накрутки осуществляется на установках с программным управлением. В процессе монтажа автоматически удаляется изоляция с определенного участка провода и производится его отрезка после получения соединения.
2
2.3. Сборка типовых элементов замены и общая сборка ЭВМ
Типовой элемент замены (ТЭЗ) является функциональным элементом (модулем) второго уровня, осуществляющим операции логического преобразования (рис. 22.8).Конструктивной основой ТЭЗ является двусторонняя или многослойная печатная плата. Для осуществления внешних соединений на плате предусматриваются ламели (рис. 22.8, а) или колодки соединителя (рис. 22.8, б). Печатные ламели под 48-контактный разъем выполняются преимущественно на двусторонней печатной плате, а ТЭЗ с гнездовой колодкой соединителя — на многослойной печатной плате.
На двусторонней печатной плате устанавливаются до 24 микросхем, на многослойной — до 72 микросхем.
Установка микросхем на плату должна обеспечить надежное механическое крепление и электрическое соединение ее выводов с контактными площадками печатной платы. Микросхемы устанавливают с шагом, кратным основному шагу координатной сетки, с формовкой и без формовки выводов.
Формовку применяют для увеличения расстояния между выводами, совмещения их с отверстиями координатной сетки, фиксации расстояния от корпуса микросхемы до платы.
Расстояние от основания корпуса микросхемы до изгиба должно быть минимальным. Радиус гибки при этом не должен нарушать форму сечения вывода и его покрытия.
И
нтегральные схемы со штыревыми выводами устанавливают только с одной стороны печатной платы на расстоянии 1 ... 1,5 мм от монтажной плоскости до корпуса платы (рис. 22.9). Этот зазор необходим для устранения перегрева микросхемы при пайке и для возможности нанесения защитного покрытия. Зазор может обеспечиваться за спет формовки или переменным сечением выводов. Для дополнительного механического крепления корпуса приклеивают к изоляционной прокладке. Интегральные схемы в корпусах с планарными выводами устанавливаются с одной или двух сторон платы (рис. 22.10). Они могут приклеиваться к печатной плате эпоксидным клеем или иметь равномерный зазор 0,3 ... 0,6 мм, который обеспечивается формовкой выводов. Если под корпусом микросхемы проходят проводники, то его устанавливают на прокладку из стеклоткани толщиной 0,2 ... 0,3 мм.
Все микросхемы имеют визуальные ключи, исключающие возможность неправильной установки. Они располагаются в зоне первого вывода с учетом возможности их осмотра после установки микросхемы на печатную плату. Конструктивное выполнение ключей не регламентируется. При необходимости предусматриваются установочные ключи в виде штыря, выступа на корпусе, несимметричного расположения выводов и т. п.
О
сновными этапами технологического процесса монтажа микросхем на печатной плате являются входной контроль печатных плат и микросхем, формовка, обрезка и лужение выводов, установка микросхем на печатные платы, пайка выводов микросхем к контактным площадкам печатной платы, контроль электрических параметров, покрытие лаком, окончательный контроль (табл. 22.1). Входной контроль микросхем заключается в визуальном осмотре при помощи лупы.
В случаях, предусмотренных техническими условиями, проверяются электрические параметры интегральных схем. Логические
интегральные схемы проверяют в статическом и динамическом режимах.
Печатную плату проверяют на отсутствие механических повреждений (сколов, трещин, отслаивания проводников и др.), а также оксидов и загрязнении на проводниках, подлежащих пайке. Формовка и обрезка выводов выполняются в различных приспособлениях.Н
а рис. 22.11, а показана рабочая часть штампа для формовки и обрезки планарных выводов. Микросхема помещается в углубление формовочной матрицы 1. При опускании верхней плиты прижим 2 закрепляет выводы, а пуансон 3 производит их формовку. Обрезание выводов производится внешней кромкой пуансона, которая сопрягается с матрицей. Пружина возвращает пуансон в исходное положение при подъеме верхней части штампа. При выполнении формовки выводы подвергаются растягивающему усилию. Если оно будет большим, то в месте их заделки могут возникать трещины, приводящие к нарушению герметичности
корпуса. Создание независимых усилий (рис. 22.11, б) прижатия Р2 формовки Р3 и обрезки Р4 обеспечивает оптимальное растягивающее усилие Р1, не приводящее к нарушению гальванического покрытия выводов и герметичности корпуса. Во всех случаях формовку следует производить с радиусом не менее двух толщин выводов.
Рис. 22.11. Рабочая часть штампа для формовки и обрезки планарных выводов
Рис. 22.12. Приспособление для обрезки и формовки выводов в корпусах второго типа
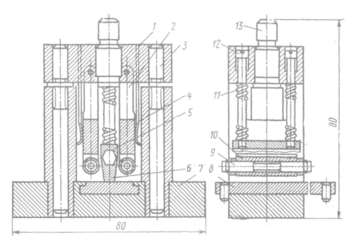
Приспособление для формовки выводов у микросхем с корпусами 2-го типа показано на рис. 22.12.
Н
ижняя часть приспособления закрепляется на столе пресса, а верхняя — при помощи хвостовика 13 в ползуне пресса. Центрирование верхней и нижней частей приспособления осуществляется направляющими колонками 3. Микросхема помещается в матрицу 6, которая закреплена на планке 8 Последняя может перемещаться в пазу платы 7. При опускании ползуна пресса микросхема закрепляется в матрице прижимом 5, установленным на направляющих винтах 12. Необходимое усилие прижима создают пружины 11.
Формовка выводов осуществляется роликами 10 при дальнейшем опускании ползуна. Ролики установлены в рамках 2 на осях 9. Рамки шарнирно связаны с верхней плитой 1 и прижимаются к матрице плоскими пружинами 4. Шарнирное закрепление рамок позволяет производить формовку на угол, меньший 90°, т. е. с учетом последующего упругого пружинения выводов.
Микросхемы могут устанавливаться без формовки выводов. В этом случае они нуждаются только в обрезке, которая осуществляется в специальных приспособлениях. Эти же приспособления применяют в тех случаях, когда обрезка выводов произво дится "независимо от формовки. Лужение выводов элементов обеспечивает высокое качество паяного соединения.
На рис. 22.13 показана схема горячего лужения штырьковых выводов микросхем с обеспечением заданного расстояния между зеркалом расплавленного припоя и корпусом микросхемы /. Последняя устанавливается в подвижной части установки 2, которая перемещается до погружения выводов в расплавленный припой. Глубина погружения определяется контактом 3 датчика с зеркалом припоя 4, находящегося в ванне 5.
Микросхемы устанавливают в металлизированные и облуженные отверстия печатных плат с ориентировкой по ключу и закрепляют при помощи приспособлений.
Приспособление для закрепления печатной платы при ручном монтаже электроэлементов на печатной плате показано на рис. 22 14.
На основании 1 установлены стойки 2 с осями 3. Печатную плату закрепляют на раме 5 прижимами 4. Ее положение определяется штифтами 6. Требуемое положение платы фиксируется делительным диском 7 и штифтом 8.
В мелкосерийном производстве целесообразно применять светомонтажные столы, обеспечивающие программирование ручной сборки элементов на печатной плате. Светомонтажный стол представляет собой сложное устройство, в котором могут применяться различные принципы подачи электрорадиоэлементов интегральных схем и указания места их размещения на печатной плате Места установки элементов обеспечиваются проецированием
посадочного места с кинопленки, подсветкой отверстий в печатных
платах снизу и другими способами. При пользовании светомонтажных столов производительность монтажника повышается на 20 % и более.
Рис. 22 14 Приспособление для закрепления печатной платы при монтаже
В условиях серийного и массового производства применяют сборочные автоматы. Они могут быть узкоспециализированными, рассчитанными на установку одного элемента, или универсальными, позволяющими устанавливать разнообразные элементы. Сборочные головки автоматов выполняют следующие операции, извлечение элементов из накопителей; формовку выводов; перенос элементов и установку их на печатной плате.
Высокое качество монтажной пайки обеспечивается правильным выбором режимов пайки. Групповые методы пайки обеспечивают автоматическое поддержание режимов. При пайке паяльником на рабочем месте устанавливают прибор универсальный монтажника (ПУМ), предназначенный для подключения паяльника, электроножа для снятия изоляции и п
робника. В приборе предусмотрена термопара для измерения температуры жала паяльника. Она состоит из двух металлов: хромеля и коиеля. Прикосновение к термопаре нагретого жала паяльника вызывает в спае двух материалов ЭДС, пропорциональную температуре нагрева.
Проверка монтажа заключается в контроле прочности механического соединения деталей и узлов, прочности пайки (сварки), электрической прочности изоляции и отсутствия замыканий. Прочность механических соединений и пайки (сварки) проверяют путем покачивания проводников около места соединения пинцетом, отверткой или на вибрационных стендах. Проверенные места пайки и сварки рекомендуется закрашивать цветным прозрачным лаком, что исключает возможность повторных осмотров.
Для функционального контроля ТЭЗ используют автоматизированные системы контроля (АСК). Принцип работы АС К основан на тестовом методе проверки схем, который заключается в подаче на входы проверяемого ТЭЗ последовательности входных и анализе выходных сигналов. По результатам анализа делается заключение об их исправности. Автоматизированная система контроля позволяет выявить неисправные ТЭЗ с указанием выходных контактов, на которых сигналы отличаются от требуемых. Поиск конкретных мест неисправности осуществляют с помощью системы диагностики. Она позволяет получить значения логических сигналов на выводах всех микросхем для каждого набора контролирующих тестов, а также перечень адресов по схеме ТЭЗ и последовательность их проверки в случае неправильного логического сигнала на выходе любой микросхемы.
Структурная схема АСК. представлена на рис. 22.15.
Сигналы управления и информации из ЭВМ подаются на преобразователь (Пр), где устанавливаются по амплитуде и уровню и поступают в регистр абонента и дешифратор. Регистр абонента (РгА) обеспечивает выборку подрегистров и используется для хранения управляющего слова во время операции обмена. Дешифратор осуществляет расшифровку состояния регистра абонента и выборку сигналов управления (установка «О», запись, считывание).
Регистр Рг1 используется для хранения информации, поступающей из ЭВМ на проверяемые ТЭЗ и из них в ЭВМ, регистр Рг2 является буферным между Рг1 и проверяемыми ТЭЗ. Регистр РгЗ программно делит контакты проверяемого ТЭЗ на входные и выходные. Каждый регистр имеет 132 разряда и состоит из четырех подрегистров.
Переключающие элементы позволяют распознавать входные и выходные сигналы для проверяемых ТЭЗ. В зависимости от состояния соответствующего разряда регистра РгЗ сигнал переключающего элемента (ПЭ) является выходным с проверяемого ТЭЗ и поступает на вход Рг1 или, наоборот, является входным для проверяемого ТЭЗ. Сдвигатель предназначен для согласования по разрядности ЭВМ и проверяемого ТЭЗ. Время проверки одного ТЭЗ составляет примерно 2 мин при числе проверяющих наборов контролирующего теста не более 100.
В настоящее время интенсивно развиваются методы поверхностного монтажа, которые обеспечивают повышение плотности монтажа и производительности оборудования. При этом предусматривается использование миниатюрных плоских компонентов, для монтажа которых не требуется наличия в печатных платах металлизированных отверстий. Плоские компоненты приклеиваются к печатной плате со стороны монтажа, а затем припаиваются. Использование плоских компонентов не исключает применения обычных, которые устанавливаются на противоположной стороне платы.
При общей сборке ЭВМ ТЭЗ монтируются в более крупные сборочные единицы, из которых образуются стойки. На рис. 22.16 показана установка ТЭЗ в панель, которая является промежуточным элементом конструкции между ТЭЗ и стойкой. Основными конструктивными частями панели являются основание, каркас, направляющие, ответные части разъемов, элементы коммутации панели.
Надежность разъемного соединения определяется материалом контактной пары и удельным давлением в месте контакта. В качестве материала для контактов обычно используют латунь, фосфористую или бериллиевую бронзу. Для повышения износоустойчивости и получения низкого переходного сопротивления контакты покрывают серебром, золотом, палладием. Контактное усилие должно обеспечивать надежный контакт. Большие усилия приводят к быстрому износу контактной пары, а малые — повышают переходное сопротивление и приводит к стабильности контакта.
Для получения разъемного соединения на каждую пару выводов устанавливается пружинящий элемент, обеспечивающий необходимое контактное усилие в паре. При необходимости место контакта подвергают пайке. Такие соединения позволяют производить многократную замену элементов в блоке. Стойка (шкаф) является типовым конструктивным элементом ЭВМ (рис. 22.17). В отличие от шкафа (рис. 22.17, а) стойка не имеет передних дверей (рис. 22.17, б), которые заменяют лицевые панели блоков. Конструкция шкафа предусматривает механический замок для удержания дверей в закрытом состоянии. Основными конструктивными элементами шкафа является подвижная и неподвижная рамы. Неподвижная рама жестко связана с каркасом стойки, а подвижная установлена на шарнирных петлях и может поворачиваться, чем обеспечивается доступ ко всем элементам и электрическим соединениям.
Нижняя часть шкафа (стойки) служит для размещения блоков питания, вентиляционной установки и дополнительных панелей. Электрический монтаж стойки осуществляется с помощью проводов или жгутов. Монтаж, осуществляемый при помощи проводов, должен обеспечить минимальную длину связей и надежный контакт (электрический и механический). Проводники прокладывают по кратчайшему расстоянию между соединяемыми точками. При таком монтаже будет наименьшее взаимное влияние электрических цепей.
Примерные схемы укладки жгутов изображены на рис. 22.18. Основной жгут имеет гибкие петлеобразные отводы на каждый из блоков. Это позволяет выдвигать, поворачивать и регулировать блоки в рабочем состоянии. Отводы представляют собой группы монтажных проводов, связанных прочными нитками.
Форма жгута в поперечном сечении может быть круглой или плоской. Ее выбирают в зависимости от вида деформации, которой он подвергается при выдвижении блока, и сечения жгута.
Большое взаимное влияние электрических цепей имеет место при организованном монтаже (жгутовом или струнном), когда провода укладываются в строго определенных направлениях и на заранее заданном расстоянии друг от друга.
При организованном струнном монтаже блоки, которые должны быть скоммутированы друг с другом, помещают в направляющие шасси. Монтажные провода соединяют соответствующие гнезда разъемов. Каждый проводник помещают в определенном отверстии монтажных колодок. Таким образом, провода на всем протяжении имеют опоры в виде монтажных колодок и не касаются друг друга. При этом монтажные провода, припаянные к контактам одного разъема, не должны проходить над контактами другого разъема. Длину провода берут без запаса на повторные пайки. Провод прокладывают через отверстия монтажных колодок кратчайшим путем, а изменение направления производится только под прямым углом. Провода не должны иметь натяжения, но и не допускается их провисание между контактными колодками. Применение для электрического монтажа гибких печатных кабелей (см. рис. 12.2, б) является более экономичным по сравнению с объемным жгутовым монтажом. При этом повышаются качество и надежность соединений, уменьшается трудоемкость за счет механизации и автоматизации изготовления ГПК. Монтаж можно вести в трех плоскостях, чему способствует гибкость кабеля.
СПИСОК ЛИТЕРАТУРЫ
















