Ушаков_ТПЭВМ (562162), страница 32
Текст из файла (страница 32)
Распределение пленочных элементов в плоскости должно быть равномерным. Элементы контуров располагают на одних линиях (вертикальных или горизонтальных), а зазоры между элементами делают одинаковыми. После компоновки микросхемы определяют коэффициент заполнения подложки Кs, представляющий собой отношение используемой части подложки к общей площади. В среднем Кs = 0,45... 0,55. Зная Кs, можно определить площадь подложки.
Снижение трудоемкости при составлении топологии достигается применением ЭВМ, при помощи которой решают задачу оптимального размещения элементов микросхемы и проводников на подложке.
Оригинал интегральной микросхемы. Он представляет собой чертеж конфигурации топологического слоя тонкопленочной микросхемы, предназначенного для получения фотошаблона. Размеры тонкопленочных микросхем обычно не превышают 50 мм. При увеличении 30х оригинал будет иметь размеры 1,5 X 1,5 м, которые являются максимально допустимыми при фотокопировании.
Оригиналы схемы получают вычерчиванием на жестком полупрозрачном пластике или методом клейкой ленты. Применение прецизионной резательной машины дает возможность обеспечить точность по ширине ±0,025 мм. Более высокую точность можно получить применяя металлические ленты.
Изготовление оригинала интегральной микросхемы и фотошаблона. Фотошаблон представляет собой фотокопию оригинала интегральной микросхемы, выполненной на прозрачном материале в масштабе 1:1 по отношению к размерам микросхемы.
Изготовление масок. Маски служат для получения требуемого рисунка схемы. Различают свободные и контактные маски. Свободные маски выполняют в виде пластин (трафаретов) из бериллиевой бронзы, нержавеющей стали и других материалов с отверстиями требуемой конфигурации. С помощью маски производится экранирование отдельных участков подложки от потока осаждаемого материала при его напылении в вакууме. При ионном распылении металлические маски не применяют, так как они искажают электрическое поле между анодом и катодом, а маски из диэлектрических материалов не находят широкого применения в связи со сложностью их изготовления. Свободные маски изготовляют механической обработкой или фототравлением.
Напыления элементов схемы. Вакуумное напыление через свободную маску в общем случае обеспечивает повторение конфигурации маски с точностью ±25 мкм, а в некоторых случаях до ±10 мкм. Получаемая точность зависит от зазора между маской и подложкой, а зазор в свою очередь - от плоскостности маски и подложки.
Особую проблему представляет коробление маски, которая вследствие малой толщины имеет недостаточную жесткость. Решением задачи получения жесткой маски при малой ее толщине является применение биметаллической маски (рис. 15.14). Ее выполняют из достаточно толстой (150 мкм) фольги 2 с нанесением на ее поверхность тонким (10... 15 мкм) слоем другого металла 1,
который несколько выступает за вырезы в фольге. Этот слой влияет на рассеивание атомов осаждаемого вещества на подложку.
В практике применяют однооперационный и многооперационный методы получения тонкопленочных элементов.
| Рис. 15.14. Биметаллическая маска: 1- тонкий слой никеля; 2 – основание маски(бериллиевая бронза) | Рис. 15.15. Установка многооперационного типа для напыления в вакууме: 1 – подложки; 2 - диск с масками; 3 - экран; 4 - резистивиый испаритель; 5 - карусель с подложками; 6 - нагреватель. |
При однооперационном методе одновременно на ряд подложек осаждается один слой (например, только диэлектрик или нижние обкладки конденсаторов). Затем подложки вынимают и меняют маски, через которые осаждают следующий слой. Осаждение каждого слоя требует разгерметизации рабочего объема установки. Достоинством метода является высокая точность получения конфигурации элементов схемы, так как совмещение масок с подложками производится на воздухе. Однако при этом возможно загрязнение нанесенных слоев и увеличение продолжительности выполнения операции, так как для получения рабочего вакуума порядка 10-4 Па затрачивается 1,5...2 ч.
При многооперационном методе используют установки (рис. 15.15), в которых смонтированы испаритель и соответствующая маска. Каждая позиция защищена экраном. Подложки расположены на карусельном устройстве и могут перемещаться из одной позиции в другие, совмещаясь с неподвижными масками. Напыление осуществляется одновременно на всех позициях и за один технологический цикл откачки можно изготовить пассивную часть тонкопленочной микросхемы. В этом случае полностью исключается воздействие атмосферного воздуха. Однако многооперационный метод требует применения сложной и дорогостоящей технологической оснастки, работа которой в условиях высокого вакуума и высоких температур может быть не всегда надежна.
Перед нанесением пленок производится вакуумная очистка подложек. Эта операция осуществляется при помощи специального электрода, к которому подводится положительное напряжение тлеющего разряда.
В начале напыления желательно применять заслонку между источником, и подложкой, на которую осаждается первоначальная пленка, содержащая летучие элементы.
Контактные маски образуются непосредственно на поверхности подложки и предназначаются для однократного использования. В качестве материала контактной маски применяют фоторезист или другой материал, стойкий к химическим воздействиям (хром, медь и др.). Наиболее широко такие маски применяют для получения микросхем со сложным рисунком и из материалов, трудно поддающихся травлению.
Получение тонкопленочных структур с помощью контактной маски производят методом прямой или обратной (взрывной) фотолитографии.
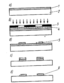
При методе прямой фотолитографии (рис. 15.1, 6) на подложку 2 наносят сплошную пленку 1 материала будущего элемента схемы (рис. 15.16, а) и покрывают слоем фоторезиста 4 (рис. 15.16, 6). После экспонирования с фотошаблона 3 и проявления на поверхности подложки образуется фоторезистивная маска 5 (рис. 15.16, б), через окна в которой производится травление (рис. 15.16, г). Контактная маска удаляется в растворителе и получается требуемая схема 6 (рис. 15.16, д).
При методе обратной («взрывной») фотолитографии (рис. 15.17) на подложку 3 наносят слой фоторезиста 2, толщина которого больше толщины будущего элемента, и экспонируют с фотошаблона 1 (рис. 15.17, а). После проявления на поверхности подложки создается контактная фоторезистивная маска 4, представляющая негативное изображение схемы (рис. 15.17, 6). На открытые и закрытые участки подложки наносят пленку 5 из материала будущего элемента схемы (рис. 15.17, в) и подложку помещают в слабый травитель, не оказывающий действия на материал элемента схемы. Фоторезистивная маска под действием растворителя отрывается от подложки, увлекая за собой часть пленки, расположенной на маске. В результате образуется требуемая схема 6 (рис. 15.17, г).
Недостатками фоторезистнвной маски являются трудности, связанные с очисткой подложки через отверстия в фоторезисте, и температурные ограничения, связанные с необходимостью сохранения маски. Эти недостатки устраняет металлическая контактная маска. В качестве материала для таких масок применяют медь, хром и другие материалы. Они выдерживают высокую температуру при напылении и не требуют сильных травителей.
На рис. 15.18 представлены основные этапы типового технологического процесса изготовления резистивной матрицы методом селективного травления, которое применяется для получения сложного рисунка схемы с высокой точностью. На ситалловую подложку (рис. 15.18, а) напыляют четыре сплошных слоя: сплав МЛТ хром, золото и фоторезист. После экспонирования фоторезиста через фотошаблон (рис. 15.18, б) и проявления на поверхности золотой пленки образуется фоторезистивная маска (рис. 15.18, в). Затем производят селективное локальное травление пленки золота в смеси азотной и соляной кислоты (царская водка). Этот травитель не действует на слой хрома (рис. 15.18, г). Резистивную маску удаляют (15.18, д) и травят пленку хрома в соляной кислоте, которая не действует на золото и сплав МЛТ (рис. 15.18, е). Для получения нужной схемы вторично наносят слой фоторезиста (15.18, ж) и после экспонирования (15.18, з) и проявления (рис. 15.18, и) производится травление сплава МЛТ (рис. 15.18, к). Фоторезистивную маску удаляют и получают требуемую схему резистивной матрицы (рис. 15.18, л).
При изготовлении тонкопленочных структур применяют танталовую и электронно-лучевую технологии.
Рис. 15.18. Последовательность изготовления тонкопленочной резистивной
матрицы методом селективного травления:
1 - фоторезист; 2 - пленка золота; 3 - пленка хрома; 4 - сплав МЛТ; 5 - подложка
Танталовая технология позволяет использовать один материал для получения проводниковых, резистивных и диэлектрических пленок. Пленки тантала получают катодным распылением. Для получения резистивных пленок с большим диапазоном удельного сопротивления применяют катодное реактивное распыление, а диэлектрические слои получают анодированием пленок тантала.
Электронно-лучевая технология наиболее целесообразна для изготовления микросхем, содержащих только пленочные резисторы и проводники. При этом на подложку напыляют сплошные резистивный и проводящий слои.
Для получения требуемой конфигурации элементов производится обработка при помощи электронного луча по заданной программе.
ГЛАВА 17
ПОЛУПРОВОДНИКОВЫЕ ИНТЕГРАЛЬНЫЕ МИКРОСХЕМЫ
17.1. Элементы полупроводниковых микросхем
Полупроводниковыми интегральными микросхемами называют такие, у которых все элементы и межэлементные соединения выполнены в объеме и (или) на поверхности полупроводникового материала. Они могут быть построены на различных материалах. Однако наибольшее применение находит кремний вследствие широкого интервала рабочих температур и возможности получения на его поверхности стойкой пленки диоксида кремния SiO2. Эта пленка служит защитным покрытием при проведении ряда технологических операций, предохраняет схему от внешних воздействий и применяется для изоляции отдельных элементов.
Перспективным материалом является арсенид галлия. Он обладает высокой подвижностью электронов, прозрачен в инфракрасной области, имеет высокую теплопроводность и электрооптические свойства. Схемы, построенные на арсениде галлия, обладают по сравнению с кремниевым в 5 раз большим быстродействием, меньшей мощностью рассеяния и более значительной радиационной стойкостью. Арсенид галлия применяют в оптоэлектронных и других устройствах, где используются его специфические свойства. Широкое использование его ограничивается трудностями получения монокристаллов больших размеров и создания изолирующих слоев. Преодоление этих трудностей может сделать этот материал основным при изготовлении полупроводниковых интегральных схем.
Э
лементами полупроводниковых микросхем являются транзисторы, диоды, резисторы и конденсаторы. Транзисторы и диоды — основные элементы. Они имеют те же характеристики, что и в дискретном исполнении.
Транзисторы. В интегральных микросхемах используют биполярные и униполярные (полевые) транзисторы.
















