Ушаков_ТПЭВМ (562162), страница 19
Текст из файла (страница 19)
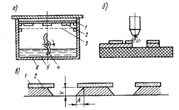
Струйное травление обеспечивает высокую производительность. Травитель под высоким давлением через систему сопл распыляется на поверхность платы (рис. 12.15, б). С поверхностью платы постоянно соприкасается свежий раствор, поступающий из сопла, что обеспечивает высокую скорость травления. Этот метод является универсальным и обеспечивает травление с высокой разрешающей способностью.
Время травления сокращается при повышении температуры раствора (до 40°С), увеличении силы удара струи травильного раствора о поверхность платы и количества воздуха, подаваемого в раствор. В зависимости от перечисленных факторов время травления фольги толщиной 35 мкм может составлять 2...12 мин.
Травящий раствор действует со всех сторон и вызывает нежелательные боковые подтравливания (рис. 12.15, в), которые оцениваются коэффициентом травления
где v - толщина фольги; А - боковое подтравливание.
Рис. 12.15. Травление фольги:
а - набрызгиванием; б - распылением;
в - проводники после травления (1 - фоторезист, 2 - фольга)
Для уменьшения подтравливания следует применять тонкую (18 мкм) или сверхтонкую (5 мкм) фольгу.
Защитный слой трафаретной краски или фоторезиста снимают в щелочных растворах. Для снятия некоторых красок используется дополнительное механическое воздействие вращающихся щеток. После травления необходима тщательная промывка в горячей проточной воде для удаления травителя.
-
Типовые технологические процессы изготовления печатных плат
Все процессы изготовления печатных плат можно разделить на субтрактивные, аддитивные и полуаддитивные.
Субтрактивный процесс (subtractio - отнимать) получения проводящего рисунка заключается в избирательном удалении участков проводящей фольги путем травления; аддитивный процесс (additio - прибавлять) - в избирательном осаждении проводящего материала на нефольгированный материал основания; полуаддитивный процесс предусматривает предварительное нанесение тонкого (вспомогательного) проводящего покрытия, впоследствии удаляемого с пробельных мест.
В соответствии с ГОСТ 23751—86 конструирование печатных плат следует осуществлять с учетом следующих методов изготовления: химического для ОПП, ГПК; комбинированного позитивного (для ДПП, ГПП); электрохимического (полуаддитивного) для ДПП; металлизации сквозных отверстий для МПП. Все рекомендуемые методы (кроме полуаддитивного) являются субтрактивными.
Рис. 12.16. Схема типового технологического процесса изготовления печатной платы химическим методом
Химический метод, или метод травления фольгированного диэлектрика. Метод заключается в том, что на медную фольгу, приклеенную к диэлектрику, наносят позитивный рисунок схемы проводников. Последующим травлением удаляется металл с незащищенных участков и на диэлектрике получается требуемая электрическая схема проводников.
Наиболее распространенными вариантами этого метода являются фотохимический и сеточно-химический, которые отличаются способом нанесения защитного слоя (фотопечать или трафаретная печать). Схема типового технологического процесса изготовления печатных плат химическим методом показана на рис. 12.16.
Основными этапами получения проводников являются (рис. 12.17) подготовка поверхности, нанесение слоя фоторезиста, экспонирование, проявление схемы, травление фольги, удаление фоторезиста.
Рис. 12.17. Основные этапы получения проводников фотохимическим методом
Подготовку поверхности фольги выполняют вращающимися латунными или капроновыми щетками. На поверхность фольги наносят смесь маршаллита и венской извести. В результате зачистки желательно получение шероховатости фольги в пределах Ra 2,5...1,25 мкм, что обеспечивает хорошую адгезию фоторезиста и легкое удаление его при проявлении.
Независимо от механической зачистки во всех случаях проводят химическую очистку фольги и нефольгированных поверхностей платы. Ее выполняют в щелочных растворах с последующей промывкой в деионизованной воде. Для нейтрализации остатков щелочи и удалении слоя оксидов платы подвергают декапированию в растворе соляной и серной кислот.
Качество очистки влияет на все последующие операции технологического процесса. Результатом плохой очистки могут явиться проколы, неполное травление меди, отслаивание, недостаточная адгезия фоторезиста и другие дефекты.
Нанесение слоя фоторезиста осуществляют на подготовленную поверхность 1 фольги (рис. 12.17, а) слоя фоторези ста 2 и производят его сушку в течение 15...20 мин при температуре 65°С (рис. 12.17, б).
Экспонирование осуществляют при помощи фотошаблона 3 с негативным изображением схемы в вакуумной светокопировальной раме для засвечивания. В качестве источника света используют дуговые ртутные и люминесцентные лампы (рис. 12.17, а). Для получения резкого изображения необходим плотный контакт между фотошаблоном и фоторезистом.
Проявление схемы состоит в вымывании растворимых участков фоторезиста, находившихся под темными местами негатива. Для фоторезистов негативного действия в качестве проявителей используют спиртовые смеси и др. Время проявления (2...3 мин) зависит от толщины фоторезиста.
Проявление целесообразно выполнять в двух ваннах. В первой ванне удаляется большая часть фоторезиста, а во второй ванне производится тонкое проявление. Загрязнение проявителя во второй ванне будет незначительным, и действие его в течение большого времени будет стабильным.
Качество полученного слоя можно контролировать путем погружения платы в раствор с красителем. Окраска дает возможность визуально определить наличие дефектов в слое фоторезиста. Однако она может снизить кислотоупорность фоторезистивного слоя.
Неизбежные дефекты эмульсионного слоя устраняются ретушированием (обычно эмалью НЦ-25). При этом закрывают точечные отверстия, разрывы, а также удаляют излишки фоторезиста. Трудоемкость ретуширования зависит от количества дефектов и составляет в среднем 10 мин. на плату. Снижение трудоемкости ретуширования возможно за счет повышения чистоты и обеспыленности окружающей среды.
Полученный защитный слой 4 (рис. 12.17, г) можно подвергать химическому дублению в растворе ангидрида и тепловому дублению (выдержка в термостате при t=60°С в течение 40...60 мин). Необходимость операции задубливания определяется в каждом отдельном случае, так как она уменьшает адгезию фоторезиста.
Дальнейшие этапы являются общими для плат, изготовляемых фотохимическим и сеточно-химическим методами.
Травление представляет собой процесс удаления слоя металла для получения нужного рисунка схемы 5 (рис. 12.17, д). Процесс травления включает в себя предварительную очистку, собственно травление металла, очистку после травления и удаления фоторезиста или краски (рис. 12.17, е).
Механическая обработка платы заключается в штамповании или фрезеровании по контуру и получении отверстий. Для удаления пыли и грязи плату обдувают сжатым воздухом.
Химические методы при сравнительно простом технологическом процессе обеспечивают высокую прочность сцепления проводников с основанием (2 МПа), равномерную толщину проводников и их высокую электропроводность. Время химических воздействий на плату в процессе изготовления составляет ~25 мин. Недостатком химических методов является низкая прочность в местах установки выводов, так как отверстия не металлизируются.
Комбинированный позитивный метод (табл. 12.1). Этот метод применяют для изготовления ДПП и ГПП с металлизированными отверстиями
| Таблица 12.1 | ||
| Наименование этапа | Комбинированный позитивный метод (материал СФ-2-35) | Электрохимический (полуаддитивный) метод (материал СТЭФ.1-2ЛК) |
| Механическая обработка до нанесения проводников | Входной контроль фоль-гированного диэлектрика | |
| Нарезка заготовки Вскрытие базовых отверстий Сверление отверстий, подлежащих металлизации | ||
| Гальванохимическая обработка | Химическая и предварительная гальваническая металлизация 5... 7 мкм | |
| Подготовка металлизированной поверхности заготовки | ||
| Получение рисунка схемы проводников Гальваническое меднение Нанесение защитного покрытия Sn - Pb Удаление фоторезиста или краски | ||
| Травление фольги 40... 42 мкм | Травление меди 5.., 7 мкм | |
| Оплавление защитного покрытия | ||
| Заключительные операции | Обрезка плат по контуру Маркировка, консервация, упаковка | |
на двустороннем фольгированном диэлектрике. Проводящий рисунок получают субтрактивным методом, а металлизацию отверстий осуществляют электрохимическим методом (рис. 12.18). Поверхность обеих сторон платы 1 и отверстия 2 подвергают химическому и предварительному гальваническому меднению для получения слоя меди толщиной 5...7 мкм (рис. 12.18, а). После подготовки металлизированных поверхностей на них создается негативное изображение схемы проводников 3 (рис. 12.18, б). Это изображение может быть получено с помощью сеткографической краски или сухого пленочного фоторезиста.
На наружные поверхности, не защищенные резистивной маской, и в отверстия осаждается слой меди 4, толщина которого в отверстиях должна быть не менее 25 мкм. Гальваническое осаждение меди выполняется на заготовке платы, имеющей сплошной слой фольги, которая защищает поверхность диэлектрика и обеспечивает электрический контакт всех элементов схемы. Металлизированные поверхности покрываются защитным слоем сплава «олово— свинец», толщина которого не менее 10 мкм. Покрытие этим сплавом хорошо защищает медь от травления и после нанесения этого покрытия участки медной фольги, покрытые ранее фоторезистом, удаляются травлением. После травления на плате остается требуемый рисунок схемы 5, образованный облуженной медной фольгой (рис. 12.18, в).
Процесс экспонирования двусторонней печатной платы показан на рис. 12.19. В пластину 6 из оргстекла запрессованы два штифта 1. На плату 5, имеющую фольгу 4 с двух сторон, нанесен фоторезист 3. На штифты устанавливают фотошаблон одной стороны платы, а сверху устанавливают другой шаблон 2.
Изображение проявляют под душем при t = 40...50°С с легким протиранием поверхности губкой. Процесс проявления ускоряется при наложении ультразвуковых колебаний. Набухание пленки является диффузионным процессом внедрения низкомолекулярного раствора в высокомолекулярный слой светочувствительной эмульсии. Диффузия в ультразвуковом поле сильно ускоряется за счет акустических микропотоков. Кавитационные пузырьки проникают в образовавшиеся поры и отрывают копировальный слой от поверхности платы.
Рис. 12.18. Основные этапы получения проводников комбинированным
позитивным методом
Удаление продуктов растворения осуществляется акустическими течениями, что ускоряет процесс проявления во много раз. При этом плата меньше находится в растворе.
Проверка после проявления осуществляется внешним осмотром. Рисунки должны быть четкими и ровными, без подтеков и наплывов эмульсии.
















