Ушаков_ТПЭВМ (562162), страница 23
Текст из файла (страница 23)
При пайке погружением (рис. 13.7) плату помещают в кассету и погружают в расплавленный припой (обычно ПОС61) на половину толщины платы. Затем включают вибратор, что создает условия для проникновения флюса и припоя. Амплитуда вибрации устанавливается экспериментально для каждого типа и размера плат в пределах такого максимального значения, при котором не происходит разбрызгивания флюса и припоя. Время выдержки при температуре припоя 240°С составляет 6 ... 11 с, а при температуре припоя 250°С - 4 ... 8 с.
Ванны для припоя оснащают терморегуляторами, поддерживающими температуру припоя в заданных пределах, и реле времени со звуковой сигнализацией. Нагревательные элементы обеспечивают более интенсивный нагрев дна ванны. В этом случае благодаря естественной конвекции в жидком припое будет происходить непрерывное его перемешивание, обеспечивающее однородность состава припоя во всем объеме ванны. По окончании пайки плату извлекают из припоя и, не выключая вибратор, выдерживают над ванной 5 ... 7 с.
Недостатками пайки погружением являются коробление плат вследствие температурных деформаций, необходимость поддержания постоянной высоты уровня припоя в ванне и быстрое окисление расплавленного припоя. Повышенное коробление ограничивает применение этого метода для плат размером до 150 мм.
Предохранение платы от загрязнения оксидной пленкой достигается использованием очистителей зеркала припоя и кассет специальной конструкции. Установка для пайки с очистителем показана на рис. 13.8.
Ванна 1 с припоем (рис. 13.8, а) поднимается, и дворник (очиститель) 3 погружается на некоторую глубину в расплавленный припой (рис. 13.8, б). Пока ванна неподвижна, дворник, перемещаясь вместе с платой 2, удаляет с поверхности припоя оксидную пленку. Затем ванна поднимается до соприкосновения зеркала припоя с местами пайки (рис, 13.8, в). В этом положении происходит выдержка, необходимая для осуществления пайки, а затем ванна возвращается в исходное положение.
Рис. 13.7. Пайка погружением в расплавленный припой:
1 - электрический обогреватель; 2 - распланленный припой; 3 - печатная плата с установленными радиодеталями; 4 - приспособление для установки платы; 5 - вибратор; 6 - маска; 7 - изоляция
Рис. 13.8. Пайка плат погружением с вертикальным подъемом ванны
Пайка в кассете показана па рис. 13.9. Плата 4 с приспособлением 3 помещается в кассету 2. При опускании кассеты в ванну с припоем 1 она раздвигает оксидную пленку 5, которая располагается по граням кассеты. Когда кассета раскрывается, то припой, свободный от оксидной пленки, поступает в кассету и осуществляет пайку. После пайки кассету извлекают из ванны и выдерживают некоторое время. Вертикальное погружение всей платы в расплавленный припои затрудняет удаление жидких и газообразных остатков флюса, что может привести к захвату его припоем и образованию мостиков, соединяющих близко расположенные проводники.
Рис. 13.9. Пайка погружением в кассете:
а - погружение; б - пайка
Пайка погружением с опрокидыванием платы (рис. 13.10). При этом методе устраняются недостатки предыдущего метода. В ванну погружают сначала один конец платы (рис. 13.10. а), затем постепенно другой конец. Подъем платы производится под некоторым углом а, чтобы припой стекал и не образовывал наплывов. Кинематическая схема установки показана на рис. 13.10, б.
На валу 1 установлены кривошип 2 и кулачки 6, 7, взаимодействующие с выключателями, которые управляют частотой вращения электродвигателя. Кривошип соединен с шатуном 5, который шарнирно закреплен на ползуне 4, перемещающемся по Штанге 3. При подходе к зеркалу припоя и погружения в припой вал вращается медленно, а после выхода из припоя переключается на быстрое вращение.
Пайка волной припоя представляет собой процесс, при котором нагрев паяемых материалов, перемещаемых над ванной, и подача припоя к месту соединения осуществляются стоячей волной припоя, возбуждаемой в ванне. Под стоячей волной понимается состояние среды, при которой расположение максимумов и минимумов перемещений колеблющихся точек среды не меняется во времени.
Рис. 13.10. Пайка погружением с опрокидыванием платы:
а - технологическая схема; б - кинематическая схема
При пайке волной припоя (рис. 13.11) устраняется возможность быстрого окисления припоя и температурных деформаций платы. В ванне 5 находится припой, расплавленный нагревателем 4. Печатная плата 2 проходит по гребню волны 1, которая создается подачей припоя через сопло определенной формы валом с крыльчаткой 3. Постоянный контакт платы с припоем обеспечивает быструю передачу теплоты, что сокращает время пайки.
Пайка струёй припоя является разновидностью метода пайки волной припоя. При этом происходит более интенсивное перемешивание припоя, что обеспечивает большую равномерность температуры и состава припоя, а также свободную от оксидов поверхность припоя.
Пайка волной припоя может быть реализована каскадным методом (рис. 13.12), обеспечивающим более стабильную волну припоя по высоте.
Каскад 1 состоит из гребней 3, расположенных под углом 10°. расплавленный припой 2 из ванны подается на верхнюю ступень каскада. Дальнейшее движение припоя происходит самотеком, с последнего гребня припой стекает обратно в ванну. Плату 4, покрытую флюсом, помещают в кассету и перемещают по направляющим, расположенным под углом 10°. При этом происходит последовательное трехкратное касание мест пайки с припоем, что обеспечивает качественную пайку выводов всех элементов 5, установленных на печатной плате.
Заключительной операцией при всех методах групповой пайки является удаление маски. Для этого печатную плату погружают на 0,8 ...0,9 ее толщины в ванну с горячей водой (t=90°С) и выдерживают до тех пор, пока она не отклеится (2 ... 3 мин). Затем плату обдувают горячим воздухом до полного высыхания. Удаление флюса осуществляется в ванне со смесью бензина (50%) и спирта (50%).
Форма паяных соединений на печатных платах показана на рис. 13.13. Заполнение припоем металлизированных отверстий производится на высоту h1
(2/3) h. Допускаются заливная форма пайки и отсутствие припоя на торцах.
Рис. 13.13. Формы паяных соединений печатных плат:
а - г — с неметяллизированными отверстиями; д – е — с металлизированными отверстиями; ж - и — с пленарными выводами (1 - вывод; 2 - плата; 3 - контактная площадка)
13.3. Проводной монтаж на печатных платах
В единичном и опытном производстве применение МПП нецелесообразно в связи с длительным временем на проектирование и изготовление, а также сложностью внесения изменений при отработке конструкции платы. Более эффективными являются методы, основанные на сочетании проводного и печатного монтажа. В этом
случае вместо печатных проводников используют провода диаметром 15... 30 мкм в полиамидной изоляции. Плата покрывается слоем термореактивного клея, который служит для крепления проводов. Затем на поверхности ДПП создается требуемая разводка. Этим способом можно значительно уменьшить площадь, занятую проводниками.
Проводной монтаж более экономичен, чем метод обычного печатного монтажа, так как отпадает необходимость в гальванических процессах.
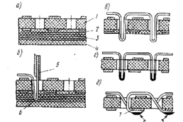
Рис. 13.14. Основные этапы стежкового монтажа: а - сборка пакета; б - формирование петли; в - удаление прокладок; г - лужение; д - пайка
Провода имеют электрическую изоляцию, поэтому и можно прокладывать близко друг к другу и выполнять пересечение. Благодаря этому площадь для размещения схемы может быть уменьшена.
Основными методами проводного монтажа являются стежковый и многопроводный монтаж фиксированными проводами.
Стежковый монтаж. Изолированный провод укладывают на од ной стороне ДПП и выводят его в виде петель через монтажные отверстия на другую сторону с присоединением к контактным площадкам платы. Монтаж осуществляется проводом диаметром до 0,15 мм в эмалевой изоляции, которая удаляется в процессе облу-живания. Образование петель провода производят путем прошивки трубчатой иглой (рис. 13.14).
Двустороннюю печатную плату 1 устанавливают на эластичную прокладку, состоящую из толстой резины 4, нескольких слоев тонкой резины 3 и слоя кабельной бумаги 2. При входе в отверстие игла 5 формирует петлю 6 и прокалывает эластичные прокладки, которые фиксируют петлю. Выходя из отверстия, игла скользит по проводу, а петля остается в прокладке. Затем иглу перемещают по кратчайшему расстоянию к следующему отверстию и цикл повторяют.
Иглу изготовляют из нержавеющей стали со скосом под углом 50 ...75°. Внутренний диаметр иглы принимается больше диаметра провода на 0,1 мм. Материал прокладки должен хорошо прокалываться иглой и закреплять петли провода. В мягкой прокладке трудно закрепить петлю, так как она будет вытягиваться вместе с иглой. При чрезмерно твердом материале формирование петель будет затруднено. После прокладки проводов резиновые прокладки удаляют, стягивая их с петель. Слой кабельной бумаги остается на плате и предохраняет печатный монтаж при лужении петель. Затем кабельную бумагу удаляют, петли подгибают и производят их пайку к контактной площадке. 7. Размеры контактных площадок должны обеспечивать возможность присоединения провода и вывода элемента, которые осуществляются внахлестку. Паяные соединения имеют скелетную форму. На ДПП со стежковым монтажом можно осуществить монтаж эквивалентной восьмислойной МПП.
Плата с двусторонним монтажом представляет собой спрессованный пакет, состоящий из двух оснований со стежковым монтажом и адгезионного слоя между ними. Основания располагают таким образом, чтобы провода находились внутри, а стороны с контактными площадками для пайки петель провода и выводов элементов — с внешней стороны. Двусторонние печатные платы со стежковым монтажом следует применять только в тех случаях, когда высокая плотность монтажа обеспечивает существенное повышение технико-экономических показателей изделия.
Многопроводной монтаж, фиксируемый проводами. Такой монтаж представляет собой упорядоченное прокладывание изолированных проводов с полиамидной изоляцией на поверхности ДПП. Для фиксации проводов на плату наносят слой адгезива, состоящего из клеевых пленок и стеклоткани. После погружения проводов в слой адгезива производят его окончательное отверждение путем прессования при t= 180°С и давлении 1,5 МПа.
















