Ушаков_ТПЭВМ (562162), страница 20
Текст из файла (страница 20)
При получении проводников возникают эффекты их разрастания и подтравливания. Если толщина металлического покрытия превышает толщину слоя резиста, то начинается боковой рост покрытия с такой же скоростью, что и рост толщины основного покрытия, что приводит к образованию грибообразного сечения проводника (рис. 12.20). После покрытия вдоль всего проводника образуются нависающие хрупкие края из сплава SnPb. Обламываясь, они образуют тонкие заусенцы размером 25...50 мкм, которые трудно обнаружить невооруженным глазом. Такие заусенцы необходимо удалить, так как они могут вызвать замыкание соседний проводников.
| Рис. 12.19. Экспонирование двусторонней печатной платы | Рис. 12.20. Сечение проводников: а - разрастание; б - подтравливание; 1 - сплав «олово - свинец»; 2 - металлизация; 3 - фоторезист; 4 - фольга; 5 –основание печатной платы |
Электрохимический (полуаддитивный) метод. Данный метод применяют для изготовления ДПП с высокой плотностью токопроводящего рисунка (табл. 12.1). Основное отличие от комбинированного позитивного метода заключается в использовании нефольгиро-ванного диэлектрика СТЭФ.1-2ЛК с обязательной активацией его поверхности или диэлектрика слофодит с фольгой 5 мкм.
Разрешающая способность электрохимического полуаддитивного метода выше, чем комбинированного позитивного. Это объясняется малым боковым подтравливанием, которое равно толщине стравливаемого слоя и при полуаддитивном методе составляет всего 5 мкм. Метод обеспечивает высокую точность рисунка, хорошее сцепление проводников с основанием и устраняет неоправданный расход меди, который доходит до 80% при использовании фольгированных диэлектриков.
Метод металлизации сквозных отверстий. Метод применяют для изготовления МПП (рис. 12.21). Основные операции технологического процесса получения печатных проводников показаны на рис. 12.22.
Заготовки из фольгированного диэлектрика отрезают с припуском 30 мм на сторону (рис. 12.22, а). После снятия заусенцев по периметру заготовок и в отверстиях поверхность фольги защищают на крацевальном станке и обезжиривают механически (смесью венской извести и наждачного порошка) или химически (путем обработки в соляной кислоте и хромовом ангидриде).
Рисунок схемы внутренних слоев (рис. 12.22, б) выполняют химическим методом. При этом противоположная сторона платы не должна иметь механических повреждений и подтравливания фольги. Базовые отверстия получают пробивкой, ориентируясь на метки совмещения, расположенные на технологическом поле. Полученные заготовки собирают в пакет, перекладывая их склеивающими прокладками из стеклоткани, содержащими 50% термоактивной эпоксидной смолы.
Прессование пакета (рис. 12.22, в) осуществляется горячим способом. Приспособление с пакетом слоев устанавливают на плиты пресса, подогретые на 120…130°С. Первый цикл прессования осуществляется про давлении 0,5 МПа и выдерживает 15...20 мин. Затем температуру повышают до 150…160 °С, а давление - до 4…6 МПа. При этом давлении плата выдерживается из расчета 10 мин на каждой миллиметр толщины платы. Охлаждение ведется без снижения давления.
Рис. 12.21. Схема типового технологического процесса изготовления МПП методом металлизации сквозных отверстий
Совмещение отдельных слоев производят по базовым отверстиям.
Рис. 12.22. Основные этапы получения печатных проводников МПП:
а - изготовление заготовок фольгированного материала и стеклоткани; б - получение рисунка схемы внутренних слоев; в - прессование многослойной печатной платы; г - сверление отверстий, предварительная металлизация, получение рисунка схемы наружных слоев МПП; д - окончательная металлизация отверстий, нанесение защитного покрытия; е - травление меди с пробельных мест
Важным моментом в процессе прессования является приложение максимального давления именно в тот момент, когда смола переходит в состояние геля. Если приложить давление, когда смола находится в жидком состоянии, значительное количество ее будет выдавлено и в готовой плате образуются пустоты. Если приложить давление после того, когда смола из состояния геля перейдет в твердое состояние, между слоями возникает плохая связь.
Для определения состояния геля ведут наблюдение за кромкой пакета. Через несколько минут на ней после предварительного сжатия появляется и начинает пузыриться смола. Момент, когда смола перестанет пузыриться (обычно через 1...2 мин), соответствует наступлению геля. В это время надо приложить полное давление. Воздух, находящийся между слоями, проходит через размягченную смолу и выходит наружу. Частично он задерживается у краев, образуя пустоты, которые удаляются при обрезке краев платы. Во избежание коробления после обрезки краев рекомендуется плату зажать между двумя пластинами и поместить на 40 мин в печь при t = 125°С.
Сверление отверстий выполняют на станках с ЧПУ. Перед сверлением на обе стороны заготовки наносят защитный слой лака. В процессе механической обработки платы загрязняются. Для устранения загрязнения отверстия подвергаются гидроабразивному воздействию, что позволяет удалить заусенцы на фольге, образующиеся при сверлении, и очистить от эпоксидной смолы торцы контактных площадок внутренних слоев. При большом числе отверстий целесообразно применять ультразвуковую очистку, которая обеспечивает интенсивное перемешивание раствора за счет акустических течений и повышенную способность проникновения раствора в мельчайшие отверстия. После очистки и обезжиривания плату промывают в горячей и холодной проточной воде. Затем выполняются химическая и предварительная электролитическая металлизации отверстий и операции для получения рисунка наружных слоев (рис. 12.22, г).
При окончательной электролитической металлизации необходимо получить равномерное по толщине покрытие в отверстиях с толщиной слоя меди не менее 25 мкм (рис. 12.22, д). Все наружные, поверхности платы, не защищенные фоторезистом, и отверстия покрывают защитным сплавом «олово - свинец». После этого фоторезистивную маску удаляют.
Рис. 12.23. Многослойная печатная плата с внутренними переходами:
1 - проводник; 2 - межслойный диэлектрик;
3 – внутренний металлизированный переход;
4 - металлизированный переход между наружными слоями
Схему проводников на наружных слоях получают травлением (рис. 12.22, е). Для обеспечения равномерного травления поверхность фольги зачищают смесью венской извести и наждачного порошка.
Вследствие травления фольги в отверстиях многослойных плат остается большое количество шлака, который удаляют путем очистки при воздействии ультразвуковых колебаний.
Механическая обработка по контуру, получение конструктивных отверстий и пазов осуществляются на фрезерных, координатно-сверлильных и других станках. После окончательного контроля платы подвергают консервированию флюсом ФКСП (канифоль и спирт этиловый).
Метод металлизации сквозных отверстий с внутренними переходами (рис. 12.23). Этот метод отличается от рассмотренного выше наличием дополнительных операций, связанных со сверлением отверстий в отдельных слоях платы и их металлизацией.
Технологический процесс изготовления печатных плат субтрактивными методами имеет ряд недостатков: значительный расход медной фольги; боковое подтравливание, ухудшающее механические и электрические характеристики печатных плат; высокая трудоемкость изготовления и ограниченные возможности повышения плотности монтажа.
С внедрением МПП рост плотности монтажа происходит за счет увеличения числа слоев, а плотность печатного рисунка слоев практически оставалась на прежнем уровне. По технологическим особенностям увеличение числа слоев больше 10...12 является нецелесообразным. Многослойные печатные платы обладают высокими техническими и эксплуатационными характеристиками, однако их проектирование и производство сопряжены с большими трудностями.
Полуаддитивные методы изготовления позволяют повысит плотность печатного монтажа, значительно уменьшить подтравливание проводников и сократить количество операций технологического процесса. Стоимость таких плат на 20% ниже стоимости ДПП, изготовленных субтрактивными методами. Основной проблемой является повышение качества материалов и технологического оборудования.
Заключительный этап производства печатных плат - контроль механических и электрических свойств. Перед контролем платы подвергаются воздействию нагрузок, которые моделируют условия эксплуатации и транспортировки (удары, вибрации, тепловые воздействия и др.).
При контроле механических свойств проверяют наличие трещин и царапин на металлической фольге, форму отдельных элементов платы, качество соединений проводников с контактными площадками, неплоскостность платы, толщину и непрерывность слоя меди в отверстиях, степень подтравливания проводников, величину адгезии проводников и др. Контроль может быть разрушающий (например, изготовление и оценка шлифов) и неразрушающий (визуальный, радиационный и др.).
При контроле электрических свойств проверяется наличие всех электрических соединений и изоляции между проводниками. Дефекты изоляции возникают вследствие образования перемычек (остатки меди после травления), уменьшения расстояния между проводниками из-за погрешностей оригинала рисунка.
Автоматизированные устройства контроля. Для контроля электрических свойств печатных плат широко применяют автоматизированные устройства контроля с использованием ЭВМ.
Структурная схема установки для автоматизированного контроля печатных плат приведена на рис. 12.24. Установка фиксирует обрыв цепи и короткие замыкания проводников, обеспечивает подключение 1024 контрольных точек [7].
Программное обеспечение построено на базе микроЭВМ, накопителя на гибком магнитном диске (ГМД), дисплея и устройства печати. В состав программного обеспечения входят управляющая программа, оперативная система управления режимами, программа контроля установки. Тест контроля предусматривает выдачу команд управления после подключения к контактному устройству (КУ): коммутатора точек (КТ) и приборов (КП), источников тока и напряжения (ИТН), измерительной системы (ИС) и алфавитно-цифрового преобразователя (АЦП).
Заключение о годности платы формируется управляющей программой, которая проверяет правильность передачи информации через КП в ИС и сохраняет информацию до получения результатов измерения. После окончания контроля выдается сообщение о годности платы на терминал. В процессе работы установки осуществляется самоконтроль измерительной системы с помощью эталонной платы и испытательной программы.
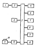
| Рис. 12.24. Структурная схема установки для автоматизированного контроля печатного монтажа | Рис. 12.25. Структурная схема установки для оптического контроля печатных плат: 1 - телевизионная камера; 2 - блок управления и синхронизации; 3 - интерфейс; 4 - мини-ЭВМ; 5 - НМД; 6 - НМЛ; 7 - цифровой телевизионный монитор; 8 - фотосчитывающее устройство; 9 - печатающее устройство; 10 - контролируемый объект; 11 - подвижной стол; 12 - привод; 13 - память для хранения эталонов |
Оптические методы контроля. Эти методы являются весьма перспективными, позволяют обнаружить дефекты любого типа и обеспечивают высокую производительность контроля. Они являются. бесконтактными, так как контролируется не сама ПП, а ее изображение. При этом проверяются ширина проводников и расстояние между ними, наличие разрывов и замыканий проводников, отслоение проводников от подложки. Общим для всех оптических методов контроля является наличие источника излучения, освещающего ПП, и приемника, преобразующего оптический сигнал в электрический. Основной задачей контроля ПП является получение изображения рисунка проводников с необходимой контрастностью. Методы контроля различаются способом сравнения контролируемого объекта с эталоном, а также формой представления эталона (в дискретной или аналоговой форме).
















