05Глава 4 (561022), страница 3
Текст из файла (страница 3)
кБВВ
вПМС
Программируемая
"
Параллельные логические расширители
Разделяемый логический расширитель
Рис. 4.15 Структура макроячейки
Комбинационную часть макроячейки образуют: участок локальной программируемой матрицы "И", обеспечивающий формирование пяти термов; программируемая матрица распределения термов, позволяющая размещать формируемые термы и использовать параллельный и разделяемый логические расширители; матрица "ИЛИ"; элемент сложения по mod2; параллельный расширитель; разделяемый расширитель.
Параллельный расширитель.
Для реализации сложных логических функций, в ДНФ которых входит более пяти термов, целесообразно применение параллельных логических расширителей, позволяющих совместно использовать термы (либо все, либо оставшиеся нераспределенными) смежных макроячеек. Одна цепочка параллельных расширителей может включать до четырех макроячеек, обеспечивая, таким образом, возможность реализации логической функции, имеющей до двадцати термов.
Организация цепочки параллельных расширителей иллюстрируется на рис. 4.16.
В пределах каждого Л Б, содержащего 16 макроячеек, может быть организовано две цепочки параллельных расширителей: одна на макроячейках с номерами от 1 до 8, другая на макроячейках с номерами от 9 до 16. При этом каждая из них начинается с макроячейки, имеющей меньший номер.
Рис. 4.16 Организация цепочки параллельных расширителей
Задержка в формировании выходного значения логической функции, в ДНФ которой входит 20 термов, реализованной с использованием параллельных
расширителей на СБИС МАХ 7032-5, составит: г = iMD +3 * тРЕХР + Тс.омв =1.5+3*0.8+0.8=4.7нс, где: fLAD -задержка формирования выходного сигнала матрицами "И", "ИЛИ";
ТРЕХР - задержка распространения сигнала в цепи параллельного логического расширителя (от выхода матрицы "ИЛИ" i-ой макроячейки до выхода матрицы "ИЛИ" 0+1)-ой макроячейки); Тсомв " задержка передачи сигнала с выхода матрицы "ИЛИ" на выход макроячейки.
Разделяемый расширитель.
Для реализации сложных логических функций с большим количеством переменных, целесообразно использование разделяемых логических расширителей. Разделяемый логический расширитель формирует терм, инверсное значение которого передается матрицей размещения термов в локальную программируемую матрицу "И" и может быть использовано в любой макроячейке данного ЛБ.
Отметим, что каждая макроячейка содержит только один разделяемый расширитель.
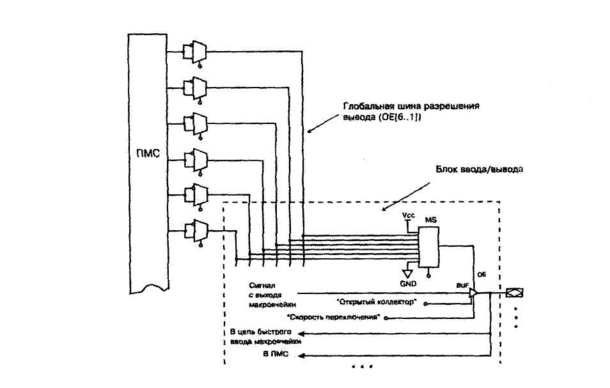
Блок ввода/вывода
Блок ввода/вывода позволяет для каждого вывода СБИС задавать свой режим работы: вход; выход; выход с открытым коллектором (только для СБИС MAX 7000S); двунаправленный.
Блок ввода/вывода содержит (см. рис. 4.17) набор выходных буферов (BUF) и набор программируемых мультиплексоров MS. Число выходных буферов и программируемых мультиплексоров, содержащихся в БВВ, зависит от типа корпуса и числа выводов СБИС и лежит в пределах от 6 до 12.
Выходной буфер имеет: вход установки скорости переключения; вход установки режима "открытый коллектор" (только для СБИС MAX 7000S); вход разрешения работы (ОЕ).
Скорость переключения буфера (низкая, высокая) устанавливается на этапе программирования СБИС. Низкая скорость переключения обеспечивает уменьшение импульсных шумов в системе, но приводит к дополнительной (порядка 4 не) задержке в формировании фронтов выходного сигнала.
Режим "открытый колллектор", при котором выход буфера является выходом с открытым коллектором, также устанавливается на этапе программирования СБИС.
Рис. 4.17 Структура блока ввода/вывода
Программируемый мультиплексор позволяет коммутировать на вход разрешения работы выходного буфера: постоянный логический нуль, при этом выход буфера находится в Z состоянии; постоянную логическую единицу, при этом буфер открыт; один из шести глобальных сигналов разрешения вывода (ОЕ[6...1]), обеспечивающих работы выводов СБИС в режиме вход/выход.
На информационный вход выходного буфера подается выходной сигнал связанной с ним макроячейки.
Сигнал с вывода СБИС поступает в ПМС и в цепь быстрого ввода макроячейки, связанной с данным выводом.
Основные параметры СБИС.
В табл. 4.2 приведены рекомендуемые рабочие параметры СБИС ПЛ семейства MAX 7OOOE(S).
СБИС семейства MAX 7000E(S), за исключением СБИС, выполненных в корпусах 44-PLCC, 44-PQFP, 44-TQFP, позволяют использовать два питающих
напряжения: Vccint=5.0 В для внутренней логики и входных буферов; Vccio=(3.3 В либо 5.0 В) для выходных буферов. При Vccio=5.0 В выходные сигналы СБИС совместимы с системами, питающимися от 5.0 В, а при Vccio=3.3 В выходные сигналы СБИС совместимы с системами, питающимися как от 3.3 В, так и от 5.0В.
Табл.4.2
| Обозначение | Параметр и условия | Min | Мах | Ед. Измерен ия |
| VCCINT | Питающее напряжение для внутренней логики и входных буферов | 4.75 (4.5)' | 5.25 (5.5)' | В |
| VCCIO | 5.0В Питающее напряжение выходных буферов | 4.75 (4.5)' | 5.25 (5.5)' | В |
| 3.3В Питающее напряжение выходных буферов | 3.0 | 3.6 | В | |
| ТА | Рабочая температура коммерческого исполнения | 0 | +70 | °с |
| Рабочая температура индустриального исполнения | -40 | +85 | °с | |
| tR | Длительность фронта входного сигнала | 40 | НС | |
| tF | Длительность спада входного сигнала | 40 | НС | |
| VIH | Входное напряжение высокого уровня | 2.0 | Vccint+ 0.3 | В |
| VIL | Входное напряжение низкого уровня | -0.3 | +0.8 | В |
| VOH | Выходное напряжение высокого уровня; loh= -4mA; Vccio=4.75B | 2.4 | В | |
| Выходное напряжение высокого уровня; loh= -4mA; Vccio=3.0B | 2.4 | В | ||
| VOL | Выходное напряжение низкого уровня; 1о1=12мА; Vccio=4.75B | 0.45 | В | |
| Выходное напряжение низкого уровня; 1оп=12мА; Vccio=3.0B | 0.45 | В | ||
| li | Входной ток утечки | -10 | 10 | мкА |
| lOZ | Ток утечки в Z состоянии | -40 | 40 | мкА |
- для индустриального исполнения
СБИС семейства MAX 7000E(S) позволяют устанавливать режим быстродействия (Turbo-on, Turbo-off) как для всей СБИС в целом, так и для отдельных макроячеек. Установка режима Turbo-off обеспечивает 50% сокращение потребления энергии, а установка режима Turbo-on - возможность построения более быстродействующих устройств. Потребление энергии СБИС, зависящее от тактовой частоты работы, режима быстродействия, нагрузки выходов и т.д., можно оценить по формуле:
P=Pint+Pio = Iccactive * Vcc+Рio,
где Pio - зависит от нагрузки выходов СБИС.
ICCACTIVE = A-MCTON + B( MCDEV - MCTON )
+ C · MCUSED · fMAX · togLC
DEV
где: MCton ' числ0 макроячеек, работающих в режиме Turbo-on; MC
-число макроячеек в СБИС; MCused- число использованных в разработке макроячеек; f - максимальная тактовая частота работы устройства; togLC =
0.125; А, В, С - константы, приведенные в табл. 4.3.
Табл.4.3
| СБИС | А | В | С |
| ЕРМ7032 | 1.87 | 0.52 | 0.144 |
| EPM7032V | 0.83 | 0.4 | 0.048 |
| ЕРМ7064 | 1.63 | 0.74 | 0.144 |
| ЕРМ7096 | 1.63 | 0.74 | 0.144 |
| ЕРМ7128Е | 1.17 | 0.54 | 0.096 |
| ЕРМ7160Е | 1.17 | 0.54 | 0.096 |
| ЕРМ7192Е | 1.17 | 0.54 | 0.096 |
| ЕРМ7256Е | 1.17 | 0.54 | 0.096 |
| EPM7032S | 0.93 | 0.4 | 0.04 |
| EPM7064S | 0.93 | 0.4 | 0.04 |
| EPM7096S | 0.93 | 0.4 | 0.04 |
| EPM7128S | 0.93 | 0.4 | 0.04 |
| EPM7160S | 0.93 | 0.4 | 0.04 |
| EPM7192S | 0.93 | 0.4 | 0.04 |
| EPM7256S | 0.93 | 0.4 | 0.04 |
4.3. Система автоматизированного проектирования MAX+PLUS II
Название системы MAX+PLUS II является аббревиатурой от Multiple Array Matrix Programmable Logic User System. Система MAX+PLUS II имеет средства удобного ввода проекта, компиляции и отладки, а также непосредственного программирования устройств. На рис. 4.18 представлена схема проектирования в рамках пакета MAX+PLUSII.
















