04Глава 3 (558142), страница 5
Текст из файла (страница 5)
По способу межразрядных связей различают сдвигающие регистры
-
с однопроводной передачей информации;
-
с парафазной передачей информации.
По направлению сдвига рассматривают три типа регистров:
-
сдвигающие вправо;
-
сдвигающие влево;
-
реверсивные сдвигающие регистры, которые в зависимости от управляющих сигналов осуществляют сдвиг кодов или вправо, или влево.
Если существуют цепи связей между младшим и старшим разрядами, то сдвигающие регистры называются кольцевыми. Такие схемы удобны для исследования, обладают свойствами деления частоты входных сигналов и могут быть использованы в качестве счетчиков.
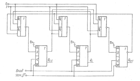
На рисунке 3.6 представлена однофазная схема сдвигающего регистра на D-триггерах, реализующая сдвиг кодов вправо (Di=Qi – 1).
Рис. 3.6 Сдвигающий регистр на D-триггерах
Шина «Уст. 0», на которую подается сигнал установки нулевого слова, связана со входами R всех триггеров регистра.
Рассмотрим работу схемы в кольцевом режиме (выход триггера старшего разряда регистра связан со входом триггера младшего разряда) при наличии в регистре кода 1000. С приходом сигнала сдвига на входы синхронизации С всех D-триггеров происходит перезапись информации из каждого i-го разряда в (i+1)-й разряд и из 4-го в 1-й (за счет кольцевой связи). После поступления первого сигнала сдвига содержимое регистра представляет код 0100, после второго сигнала сдвига — 0010 и т.д. После поступления четырех сигналов сдвига восстанавливается начальное содержимое регистра 1000.
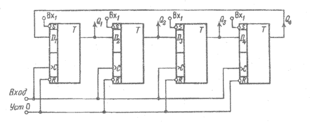
На рис. 3.7 представлена парафазная схема сдвигающего регистра, выполненная на J – K-триггерах и реализующая сдвиг вправо (
,
). Межразрядная связь осуществляется соединением выходов
и
триггера (i-1)-го разряда со входами j и k соответственно триггера i–го разряда. В этом включении J – K-триггер выполняет функцию D-триггера и работа сдвигающего регистра на J – K-триггерах аналогична работе сдвигающего регистра на D-триггерах.
Рис. 3.7 Сдвигающий регистр на J – K-триггерах
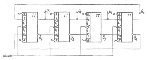
Пример. Рассмотрим метод построения сдвигающих регистров на примере синтеза реверсивного регистра (при х=0 сдвиг на одни разряд вправо, при х=1 сдвиг на один разряд влево) на D- и J – K-триггерах.
Поскольку структура сдвигающего регистра регулярна, функции возбуждения определяются только для одного разряда.
Таблица перехода i–го разряда регистра представлена в столбцах 2..6 табл. 3.17 (при х=0 выход триггера Qi(t+1)=Qi+1(t), a при x=1 — Qi(t+1)=Qi-1(t)).
Таблица 3.17
| № п/п | Вход сигна-ла х | Время t | Время t+1 | Функции возбуждения входов | ||||
| 1 | 2 | 3 | 4 | 5 | 6 | 7 | 8 | 9 |
| 1 | 0 | 0 | 0 | 0 | 0 | 0 | 0 | b |
| 2 | 0 | 0 | 0 | 1 | 0 | 0 | 0 | b |
| 3 | 0 | 0 | 1 | 0 | 0 | 0 | b | 1 |
| 4 | 0 | 0 | 1 | 1 | 0 | 0 | b | 1 |
| 5 | 0 | 1 | 0 | 0 | 1 | 1 | 1 | b |
| 6 | 0 | 1 | 0 | 1 | 1 | 1 | 1 | b |
| 7 | 0 | 1 | 1 | 0 | 1 | 1 | b | 0 |
| 8 | 0 | 1 | 1 | 1 | 1 | 1 | b | 0 |
| 9 | 1 | 0 | 0 | 0 | 0 | 0 | 0 | b |
| 10 | 1 | 0 | 0 | 1 | 1 | 1 | 1 | b |
| 11 | 1 | 0 | 1 | 0 | 0 | 0 | b | 1 |
| 12 | 1 | 0 | 1 | 1 | 1 | 1 | b | 0 |
| 13 | 1 | 1 | 0 | 0 | 0 | 0 | 0 | b |
| 14 | 1 | 1 | 0 | 1 | 1 | 1 | 1 | b |
| 15 | 1 | 1 | 1 | 0 | 0 | 0 | b | 1 |
| 16 | 1 | 1 | 1 | 1 | 1 | 1 | b | 1 |
По таблице переходов, используя матрицу переходов D- и J – K-триггеров, составляют функции возбуждения i–го разряда регистра столбцы (7…9 в табл. 3.17). Карты Вейча, представленные на рис. 3.8, позволяют получить минимальные формы функции.
Так, при использовании D-триггера имеем
Рис. 3.8 Карты Вейча для реверсивного сдвигающего регистра
Если применяется J – K-триггер, то при значениях неопределенных коэффициентов b1= b2= b7= b8= b9= b12= b13= b10=1 и b1= b2= b7= b8= b9= b12= b13= b10=0 получим
Из карт Вейча для функций Ji и Ki легко определить, что
. Это упрощает структуру межразрядных связей регистра. По полученным функциям можно построить схему четырехразрядного реверсивного сдвигающего регистра, реализуемую на D-триггерах, для которой справедливы следующие соотношения:
в базисе И, ИЛИ, НЕ
в базисе И — ИЛИ — НЕ
Схема реверсивного сдвигающего регистра на D-триггерах приведена на рис. 3.9, где каждый i-й разряд схемы соединен с (i-1)-м разрядом и (i+1)-м разрядом посредством логических схем 2И—2И—ИЛИ—НЕ. При сигнале «0» на шине управления реверсом (вправо/влево) под воздействием сигнала «сдвиг» осуществляется сдвиг информации вправо. В случае если на регистре был записан код 1000, то с приходом первого сдвигающего сигнала происходит перепись единичного сигнала по инверсному выходу из (i-1)-го разряда через схему 2И—2И—ИЛИ—НЕ в i-й разряд, при этом на (i-1)-м и (i+1)-м разрядах устанавливается нулевой сигнал, так как в (i+1)-м и в i-м разрядах в предыдущий момент времени был нулевой сигнал. В следующие такты работы регистра будет происходить сдвиг сигнала через схемы 2И—2И—ИЛИ—НЕ в (i+1)-й разряд, в (i+2)-й разряд, а далее за счет циклического переноса в (i+1)-й разряд.
При сигнале «1» на шине управления реверсом (вправо/влево) под воздействием сигнала «сдвиг» информация передвигается влево из (i+2)-го в (i+1)-й и из (i+1)-го в i-й разряд, а далее в (i-1)-й разряд.
Рис. 3.9 Реверсивный сдвигающий регистр
Кольцевые сдвигающие регистры могут использоваться при построении счетчиков с постоянно взвешенными кодами, для которых число единиц и нулей в каждом устойчивом состоянии постоянно.
Счетчики. Счетчиком называется операционное устройство, фиксирующее число сигналов во входной последовательности.
По целевому назначению счетчики подразделяются на простые и реверсивные. Простые счетчики работают либо в режиме сложения (суммирующие счетчики), либо в режиме вычитания (вычитающие счетчики). Реверсивные счетчики реализуют оба режима счета. Операция счета представлена в таблице переходов (3.18).
















