исправления к васиным шпорам (555830)
Текст из файла
| 14. Особенности транзисторов интегральных схем. В полупроводниковой интегральной схеме (ИС) все элементы выполняются групповыми методами в тонком поверхностном слое полупроводниковой пластинки (кристалла ИС). Основными элементами являются транзисторы. Групповые методы создания предусматривают одновременное выполнение всех элементов и соединений между ними в едином технологическом цикле. Элементы ИС должны иметь сходные полупроводниковой структуры, существуют ИС на биполярных и полевых МДП транзисторах. Элементы ИС необходимо изолировать друг от друга. Применяют p-n-переходы, находящиеся под обратным напряжением, или тонкие слои SiO2. В транзисторах ИС все контакты и выводы расположены на одной стороне кристалла. Степень интеграции – число элементов в ИС. Интегральные схемы – полупроводниковой прибор, составленный из большого кол-ва активных и пассивных элементов, в нем реализованы законченные схемы. | 15. Диодное включение транзисторов. Как известно, БП транзистор представляет из себя два взаимодействующих друг с другом p-n-перехода. Очевидно, что существует возможность диодного использования транзистора. Диодное включение транзисторов применяется в основном в ИС, так как создание отдельных диодов на транзисторных ИС технологически сложно. Диодное включение транзистора возможно несколькими способами. Можно использовать только эмиттерный переход, а вывод коллектора исключить. Такое включение обозначается (Б-Э). Можно замкнуть коллекторный вывод на вывод базы (включение БК-Э). Тогда свойства полученного прибора будут несколько отличны от свойств включения (Б-Э). Так, например, в силу разности эквивалентой емкости имеют место различные временные параметры приборов. (Б-Э) отличается от (БК-Э) меньшим быстродействием. Симметрично можно также образовать соединения (Б-К) и (БЭ-К). В рассмотренных выше способах включения используется только один из p-n-переходов транзистора. Причем необходимо отметить, что вследствие значительной разницы уровней легирования эмиттера и коллектора свойства полученных диодов будут сильно различны. Так, например, обратный ток коллекторного p-n-перехода намного больше обратного тока эмиттерного перехода. Возможно также одновременное использование обоих p-n-переходов. Такое включение обозначается (Б-ЭК). |
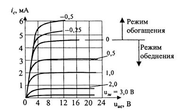
| 16. Физической основой работы полевого транзистора со структурой металл-диэлектрик-полупроводник является эффект поля. Эффект поля состоит в том, что под действием внешнего электрического поля изменяется концентрация свободных носителей заряда в приповерхностной области полупроводника. В полевых приборах со структурой МДП внешнее поле обусловлено приложенным напряжением на металлический электрод-затвор. В зависимости от знака и величины приложенного напряжения могут быть два состояния области пространственного заряда (ОПЗ) в канале – обогащение, обеднение. Режиму обеднения соответствует отрицательное напряжение Uзи, при котором концентрация электронов в канале уменьшается, что приводит к уменьшению тока стока. Режиму обогащения соответствует положительное напряжение Uзи и увеличение тока стока. При Uзи = 0 канал отсутствует и Ic = 0. Транзистор может работать только в режиме обогащения Uзи < 0. Если отрицательное напряжение Uзи превысит пороговое Uзи.пор, то происходит формирование инверсионного канала. Изменяя величину напряжения на затворе Uзи в области выше порогового Uзи.пор, можно менять концентрацию свободных носителей в инверсионном канале и сопротивление канала. Источник напряжения в стоковой цепи Uси вызовет ток стока Iс. | 25. Полевой фототранзистор представляет собой полевой транзистор со встроенным каналом, у которого отсутствует затвор, а лежащая на открытой поверхности канала область доступна для освещения. в фототранзисторе с каналом n-типа при облучении n-канала в нем и прилегающей к нему p-области (затвор) происходит генерация электронов и дырок. Переход между n-каналом и p-областью находится под обратным напряжением и поэтому происходит разделение носителей заряда под действием поля этого перехода. Концентрация электронов в n-канале увеличивается, его сопротивление уменьшается и увеличивается концентрация дырок в p-области. Ток канала (ток стока) возрастает. Фототиристор – управляемый излучением прибор с тремя или большим числом электрических переходов. Его применяют в системах силовой автоматики для переклюсения больших мощностей, системах дистанционного управления источниками питания РЭА, электронных реле, оптоэлектронных парах и др. 1- просветляющее покрытие, 2- диэлектрик, 3 и 4- эмиттерные области, 5 и 6- базовые области, 7- выводы фототиристора. При освещении фототиристор в полупроводнике генерируются парные носители заряда (электроны и дырки), которые разделяются электрическим полем электронно-дырочных переходов. В результате через р – n-переходы начинают проходить токи (фототоки), играющие роль токов управления. |
| 26. Фотоумножители. Устройство, назначение, характеристики. Фотоэлектронные умножители (ФЭУ) – это электровакуумные приборы, в которых ток фотоэлектронной эмиссии усиливается вторичной электронной эмиссией. По существу ФЭУ представляет собой электровакуумный фотоэлемент, объединенный с электронной усилительной системой в едином корпусе. Действие усилительной системы основано на явлении вторичной электронной эмиссии. Устройство фотоэлектронного умножителя показано на рисунке. Эмитируемые фотокатодом (ФК) электроны, ускоряемые и фокусируемые электродами Э, попадает на первый динод Д1. Динод – это электрод (анод), обладающий большим коэффициентом вторичной эмиссии. Вторичная эмиссия вызовет умножение числа электронов в σ раз, где σ – коэффициент вторичной эмиссии динода. На рисунке умножение числа электронов не отражено, показаны лишь траектории отдельных электронов. Часть электронов теряется в фокусирующей и ускоряющей системе (на сетке Э). Появившиеся после бомбардировки первого динода вторичные электроны ускоряются полем второго динода Д2 и выбивают из него вторичные электроны, т.е. со второго динода уйдет в σ2 большее число электронов и т.д.. К аноду придет поток электронов, в σm раз больший, чем было испущено катодом (m – число динодов). Большинство характеристик и параметров ФЭУ соответствуют аналогичным параметрам и характеристикам фотоэлементов, имеющих такие же типы фотокатодов. Рассмотрим только специфические параметры характеристики ФЭУ, такие как коэффициент усиления динодной системы M, анодная токовая чувствительность SIA и световые характеристики. Зависимость коэффициента M от напряжения питания показана на рисунке. Увеличение M при росте напряжения питания вызвано возрастанием σ динодов. При большем числе динодов и прочих равных условиях наклон кривых увеличивается, то же самое будет наблюдаться и при большем коэффициенте вторичной эмиссии динодов. Анодную токовую чувствительность SIA = dIА/dФ измеряют при полном освещении поверхности катода и значениях световых потоков, соответствующих линейной части световой характеристики. Световые характеристики приведены на рисунке. Отклонение от линейности при больших Ф обусловлено влиянием пространственного заряда и утомлением фотокатода. При интенсивных световых потоках возникают большие плотности токов с фотокатода, что и приводит к формированию около его поверхности области объемного заряда, ограничивающего число электронов, летящих в направлении первого динода. ФЭУ применяются для измерения предельной малой интенсивности световых потоков (низкочастотные) и для регистрации кратковременных и быстро изменяющихся малых потоков излучения (высокочастотные и импульсные). Для расширения полосы рабочих частот выводы ФЭУ выполняют коаксиальными, что обеспечивает хорошее согласование с внешними ВЧ или СВЧ цепями. | 27. Первым важным фактором является соизмеримость периода колебаний со временем пролета электронов между электродами эл. прибора. Эл. прибор перестает быть своеобразным «безынерционным реле». Вторым фактором является соизмеримость индуктивности вводов лампы и междуэлектродных емкостей с параметрами внешней цепи. Это вызвано тем что длина волны становится соизмерима с размерами внешней цепи. ПК — это разновидность приборов с кратковременным взаимодействием электронов с высокочастотным электрическим полем. Область клистрона между катодом и ускоряющим электродом является пространством ускорения. Все электроны, приходящие к первой сетке входного резонатора, имеют одинаковую скорость. При подаче сигнала между сетками входного резонатора существует переменное электрическое поле. В один полупериод поле между сетками дополнительно ускоряет электроны, в другой— тормозит их. Поэтому возникает модуляция скорости электронов с частотой сигнала. При дальнейшем движении по инерции (дрейф) внутри пролетной трубки электроны разных скоростей группируются в сгустки. Таким образом, скоростная модуляция превращается в модуляцию электронного потока по плотности. Поэтому область между обоими резонаторами называют пространством группирования, или дрейфа. Очевидно, что частота следования сгустков равна частоте сигнала. Пролетая между сетками выходного резонатора, сгустки вызывают в нем наведенный ток той же частоты. Если собственная частота выходного резонатора равна частоте сигнала, то наведенный ток создает наибольшее напряжение между сетками резонатора. Таким образом, происходит передача энергии от модулированного по плотности электронного потока выходному резонатору, связанному с нагрузкой. Электроны, отдавшие часть своей кинетической энергии выходному резонатору, попадают на коллектор и рассеивают остальную часть кинетической энергии в виде тепла. |
| 28. Клистро́н — электровакуумный прибор, в котором преобразование постоянного потока электронов в переменный происходит путём модуляции скоростей электронов электрическим полем СВЧ и последующей группировки электронов в сгусткив пространстве дрейфа, свободном от СВЧ поля. Классификация: в ПК лектроны последовательно пролетают сквозь зазоры объёмных резонаторов. Дальнейшим развитием пролётных клистронов являются каскадные многорезонаторные клистроны, которые имеют один или несколько промежуточных резонаторов, расположенных между входным и выходным резонаторами. В отражательном клистроне используется один резонатор, через который электронный поток проходит дважды, отражаясь от специального электрода — отражателя. Область клистрона между катодом и ускоряющим электродом является пространством ускорения. Все электроны, приходящие к первой сетке входного резонатора, имеют одинаковую скорость. При подаче сигнала между сетками входного резонатора существует переменное электрическое поле. В один полупериод поле между сетками дополнительно ускоряет электроны, в другой— тормозит их. Поэтому возникает модуляция скорости электронов с частотой сигнала. При дальнейшем движении по инерции (дрейф) внутри пролетной трубки электроны разных скоростей группируются в сгустки. Таким образом, скоростная модуляция превращается в модуляцию электронного потока по плотности. Поэтому область между обоими резонаторами называют пространством группирования, или дрейфа. Очевидно, что частота следования сгустков равна частоте сигнала. Пролетая между сетками выходного резонатора, сгустки вызывают в нем наведенный ток той же частоты. Если собственная частота выходного резонатора равна частоте сигнала, то наведенный ток создает наибольшее напряжение между сетками резонатора. Таким образом происходит передача энергии от модулированного по плотности элекронного потока выходному резонатору, связанному с нагрузкой. Электроны, отдавшие часть кинетичской энергии выходному резонатору, попадают на коллектор и рассеивают остальную часть кинетической энергии в виде тепла. | 29. Отражательный клистрон—маломощный генератор СВЧ-колебаний. Клистрон имеет один полый резонатор, дважды пронизываемый электронным потоком. Возвращение электронов в зазор резонатора обеспечивается отражателем, находящимся под отрицательным постоянным напряжением по отношению к катоду. Т.о. резонатор играет роль группирователя при первом прохождении электронов через зазор и роль выходного контура при втором прохождении. Промежуток между зазорами резонатора и отражателем играет роль пространства группировки, где происходит преобразование модуляции электронного потока по скорости в модуляцию по плотности. Как и двухрезонаторный генератор, отражательный клистрон имеет дискретные области (зоны) возбуждения. При Uo=const зависимость генерируемой мощности от напряжения имеет вид: Каждая зона генерации соответствует дискретному значению n. |
Характеристики
Тип файла документ
Документы такого типа открываются такими программами, как Microsoft Office Word на компьютерах Windows, Apple Pages на компьютерах Mac, Open Office - бесплатная альтернатива на различных платформах, в том числе Linux. Наиболее простым и современным решением будут Google документы, так как открываются онлайн без скачивания прямо в браузере на любой платформе. Существуют российские качественные аналоги, например от Яндекса.
Будьте внимательны на мобильных устройствах, так как там используются упрощённый функционал даже в официальном приложении от Microsoft, поэтому для просмотра скачивайте PDF-версию. А если нужно редактировать файл, то используйте оригинальный файл.
Файлы такого типа обычно разбиты на страницы, а текст может быть форматированным (жирный, курсив, выбор шрифта, таблицы и т.п.), а также в него можно добавлять изображения. Формат идеально подходит для рефератов, докладов и РПЗ курсовых проектов, которые необходимо распечатать. Кстати перед печатью также сохраняйте файл в PDF, так как принтер может начудить со шрифтами.
















