qwerty (555827)

Файл №555827 qwerty (Шпоры к экзамену)qwerty (555827)2015-11-20СтудИзба
Просмтор этого файла доступен только зарегистрированным пользователям. Но у нас супер быстрая регистрация: достаточно только электронной почты!

Текст из файла

30.

31. Лампа бегущей волны (ЛБВ) — электровакуумный прибор, в котором для генерирования и/или усиления электромагнитных колебаний СВЧ используется взаимодействие бегущей электромагнитной волны и электронного потока, движущихся в одном направлении. В приборах типа О происходит преобразование кинетической энергии электронов в энергию СВЧ поля в результате торможения электронов этим полем. Магнитное поле в таких лампах направлено вдоль направления распространения пучка и служит лишь для фокусировки последнего. Принцип действия ламп бегущей волны (ЛБВ) основан на механизме длительного взаимодействия электронного потока с полем бегущей электромагнитной волны. На рисунке схематично представлено устройство ЛБВ. Электронная пушка формирует электронный пучок с определенным сечением и интенсивностью. Скорость электронов определяется ускоряющим напряжением. С помощью фокусирующей системы, создающей продольное магнитное поле, обеспечивается необходимое поперечное сечение пучка на всем пути вдоль замедляющей системы. В ЛБВ электронная пушка, спиральная замедляющая система и коллектор размещаются в металлостеклянном или металлическом баллоне, а фокусирующий соленоид располагается снаружи. Спираль крепится между диэлектрическими стержнями, которые должны обладать малыми потерями на СВЧ и хорошей теплопроводностью. Последнее требование важно для ламп средней и большой выходной мощности, когда спираль нагревается из-за оседания электронов и нужно отводить это тепло, чтобы не было прогорания спирали.

Реальная величина КПД у ЛБВО составляет 30—40 %. Замедляющая система - устройство, формирующее и направляющее медленные эл.-магн. волны, фазовая скорость к-рых меньше скорости света с. С медленными волнами возможно синхронное вз-ствие движущихся заряж. ч-ц, что и определяет осн. применение З. с.: в сепараторах и ускорителях заряж. ч-ц, в электронных приборах СВЧ, осциллографич. трубках и др. З. с. применяется также в кач-ве согласующих элементов в антеннах.

32. Параметры и характеристики лампы бегущей волны:

1) выходная мощность где - коэффициент несогласованности (стоячей волны)

2) ; ; , где С – параметр усиления, R – сопротивление связи, - средний ток луча, N – число сгустков, l – длина спирали

3) коэффициент усиления

4) полоса пропускания частот . С и N частотно зависимы, сильно влияют на полосу пропускания частот

5) коэффициент шума , где Р – давление остаточного газа. определяет чувствительность, чем он выше, тем более слабый сигнал можно подавать на вход.

1) малый входной сигнал, к выходу системы сгустки могут полностью расформироваться. С увеличением возрастает модуляция по скорости, процессы интенсифицируются. В Рвх.опт. сгустки все время передают энергию волне, находятся все время в тормозящем поле волны. на 1) происходит оптимизация группировки электронного потока.

2) скорость сгустка будет сильно различаться. Сгусток будет расплываться, эффективность взаимодействия падает. В Рвх.штрих соседние сгустки начинают

33. Лампа обратной волны (ЛОВ) — электровакуумный прибор, в котором для генерирования электромагнитных колебаний СВЧ используется взаимодействие электронного потока с электромагнитной волной, бегущей по замедляющей системе в направлении, обратном направлению движения. В приборах типа О происходит преобразование кинетической энергии электронов в энергию СВЧ поля в результате торможения электронов этим полем.

Электронная пушка создаёт пучок электронов, движущийся к коллектору. Заданное сечение пучка сохраняется постоянным при помощи фокусирующей системы. Предположим, что со стороны коллектора в замедляющую систему ЛОВ введён СВЧ сигнал, то есть вдоль замедляющей системы справа налево двигается волна с групповой скоростью vгр. Т.к. замедляющая система имеет периодическую структуру, то имеющееся в ней поле можно рассматривать как сумму бесконечного множества гармоник. Фазовые скорости этих гармоник могут быть направлены как в сторону движения энергии (прямые волны), так и в противоположную сторону (обратные волны). Можно подобрать ускоряющее напряжение (U0) для пучка электронов так, чтобы обеспечить синхронизм между электронами и одной из замедленных обратных волн (VeVф). Тогда электроны, поочерёдно проходя мимо неоднородностей, встречают одну и ту же фазу высокочастотного продольного поля, что приводит к тому, что часть кинетической энергии пучка передаётся СВЧ-полю. При этом электронный поток приобретает модуляцию по скорости, что приводит к модуляции плотности электронного. Этот модулированный поток, двигаясь по направлению к коллектору, наводит на замедляющей системе высокочастотный ток. Но энергия волны, с которой взаимодействуют электроны, двигается навстречу

электронному потоку. В результате на выходе лампы около электронной пушки создаётся поле, превышающее первоначальный сигнал. Лампа приобретает свойства автогенератора.

Параметры и характеристики:

- диапазон частот. Ширина диапазона электронной перестройки частот характеризуется либо коэффициентом перекрытия диапазона

либо относительной величиной, выраженной в процентах где fmax и fmin — максимальная и минимальная частоты диапазона электронной перестройки

- выходная мощность. где k — коэффициент пропорциональности, I — ток электроннного луча, I0 — пусковой ток — минимальное значение тока при электронного луча, при котором возникает генерация. Выходная мощность ЛОВ увеличивается за счёт роста подводимой мощности U0I. Однако после некоторого значения U0 происходит уменьшение выходной мощности, связанное с уменьшением разности между рабочим и пусковым значениями тока электронного пучка (II0).

Сплошная линия – реальная зависимость. Пунктирная – теоретическая.

перекрываться, выходная мощность падает. на 2) происходит перегруппировка.

3) нарастание выходной мощности. Прямое прохождение сигнала со входа на выход, ЛБВ работает как волновод с потерями (затуханием)

2-й график: При увеличении Uсп уменьшается модуляция электронного потока по скорости, т.к.

При увеличении Uсп сгустки образуются близко к выходу системы, и эта область будет смещаться к входу.

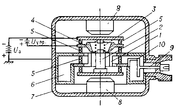
34. Магнетрон – это 2-электродный прибор для генерации СВЧ энергии. Это диод, помещенный в магнитное поле, у него анод совмещен с колебательной системой.

1- анодный блок, 2- катод, 3- резонатор, 4- пространство взаимодействия, 5- вывод энергии. Катод магнетрона имеет циллиндрическую форму и расположен внутри анода вдоль его оси. Постоянное магнитное поле направлено вдоль оси прибора (Х). При достаточно высоком магнитном поле электрон, движущийся по этой кривой не может достичь анода (по причине действия на него со стороны этого магнитного поля силы Лоренца), при этом говорят, что произошло магнитное запирание диода. В режиме магнитного запирания некоторая часть электронов движется по эпициклоидам в пространстве анод-катод. Под действием собственного поля электронов, а также статистических эффектов (дробовой шум) в этом электронном облаке возникают неустойчивости, которые приводят к генерации электромагнитных колебаний, эти колебания усиливаются резонаторами. Если электрон ускоряется полем волны, то радиус его циклотронного движения уменьшается и он отклоняется в направлении катода. При этом энергия передаётся от волны к электрону. Если же электрон тормозится полем волны, то его энергия передаётся волне, при этом циклотронный радиус электрона увеличивается и он получает возможность достигнуть анода.

35. Движение электрона представим как перемещение точки

диска, катящегося без скольжения по цилиндрической

поверхности катода. При данном Uа и В=0 электрон, движется к аноду по радиусу (прямая 1). При увеличении индукции траектория искривляется, но электрон еще попадает на анод (кривая 2). Существует некоторая критическая индукция Вкр, при которой радиус r катящегося диска равен половине расстояния между анодом и катодом, т. е. r=d/2, и траектория касается анода (кривая 3). Если В>Вкр, то электрон не доходит до анода кривая 4) и анодный ток прекращается. Режим работы магнетрона, соответствующий критической индукции (В=Вкр), называется критическим.

- данная кривая называется параболой критического режима. Если точка находится левее параболы (в заштрихованной области), то анодный ток магнетрона существует, правее – отсутствует.

36. Колебательная система многорезонаторного магнетрона состоит из объемных резонаторов и пространства взаимодействия. Соседние резонаторы связаны через пространство взаимодействия, поэтому колебательную систему можно представить замкнутой цепочкой связанных объемных резонаторов. На рис показана эквивалентная схема колебательной системы четырехрезонаторного магнетрона: L и С – эквивалентные индуктивность и емкость идентичных резонаторов; C1 – емкость между сегментом и катодом, которая определяет емкостную связь между резонаторами. Предполагается, что магнитная связь между резонаторами отсутствует. Эквивалентная схема представляет собой замкнутую систему (цепочку) полосовых фильтров, поэтому в такой системе могут возбуждаться только те колебания, для которых сумма сдвигов фазы в звеньях при одном обходе кратна величине 2π.

Каждому виду колебаний соответствует вполне определенная картина СВЧ-поля в пространстве взаимодействия. Силовые линии электрического поля и изменение азимутальной составляющей напряженности E π-вида колебаний в четырехрезонаторном магнетроне (N=4) показаны на рис. Очевидно, что номер вида колебаний одновременно означает периодичность изменения поля.

37.

при

. где Uc- потенциал синхронизации

Причина изменения КПД: в процессе изменения анодного тока будут изменяться процессы группировки спиц.

Замкнутость магнетрона порождает дополнительные моды колебаний.

, где р- пространственные гармоники, N- число резонаторов. Электрон, стартовав, будет описывать циклоиду, будет находиться в тормозящем поле СВЧ-волны. Часть энергии отдает полю и не достигает катода. Если средняя скорость вращения электрона вокруг анода совпадает с фазовой скоростью волны, электрон может находится непрерывно в тормозящей области, при этом передача энергии от электрона к волне наиболее эффективна. Такие электроны группируются в сгустки (так называемые «спицы»), вращающиеся вместе с полем.

n=N/2 – число спиц зависит от количества резонаоров.

38. Митрон - генераторный прибор магнетронного типа, рабочая частота которого в широком диапазоне изменяется пропорционально анодному напряжению.

От обычного многорезонаторного магнетрона М., отличается пониженной добротностью колебательной системы и уменьшенной силой электронного тока в пространстве взаимодействия. Колебательная система М., представляет собой цилиндрический анод, выполненный в виде встречных штырей, встроенных в объёмный резонатор, или отрезок линии, например отрезок радиоволновода, полосковой линии и др. Уменьшение силы тока в пространстве взаимодействия М., достигается либо путём недогрева катода (ограничение эмиссии электронов температурой), либо применением торцевой электронной пушки и заменой центрального эмитирующего катода неэмитирующим электродом. Так же, как и в многорезонаторном магнетроне, при генерировании колебаний электронные сгустки движутся с такой тангенциальной скоростью, что за один полупериод колебаний перемещаются на расстояние, равное шагу анодной штыревой системы. Это условие синхронизма выражается следующей линейной зависимостью между анодным напряжением Ua (в) и рабочей частотой f (Ггц):

39. Усилениеи генерация СВЧ-колебаний осуществляется в результате

взаимодействия бегущей волны в замедляющей системе с электронами, движущимися в скрещенных электрическом и магнитном полях. Лампа имеет две основные части; инжектирующее устройство и пространство взаимодействия. Инжектирующее устройство состоит из катода и управляющего электрода, обеспечивающих создание ленточного электронного потока и ввод его в пространство взаимодействия. Электроны, вылетевшие из катода, в скрещенных статических электрическом Eyпp и магнитном В полях в пространстве между катодом и управляющим электродом двигаются по циклоидальной траектории. Подбирают такие условия, чтобы электроны в момент входа в пространство взаимодействия, образуемого верхним электродом замедляющей системы (анод) и нижним электродом (холодный катод или основание), находились на вершине циклоиды.

Скорость v0z – начальная для пространства взаимодействия. Если начальная скорость электронов направлена параллельно электродам и равна переносной скорости, то траектория электронов прямолинейна. Под действием поперечной составляющей СВЧ-поля происходит группирование электронов в области максимума тормозящего поля волны. Продольная составляющая тормозящего СВЧ-поля заставляет электроны смещаться вверх к аноду. смещение электронов в подвижной системе координат (движущейся синхронно с волной):

40. ЭЛТ – электровакуумный прибор, преобразующий электрические сигналы в световые. Компоненты: 1)электронная пушка (электронно-оптический прожектор) 2) экран, покрытый люминофором 3) отклоняющая система. Электроны эмиттируются с торца электронной пушки, электроды формируют луч, отклоняющая система перемещает луч по заданному закону в пространстве, луч попадает на люминофор и вызывает свечение. Отклонение бывает за счет двух пар ортогональных пластин (электростатическое отклонение) либо двух пар ортогональных магнитных катушек (магнитное отклонение), как показано на рисунке:

В электронном прожекторе происходит также фокусировка электронного потока: электростатическая либо магнитная.

Электростатическая фокусировка:

При соответствующей форме электродов прожектора и разности потенциалов между ними создаётся такое неоднородное электрическое поле, которое ускоряет электроны луча в сторону экрана и одновременно производит его фокусировку. Фокусировка электронного луча производится дважды: в точках F1 и F2.

Магнитная фокусировка:

В качестве второй, главной проекционной линзы, отображающей скрещение траекторий электронов на экран, используется неоднородное магнитное поле короткой катушки, у которой диаметр соизмерим с ее длиной.

41. Электростаическая отклоняющая система:

Состоит из 2 пар пластин, расположенных одна за другой на оси трубки. Одна пара отклоняет луч по вертикали, другая – по горизонтали.

Магнитная отклоняющая система:

Содержит 2 пары катушек, надеваемых на горловину трубки и создающих магнитные поля во взаимно перпендикулярных направлениях.

Параметры экрана:

Потенциал экрана. При необходимости получения больших яркостей потенциал экрана с помощью проводящего покрытия поддерживают равным потенциалу второго анода. Проводящее покрытие соединено с этим электродом.

где - коэффициент вторичной эмиссии электронов.

Светоотдача. КПД люминофора

Яркость свечения. , где А зависит от свойств люминофора, j – плотность тока луча, U- разность потенциалов катода и экрана, U0- минимальный потенциал экрана для люминесценции.

Разрешающая способность. Тем выше, чем меньше ток луча и больше ускоряющее напряжение.

Длительность послесвечения. Время, за которое яркость уменьшается до 1% максимального значения называется временем послесвечения экрана.

Границы электронного потока в неподвижной системе координат для определенного момента времени:

Электронный КПД ЛБВ-М: , где еUсинх – потенциал синхронизации.

Коэффициент усиления: А – коэффициент, учитывающий распределение поровну между парциальными волнами энергии входного сигнала Dпараметр усиления, аналогичный по смыслу параметру усиления С в ЛБВО; Nэлектрическая длина замедляющей системы, а В—коэффициент, связанный с параметром «холодного» рассинхронизма.

Амплитудная характеристика:

42. Цветной кинескоп отличается от чёрно-белого тем, что в нём три пушки — «красная», «зелёная» и «синяя» (1). Соответственно, на экран 7 нанесены в некотором порядке три вида люминофора — красный, зелёный и синий (8). На красный люминофор попадает только луч от красной пушки, на зелёный — только от зелёной, и т. д. Это достигается тем, что между пушками и экраном установлена металлическая решётка, именуемая маской (6). В современных кинескопах маска выполнена из инвара — сорта стали с небольшим коэффициентом температурного расширения.

Существует 2 типа масок:

1) теневая маска

- для кинескопов с дельтаобразным положением электронных пушек (теневая решетка)

- для кинескопов с планарным расположением электронных пушек (щелевая решетка)

2) апертурная решетка. Эта маска состоит из большого количества проволок, натянутых вертикально. Принципиальное отличие заключается в том, что такая маска не ограничивает пучок электронов, а фокусирует его. Чем меньше элементы люминофора, тем более высокое качество изображения способна дать трубка. Показателем качества изображения является шаг маски. Для теневой решетки шаг маски – расстояние между двумя ближайшими отверстиями маски. Для апертурной и щелевой решетки шаг маски – расстояние между двумя ближайшими щелями маски.

43. Фоторезистивный и фотовольтаический эффекты.

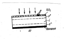
При фоторезистивном эффекте происходит изменение электропроводности полупроводника под действием излучения. Темновая проводимость полупроводника при световом потоке Ф = 0 и постоянной температуре определяется соотношением 0=q(n0n+p0p), где n0, p0 – равновесные концентрации электронов и дырок, n и p – их подвижности. При поглощении излучения в полупроводниках генерируются избыточные носители. При постоянных значениях светового потока Ф  0, подвижности и времени жизни носителей в полупроводнике наступает полное динамическое равновесие с концентрациями избыточных носителей p и n. Проводимость полупроводника изменяется на величину Ф=q(nn+pp). Полная проводимость полупроводника =0+Ф. Спектральная характеристика фотопроводимости изображена на рисунке. Концентрации неравновесных носителей, определяющих фотопроводимость, зависят от параметров полупроводника и механизма поглощения. При собственном поглощении происходит генерация пар носителей, поэтому концентрации избыточных носителей равны. Фотопроводимость полупроводника при собственном поглощении называется биполярной. В полупроводниках с примесным поглощением возрастает концентрация носителей только одного знака – основных или неосновных, а фотопроводимость называется униполярной. Фотовольтаический эффект возникает при облучении светом полупроводника с p-n-переходом (или другим видом потенциального барьера). При собственном поглощении в p-n-переходе и прилегающих к нему областях оптически генерируются избыточные носители – электроны и дырки. Электрическое поле перехода перемещает дырки в p-область, электроны - в n-область, разделяя тем самым генерируемые носители. Через переход протекает дрейфовый фототок неравновесных неосновных носителей. Неравновесные основные носители не могут преодолеть потенциальный барьер перехода и остаются в области генерации. В результате разделения оптически генерируемых носителей концентрации дырок в p-области и электронов в n-области повышаются, что приводит к компенсации объемного заряда неподвижных примесных ионов на границах перехода. Потенциальный барьер перехода уменьшается на величину фото-ЭДС (напряжение холостого хода Uхх). Uxx=Тln(1+IФ/I0). При соединении смежных областей цепью нагрузки, в ней наблюдается электрический ток, равный в случае короткого замыкания фототоку IФ. IФ=Iкз=qSG(L+Lp+Ln), где S – площадь перехода; G – скорость генерации неравновесных носителей; L – толщина перехода; Lp, Ln – диффузионные длины дырок и электронов соответственно.

44. Фоторезистор – это фотоэлектрический прибор с двумя выводами, сопротивление которого изменяется под действием излучения. Принцип работы фоторезистора основан на свойстве полупроводника, изменять свою проводимость под действием светового излучения (фоторезистивный эффект). Применяются фоторезисторы с собственным поглощением и фоторезисторы с примесным поглощением. Фоторезисторы с собственным поглощением имеют высокий коэффициент поглощения Ф. При световом потоке Ф  0 дополнительно появляется световая дифференциальная проводимость. Световая, или энергетическая, характеристика фоторезистора IФ=f(Ф) линейна для небольших световых потоков (см. рисунок на обороте). При световых потоках Ф > Фмакс из-за увеличения концентрации генерируемых неравновесных носителей возрастает вероятность их рекомбинации; время жизни носителей и коэффициент усиления по току уменьшаются. Линейность световой характеристики соответственно нарушается. Нижняя граница световой характеристики Фмин соответствует пороговому току.

Параметрами фоторезистора являются токовая и вольтовая чувствительность, постоянные времени нарастания нр и спада сп фототока, коэффициент усиления по току M, темновое сопротивление Rтм, пороговый поток (пороговая мощность) или обнаружительная способность, допустимая рассеиваемая мощность Pмакс, рабочее напряжение Uр и предельно допустимое напряжение Uмакс, рабочая длина волны или диапазон рабочих волн.

Частотная характеристика чувствительности фоторезистора – это зависимость его токовой и вольтовой чувствительности от частоты модуляции светового потока.

45. Лавинные фотодиоды.

В лавинном фотодиоде оптически возбужденные свободные носители размножаются за счет ударной ионизации атомов в сильном электрическом поле обратносмещенного перехода p-n-, p-i-n-, M-n-n+-типа или гетероперехода. Эффективное лавинное размножение получается при условии, что толщина обедненной области с участком сильного электрического поля превышает длину свободного пробега носителя. От других фотоприборов лавинный фотодиод отличается усилением исходного фототока оптически генерируемых носителей в M раз, где M – коэффициент лавинного размножения. Вольт-амперная характеристика германиевого лавинного фотодиода приведена на рисунке. Рабочая точка А выбирается в предпробойной области на ВАХ фотодиода. При малых потоках излучения коэффициент М – постоянная величина. С увеличением светового потока предельно возможное значение М падает, так как средняя напряженность электрического поля в переходе и толщина области лавинного размножения уменьшаются. В результате крутизна характеристики в области пробоя падает. Лавина в фотодиоде развивается относительно медленно, так как каждая ионизация осуществляется в среднем через время свободного пробега носителей. После окончания короткого импульса светового потока ток лавины медленно уменьшается, пока все носители не покинут обедненный слой электрического перехода. Если за время пролета носителя происходит только одна ионизация атома, то для оценки быстродействия лавинного фотодиода вводят параметр Mfгр = (2нр)-1, где нр – постоянная времени нарастания тока. Величина fгр называется граничной частотой фотодиода. Для кремниевых фотодиодов граничная частота составляет сотни мегагерц, для германиевых – единицы гигагерц.

С увеличением частоты модуляции чувствительность снижается из-за инерционности процесса изменения проводимости. Спектральные характеристики фоторезисторов определяются конкретной зависимостью Ф=f() для каждого материала в области собственного или примесного поглощения.

46. Кремниевые p-i-n-фотодиоды все более вытесняют приборы с p-n-переходом. p-i-n-структура представляет собой трехслойную структуру, центральным слоем которой является слой высокоомного кремния (i-слой) (=2…10 кОмсм) толщиной 40…50 мкм. С одной стороны от i-слоя формируют низкоомный (0,002 кОмсм) n+-слой толщиной 30…50 мкм, а с противоположной стороны тонкий (2…4 мкм) p+-слой. При работе фотоприемника (см. рисунок) около 90% мощности, поглощенной в кремниевом кристалле, приходится на долю i-области. Даже при небольших обратных смещениях в i-области возникает сильное электрическое поле, поэтому генерируемые светом электроны и дырки за счет дрейфа быстро рассасываются. Это обеспечивает малые рекомбинационные потери и высокое быстродействие. Инерционность фотоприемника может быть менее 10-9…10-10 с. Фотодиоды p-i-n-типа обладают малой барьерной емкостью, обладают высокой чувствительностью в длинноволновой области спектра и высокой эффективностью при малых обратных напряжениях. Фотодиодам с p-i-n-структурой присущи и некоторые недостатки. Высокая чистота материала базовой области обуславливает малую высоту потенциального барьера, поэтому фото-ЭДС в вентильном режиме не может превысить Uхх=0,35…0,45В. Это же является причиной и повышенных (в сравнении с p-n-фотодиодами) токов утечки, особенно при высоких температурах. Технологически p-i-n-структура не совмещается с интегральными схемами. Это резко осложняет размещение на одном кристалле приемника и усилителя фотосигналов.

47. Фоточувствительные приборы с зарядовой связью (ПЗС) наиболее перспективны как многоэлементные фотоприемники современной оптоэлектроники. Они широко применяются в современной цифровой аппаратуре видео- и фото-съемки как фоточувствительные матрицы. В современных цифровых фотоаппаратах применяются фото-ПЗС, содержащие до 27 млн. МДП-элементов. Фото-ПЗС представляют собой матрицу (линейную или двумерную) одинаковых МДП-элементов, расположенных на кристалле так близко друг к другу, что между соседними элементами возникает связь (см. рисунок). Принцип действия фото-ПЗС заключается в следующем. Если к какому-то из электродов приложено отрицательное напряжение, то в приповерхностной зоне полупроводника образуется обедненная область (свободные электроны вытесняются в глубь кристалла), представляющая собой потенциальную яму для дырок. Воздействие света вызывает генерацию носителей заряда в толще полупроводника, образующиеся дырки притягиваются к границе раздела диэлектрик – полупроводник и локализуются в тонком приповерхностном слое. Накапливаемый в потенциальной яме заряд пропорционален освещенности элемента. Этот заряд может храниться достаточно долго, пока рекомбинационные процессы не приведут к его исчезновению («стиранию» информации). Если в какой-то момент времени к электроду, соседнему с рассматриваемым, приложить отрицательное напряжение большей амплитуды, то образуется более глубокая потенциальная яма и дырки перетекают в нее. Изменяя нужным образом управляющие напряжения на электродах, можно осуществить направленную передачу заряда вдоль поверхности от структуры к структуре вплоть до вывода его из кристалла. Наглядно это видно на примере трехтактной системы (см. рисунок), в которой в исходном состоянии под напряжением хранения Uхр находится каждый третий электрод (1,4,7 и др., подсоединенные к шине 1). В следующем такте к соседним электродам (шина 2) прикладывается более высокое напряжение сканирования Uск > Uхр, что приводит к перетеканию зарядовых пакетов. Наконец, в третьем такте напряжение на шине 2 снижается до напряжения хранения. Итак, хранившаяся в ячейках 1,4,7 и др. информация оказывается перенесенной на один шаг вправо и подготовленной к новому переносу – полный цикл закончен. Во все время работы на остальных электродах (шина 3) поддерживается небольшое отрицательное напряжение Uсм < Uхр, обеспечивающее обеднение всей поверхности полупроводника и ослабление рекомбинационных эффектов. Для практического осуществления передачи и вывода зарядовой информации кристалл должен содержать элементы, отличные от ПЗС-элементов (p-n-переходы по краям строк, формирователи импульсов и т.п.). Таким образом, в ПЗС пространственное распределение интенсивности света преобразуется в рельеф электрических зарядов, локализующихся в приповерхностной

48. Оптоэлектронная пара, или оптрон, содержит светоизлучатель и фотоприемник, конструктивно связанные через оптическую среду но развязанные гальванически. Оптопара используется как элемент электрической развязки в цифровых и импульсных устройствах, устройствах передачи аналоговых сигналов. Она является составным элементом оптических микросхем. В диодном оптроне в качестве фотоприемника используется фотодиод, в резисторном – фоторезистор, а в тиристорном – фототиристор. В качестве светоизлучателя используются светодиоды, лазеры и другие излучатели. Степень воздействия излучателя на фотоприемник (передаточная характеристика) определяется для диодных и транзисторных оптронов коэффициентом передачи тока Ki=Iвых/Iвх, для резисторных оптронов отношением темнового сопротивления Rтм к световому Rсв или величиной светового сопротивления Rсв, для тиристорных оптронов - минимальным входным током, обеспечивающим спрямление характеристики, Iспр.вх.. Фототиристор включается, если входной ток превысит ток спрямления.

49. Светодиод – полупроводниковый излучающий прибор с одним или несколькими электрическими переходами, который преобразует электрическую энергию в энергию некогерентного светового излучения. В основе принципа действия лежит явление электролюменесценции, связанное с самопроизвольной излучательной рекомбинацией носителей заряда, инжектируемых через p-n переход. Излучение обусловлено рекомбинацией избыточных носителей и сосредоточено в p-n переходе и прилегающих к нему слоях полупроводника. К основным параметрам светодиодов относятся: яркость и мощность излучения, рабочее постоянное прямое напряжение, наибольшее постоянное или импульсное обратное напряжение, время нарастания и спада импульса излучения, длина волны излучаемого импульса или его цвет, наибольший прямой постоянный или импульсный ток, КПД, долговечность и др. Основными характеристиками светодиодов являются яркостная, спектральная и вольт-амперная. Яркостная характеристика – это зависимость В от тока через p-n переход, спектральная – интенсивности светового потока от длины волны. На рисунке приведены спектральные характеристики зависимости относительной мощности от длины волны излучения для светодиодов из фосфида галлия (1) и фосфида арсенида галлия (2):

Характеристики

Тип файла
Документ
Размер
43,7 Mb
Тип материала
Высшее учебное заведение

Тип файла документ

Документы такого типа открываются такими программами, как Microsoft Office Word на компьютерах Windows, Apple Pages на компьютерах Mac, Open Office - бесплатная альтернатива на различных платформах, в том числе Linux. Наиболее простым и современным решением будут Google документы, так как открываются онлайн без скачивания прямо в браузере на любой платформе. Существуют российские качественные аналоги, например от Яндекса.

Будьте внимательны на мобильных устройствах, так как там используются упрощённый функционал даже в официальном приложении от Microsoft, поэтому для просмотра скачивайте PDF-версию. А если нужно редактировать файл, то используйте оригинальный файл.

Файлы такого типа обычно разбиты на страницы, а текст может быть форматированным (жирный, курсив, выбор шрифта, таблицы и т.п.), а также в него можно добавлять изображения. Формат идеально подходит для рефератов, докладов и РПЗ курсовых проектов, которые необходимо распечатать. Кстати перед печатью также сохраняйте файл в PDF, так как принтер может начудить со шрифтами.

Список файлов ответов (шпаргалок)

Свежие статьи
Популярно сейчас
Почему делать на заказ в разы дороже, чем купить готовую учебную работу на СтудИзбе? Наши учебные работы продаются каждый год, тогда как большинство заказов выполняются с нуля. Найдите подходящий учебный материал на СтудИзбе!
Ответы на популярные вопросы
Да! Наши авторы собирают и выкладывают те работы, которые сдаются в Вашем учебном заведении ежегодно и уже проверены преподавателями.
Да! У нас любой человек может выложить любую учебную работу и зарабатывать на её продажах! Но каждый учебный материал публикуется только после тщательной проверки администрацией.
Вернём деньги! А если быть более точными, то автору даётся немного времени на исправление, а если не исправит или выйдет время, то вернём деньги в полном объёме!
Да! На равне с готовыми студенческими работами у нас продаются услуги. Цены на услуги видны сразу, то есть Вам нужно только указать параметры и сразу можно оплачивать.
Отзывы студентов
Ставлю 10/10
Все нравится, очень удобный сайт, помогает в учебе. Кроме этого, можно заработать самому, выставляя готовые учебные материалы на продажу здесь. Рейтинги и отзывы на преподавателей очень помогают сориентироваться в начале нового семестра. Спасибо за такую функцию. Ставлю максимальную оценку.
Лучшая платформа для успешной сдачи сессии
Познакомился со СтудИзбой благодаря своему другу, очень нравится интерфейс, количество доступных файлов, цена, в общем, все прекрасно. Даже сам продаю какие-то свои работы.
Студизба ван лав ❤
Очень офигенный сайт для студентов. Много полезных учебных материалов. Пользуюсь студизбой с октября 2021 года. Серьёзных нареканий нет. Хотелось бы, что бы ввели подписочную модель и сделали материалы дешевле 300 рублей в рамках подписки бесплатными.
Отличный сайт
Лично меня всё устраивает - и покупка, и продажа; и цены, и возможность предпросмотра куска файла, и обилие бесплатных файлов (в подборках по авторам, читай, ВУЗам и факультетам). Есть определённые баги, но всё решаемо, да и администраторы реагируют в течение суток.
Маленький отзыв о большом помощнике!
Студизба спасает в те моменты, когда сроки горят, а работ накопилось достаточно. Довольно удобный сайт с простой навигацией и огромным количеством материалов.
Студ. Изба как крупнейший сборник работ для студентов
Тут дофига бывает всего полезного. Печально, что бывают предметы по которым даже одного бесплатного решения нет, но это скорее вопрос к студентам. В остальном всё здорово.
Спасательный островок
Если уже не успеваешь разобраться или застрял на каком-то задание поможет тебе быстро и недорого решить твою проблему.
Всё и так отлично
Всё очень удобно. Особенно круто, что есть система бонусов и можно выводить остатки денег. Очень много качественных бесплатных файлов.
Отзыв о системе "Студизба"
Отличная платформа для распространения работ, востребованных студентами. Хорошо налаженная и качественная работа сайта, огромная база заданий и аудитория.
Отличный помощник
Отличный сайт с кучей полезных файлов, позволяющий найти много методичек / учебников / отзывов о вузах и преподователях.
Отлично помогает студентам в любой момент для решения трудных и незамедлительных задач
Хотелось бы больше конкретной информации о преподавателях. А так в принципе хороший сайт, всегда им пользуюсь и ни разу не было желания прекратить. Хороший сайт для помощи студентам, удобный и приятный интерфейс. Из недостатков можно выделить только отсутствия небольшого количества файлов.
Спасибо за шикарный сайт
Великолепный сайт на котором студент за не большие деньги может найти помощь с дз, проектами курсовыми, лабораторными, а также узнать отзывы на преподавателей и бесплатно скачать пособия.
Популярные преподаватели
Добавляйте материалы
и зарабатывайте!
Продажи идут автоматически
7265
Авторов
на СтудИзбе
245
Средний доход
с одного платного файла
Обучение Подробнее