записка_АмельченкоПИ (520082)
Текст из файла
Министерство образования и науки Российской Федерации
Государственное образовательное учреждение
высшего профессионального образования
МОСКОВСКИЙ ЭНЕРГЕТИЧЕСКИЙ ИНСТИТУТ
(технический университет)
Кафедра основ конструирования машин
Расчетно-пояснительная записка
к курсовому проекту
по курсу
«Прикладная механика»
Тема: ПРИВОД К ЦЕПНОЙ РЕШЕТКЕ КОТЛА
МИФТ 002006.000 ПЗ
Группа ТФ-02-04
Студент Амельченко П.И.
Преподаватель Писарев Д.С.
Москва 2006 г.
М
ОСКОВСКИЙ ЭНЕРГЕТИЧЕСКИЙ ИНСТИТУТ
(технический университет)
Кафедра основ конструирования машин
ТЕХНИЧЕСКОЕ ЗАДАНИЕ № 007
к курсовому проекту
по курсу "Прикладная механика"
ТЕМА: Привод подвесного цепного конвейера
Вариант № 006
Студент________________ Группа__________________
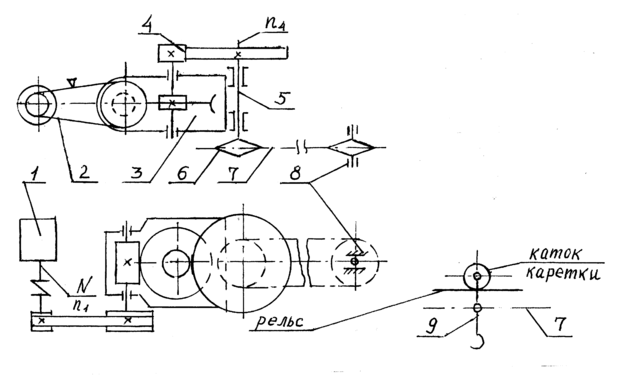
Схема и краткое описание прототипа
Обозначения:
-
Электродвигатель
-
Передача клиноременная
-
Редуктор червячный
-
Передача зубчатая открытая
5. Вал конвейера (ведущий)
6. Звездочка цепного
конвейера (ведущая)
-
Цепь пластинчатая
-
Устройство натяжное
-
Каретка
Рекомендуемые материалы:
1. Этапы выполнения, методические рекомендации и список литературы приведены на стендах кафедры ОКМ.
2. Чертежи прототипов редукторов и узлов механизмов находятся в атласах по деталям машин (авторы: Решетов, Дашкевич, Цехнович и др.)
З
адание на курсовой проект
-
Разработать технический проект червячного редуктора.
-
Разработать конструкцию предохранительной муфты, встроенной в шестерню открытой передачи.
-
Выполнить рабочие чертежи деталей.
Исходные данные (техническая характеристика)
| № | Наименование, размерность | Вариант | |||||||
| nn | 1 | 2 | 3 | 4 | 5 | 6 | 7 | 8 | |
| 1. | Тип электродвигателя | 4А90L2У3 | 4А90L4У3 | 4А90L6У3 | |||||
| 2. | Мощность электродвигателя N, кВт | 3 | 2,2 | 1,5 | |||||
| 3. | Частота вращения вала двига-теля n1,об/мин | 2840 | 1425 | 935 | |||||
| 4. | Частота вращения ведущего вала конвейера n4, об/мин | 25 | 20 | 15 | 10 | 15 | 12 | 8 | 10 |
| 5. | Срок службы h, ч | 24 000 | |||||||
Консультант_______________________
СОДЕРЖАНИЕ
Задание на курсовой проект 3
1. Подбор двигателя и передаточных чисел ступеней привода 5
2. Кинематический и силовой расчет привода 6
3. Выбор материалов зубчатой пары и расчет допускаемых напряжений 7
4. Проектирование зубчатой передачи. Расчет основных геометрических параметров зубчатой пары 10
5. Проверочные расчеты передачи 10
6. Предварительные расчеты валов, конструктивных размеров шестерни, зубчатого колеса и выбор подшипников 15
6.1. Предварительные оценки диаметров валов 15
6.2. Выбор форм и определение конструктивных размеров шестерни и зубчатого колеса 16
6.3. Предварительный подбор подшипников 16
7. Определение основных размеров корпусных деталей. Первый (упрощенный) этап эскизной компоновки 17
8. Расчетные схемы валов. Расчет усилий в зацеплении, реакций в опорах и проверка долговечности подшипников 18
8.1. Силы в зацеплении 18
8.2. Реакции в опорах быстроходного вала и расчет подшипников 19
8.3. Реакции в опорах вала тихоходного вала и расчет подшипников Error! Bookmark not defined.
9. Построение эпюр и уточненный расчет валов на жесткость и прочность 22
9.1. Построение эпюр изгибающих и крутящего моментов 22
9.2. Расчеты тихоходного вала на выносливость 27
10. Конструирование и проверка прочности шпоночных соединений 29
10.1. Соединение выходного конца быстроходного вала с полумуфтой 29
10.2. Шпоночные соединения зубчатых колес с валами 30
10.3. Соединение на выходном конце тихоходного вала 30
11. Выбор сорта масла 30
12. Назначение посадок сопряженных деталей и схемы характерных посадок 30
13. Модернизация редуктора 30
14. Спецификация Error! Bookmark not defined.1
15. Список использованных источников 35
-
Подбор двигателя и передаточных чисел ступеней привода
ЗАДАНО:
В состав привода входят:
1. Электродвигатель;
2. Механическая передача 1(Мех.устройство1 - МУ1)
3. Механическая передача 2(Мех.устройство2 - МУ2)
4. Исполнительное устройство(не показано)
Проводим анализ потребной мощности на валу и частоты вращения вала на входе исполнительного устройства :
ПО ЗАДАНИЮ:
ПРИНИМАЕМ КПД устройств:
Общий КПД:
Требуемая мощность электродвигателя:
ПРИНИМАЕМ двигатель мощностью 1.5 кВт:
мощность двигателя не меньше требуемой
Ориентировочные значения передаточных чисел привода
при различных типах двигателя:
для упрощения
ПРИНИМАЕМ передаточные числа устройств:
По заданию МУ1-зубчатый редуктор
МУ2- отсутствует
выбрали по справочнику вторую ступень
По полученным значениям принимаем двигатель типа 100L8/700
c асинхронной частотой вращения 750 об/мин мощностью 4 кВт.
-
Кинематический и силовой расчет привода
n1 =nДВ - частота вращения вала двигателя
Здесь n1 и n2 частоты вращения входного и выходного валов редуктора, n3 частота вращения исполнительного устройства
Мощности на валах редуктора (МУ1) и (МУ2) определяются след. образом .
Угловые частоты вращения валов
-
Выбор материалов зубчатой пары и расчет допускаемых напряжений
Принимаем для изготовления колес распространенную сталь 45
с термообработкой (Таб.2.8)
Шестерня
Колесо
Сталь 45
Улучшение( до диаметров 80 мм)
Сталь 45
Улучшение (д более 80
Твердость поверхностей зубьев по Бринеллю (Табл. 2.6,2.7 [1])
3.1. Допускаемые контактные напряжения
3.1.1. Допускаемые контактные напряжения при базовом числе циклов нагружения, МПа (Табл.2.7 [1])
3.1.2. Базовое число цикло нагружения (Табл. 2.6, 2.7 [1])
3.1.3. Число циклов перемены напряжения
Срок службы:
3.1.4. Коэффициент долговечности
3.1.5. Ограничения на коэффициент долговечности
Принимаем:
Коэффициент безопасности,
3.1.6. Допускаемые контактные напряжения, МПа
Принимаем:
3.2. Допускаемые изгибные напряжения
3.2.1. Допускаемые изгибные напряжения при базовом числе циклов нагружения ,МПа (Табл. 2.7)
3.2.2. Базовое число циклов нагружения (Табл. 2.7.)
3.2.3. Число циклов перемены напряжения
3.2.4. Коэффициент долговечности
3.2.5. Ограничения на коэффициент долговечности
Принимаем
3.2.6. Допускаемые изгибные напряжения, МПа
-
Проектирование зубчатой передачи. Расчет основных геометрических параметров зубчатой пары
4.1.МЕЖОСЕВОЕ РАССТОЯНИЕ
Межосевое расстояние аw должно быть больше или равно
Принимаем следующие значения параметров, входящих в расчетную формулу (1)
4.1.1. Вспомогательный коэффициент, учитывающий механические свойства материалов колес . (табл. 2,9 )
4.1.2. Коэффициент распределения нагрузки по ширине венца. (табл.2.11 [1])
4.1.3. Относительная ширина венца колеса (табл.2.23 [1]),
4.1.4. Расчетное значение межосевого расстояния, мм
4.1.5. Округляем расчетное значение межосевого расстояния передачи, выбрав его из ряда размеров Ra40.
(табл. 2.22)
4.2.РАСЧЕТ ГЕОМЕТРИЧЕСКИХ ПАРАМЕТРОВ КОЛЕС ЗУБЧАТОЙ ПЕРЕДАЧИ
4.2.1. Угол профиля
4.2.2. Модуль зацепления
Характеристики
Тип файла документ
Документы такого типа открываются такими программами, как Microsoft Office Word на компьютерах Windows, Apple Pages на компьютерах Mac, Open Office - бесплатная альтернатива на различных платформах, в том числе Linux. Наиболее простым и современным решением будут Google документы, так как открываются онлайн без скачивания прямо в браузере на любой платформе. Существуют российские качественные аналоги, например от Яндекса.
Будьте внимательны на мобильных устройствах, так как там используются упрощённый функционал даже в официальном приложении от Microsoft, поэтому для просмотра скачивайте PDF-версию. А если нужно редактировать файл, то используйте оригинальный файл.
Файлы такого типа обычно разбиты на страницы, а текст может быть форматированным (жирный, курсив, выбор шрифта, таблицы и т.п.), а также в него можно добавлять изображения. Формат идеально подходит для рефератов, докладов и РПЗ курсовых проектов, которые необходимо распечатать. Кстати перед печатью также сохраняйте файл в PDF, так как принтер может начудить со шрифтами.
адание на курсовой проект















