Семинар 8 Заземление (1254563), страница 3
Текст из файла (страница 3)
Основными частями УЗО являются:
- прибор защитного отключения , содержащий
*датчик , воспринимающий изменение параметра и преобразующий его
в управляющий сигнал,
*усилитель,
*цепи контроля , регулярно проверяющие исправность схемы,
*вспомогательные элементы - сигнальные лампы, измерительные приборы и т.п.;
- автоматический выключатель ,служащий для включения и отключения цепей,
находящихся под нагрузкой, и при коротких замыканиях при
поступлении сигнала от прибора защитного отключения.
УЗО может реагировать на изменение до известных пределов таких параметров электрической сети, как, например,
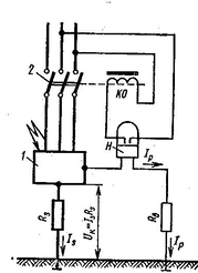
* напряжение корпуса относительно земли - в результате замыкания фазного провода на заземленный или зануленный корпус и возникновения на корпусе повышенного напряжения.
Принцип действия – быстрое отключение от сети установки, если напряжение её корпуса относительно земли окажется ВЫШЕ некоторого предельно допустимого значения U к.доп, вследствие чего прикосновение к корпусу становится ОПАСНЫМ. (см. рис.84). Такие устройства применяются только электроустановками до 1000 В с индивидуальными заземлениями.
* оперативный постоянный ток, проходящий через сопротивления изо-
ляции проводов (в результате повреждения этой изоляции или прикосно-
вения человека к проводу) и др.
При нормальном режиме работы сети сопротивление проводов Rэ и поэтому сила тока Iр (от источника постоянного тока) НЕЗНАЧИТЕЛЬНА. В случае же снижения сопротивления изоляции одной (или двух, или трех) фазы в результате её замыкания на землю или на корпус, либо в результате прикосновения к фазе человека сопротивление Rэ уменьшится , а ток Iр возрастет, и если он превысит ток срабатывания реле, произойдет замыкание цепи, отключающей катушки и отключение сети от источника питания.
Область применения – сети небольшой протяженностью напряжением до 1000 В с изолированной нейтралью.
















