Диплом полный (1233108), страница 2
Текст из файла (страница 2)
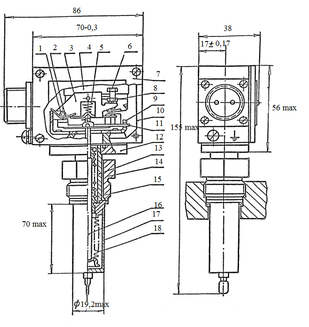
Рисунок 1.2 – Схема, устройства, габаритные размены датчика-реле ТАМ-103:
1–ось, 2–пружина кручения, 3–рычаг, 4–микропереключатель, 5–пружина растяжения, 6–винт диапазона, 7–прокладка, 8–контр-гайка, 9–панель, 10–корпус, 11–рычаг, 12–фланец, 13–корпус термосистемы, 14–гайка, 15–пружина, 16–шток, 17–баллон, 18–сильфон
Датчик-реле температуры ТАМ103, рисунок 1.2, выполнен в литом алюминиевом корпусе 10 и состоит из следующих основных частей: термосистемы, передаточного механизма с узлом настройки, переключателя и вводного устройства. В термосистему входят: сильфон 18, баллон 17, корпус 13, гайка 14, предназначенная для крепления прибора и фланец 12. Между сильфоном 18 и баллоном 17 заключена термочувствительная жидкость. В дно сильфона 18 упирается шток 16, поджимаемый пружиной 15. К передаточному механизму относятся рычаги 3 и 11 шарнирно укрепленные на оси 1 и поджатые к штоку 16 двумя пружинами кручения 2. Кинематическая связь рычагов 3 и 11 осуществляется пружиной растяжения 5, винтом диапазона 6. Электрический ввод осуществляется штепсельным разъемом. Принцип работы прибора основан на сравнении перемещения конца штока жидкостной термосистемы, вызванного изменением объема наполнителя при изменении температуры с дифференциальным ходом переключателя. При изменении температуры контролируемой среды, окружающей баллон 17, объем жидкости изменяется, что приводит к перемещению дна сильфона 18 и штока 16, который передаст это перемещение рычагу 3. При повышении температуры контролируемой среды, рычаг 3 перемещается и через пружину 5 перемещает рычаг 11, который свободным концом воздействует на кнопку микропереключателя 4. После переключения электрических контактов переключателя 4 в случае продолжающегося повышения температуры контролируемой среды (тепловая инерция объекта или инерция исполнительного устройства), рычаг 11 садится на верхнюю крышу окна в панели 9, а рычаг 3 продолжает перемешаться. При понижении температуры
контролируемой среды объем жидкости уменьшается, дно сильфона 18 и шток 16 перемещается вниз, а вместе с ними под действием пружин кручения 2 перемещаются вниз рычаги 3 и 11. Рычаг 11 отходит от кнопки-переключателя 4 и переключатель срабатывает в обратном направлении.
Регулирование температуры воды и масла, охлаждающих дизель, производится не только за счет изменения частоты вращения вентиляторов, но и открыванием жалюзи охлаждающего устройства в зависимости от температуры воды и масла. В схеме, рисунок 1.3, предусмотрено дистанционное управление открыванием и закрыванием жалюзи. Когда температура масла на выходе из дизеля достигнет 67 °С, замкнется контакт температурного реле РТМ2 рисунок 1.3, включится электропневматический вентиль ВЖМ, который подает воздух в пневмоцилиндр привода жалюзи охлаждающего устройства масла дизеля, тем самым открывая их. Когда температура воды на выходе из дизеля достигнет 73 °С, контакт термореле РТВ2 73 °С замыкает цепь питания катушки вентиля ВЖВ, вследствие чего открываются и жалюзи охлаждающего устройства воды дизеля. Если по какой-либо причине термореле не работает, то, переведя тумблер Т68 «Управление жалюзи-вода» или Т69 «Управление жалюзи-масло» из положения автоматического управления в нейтральное и наблюдая визуально за показаниями дистанционных электротермометров воды и масла, можно управлять открыванием и закрыванием жалюзи вручную, переводя тумблеры Тб8, Тб9 из нейтрального положения в положение ручного управления жалюзи. Питание всех цепей управления жалюзи холодильника осуществляется через автоматический выключатель АВ5 «Вспомогательные цепи». Вентиляторы на тепловозе ТЭП70 имеют гидростатический привод, поэтому ручное управление ими невозможно.
Рисунок 1.3 – Открытие и закрытие жалюзи
В схеме управления тепловозом предусмотрена защита от произвольного трогания тепловоза с места при позициях контроллера выше первой, так называемая блокировка первой позиции. Для этой цели в цепи катушек контакторов КВВ, КВГ И реле РВ2 рисунок1.4 включен размыкающий контакт реле РУ3, катушка которого получает питание на 2-15-й позициях контроллера КМ. Если случайно включить выключатель «Управление тепловозом», когда рукоятка контроллера находится на 2-15-й позициях, то контакторы КВВ, КВГ и реле РВ2 не включатся, так как на этих позициях контакт РУ4 в цепи катушек контакторов КВВ, КВГ и реле РВ2 разомкнут. При включении выключателя «Управление тепловозом» на первой позиции контроллера контакторы КВВ, КВГ и реле РВ2 включатся через замкнутый на этой позиции размыкающий контакт РУ3. Сразу же после включения контактора КВВ его замыкающий вспомогательный контакт зашунтирует контакт РУ3 в цепи катушек КВВ, КВГ и реле РВ2, вследствие чего при дальнейшем наборе позиций эта цепь не разрывается, несмотря на включение реле РУ3.
Для защиты обслуживающего персонала от поражения высоким напряжением при работе тепловоза под нагрузкой на дверях высоковольтной камеры установлены конечные выключатели БД1,БД2, БДЗ, БД4, которые размыкают свои контакты при открывании дверей. Контакты конечных выключателей включены последовательно в цепь катушек КВГ, КВВ, РВ2. При открывании дверей высоковольтной камеры или дверей выпрямительной установки при работе тягового генератора под нагрузкой размыкается контакт соответствующего конечного выключателя, разрывая цепь питания катушек КВГ, КВВ, РВ2. Это приводит к снятию нагрузки с генератора и отключению поездных контакторов. Одновременно через размыкающий контакт контактора КВВ получит питание сигнальная лампа ЛС2 «Сброс нагрузки».
Рисунок 1.4 – Схема управления тепловозом
1.2 Охлаждение масляной и водяной системы тепловозов
Конструкция боковых жалюзи показана на рисунке 1.6 . Принципиальная схема автоматической работы жалюзи показана на рисунке 1.5. Воздух в цилиндр привода СА 6 подводится из воздушной магистрали тепловоза через электропневматический вентиль ВВ-32Ш 4, который включается посредством датчика реле температуры Т-35 5 в зависимости от температуры воды “горячего” или “холодного” контура. Принцип автоматической работылопаток СА и боковых жалюзи одинаков, отличие только в кинематической схеме рычажной передачи. В конструкции привода боковых жалюзи предусмотрена возможность работы только одного верхнего ряда створок при эксплуатации тепловоза в зимнее время года. Для этого имеется фиксатор 4, соединяющий верхнюю 5 и нижнюю 6 подвижные планки, рисунок 1.6 . Для отключения нижнего ряда створок необходимо фиксатор 4 перевести в верхнее положение. На случай выхода из строя автоматического управления привода боковых жалюзи. На рисунке 1.5 предусмотрены ручные приводы 9, позволяющие открывать и закрывать жалюзи, ручной привод лопаток спрямляющего аппарата отсутствует.
Рисунок 1.5 – Схема автоматической работы жалюзи[6]:
1 – жалюзи боковые; 2 – цилиндры привода боковых жалюзи; 3 – кран трёхходовой; 4 – вентиль электропневматический ВВ – 3211; 5 – датчик реле температуры ТАМ-103; 6 – цилиндр привода верхних жалюзи; 7 – термобаллон; 8 – жалюзи верхние; 9 – привод ручной.
Вентиляторы осевые типа КТЗ-1-70, приводятся во вращение гидромоторами 7 типа Т-20М. Вентиляторы состоят из колеса вентилятора и спрямляющего аппарата, выполняющего также функцию верхних жалюзи. Колесо вентилятора имеет 14 лопаток из стеклопластика, закрепленные стальными хвостовиками в пазах листового алюминиевого диска. От проворота лопатки зафиксированы посредством клеевого соединения и металлических пластин. Аппарат спрямляющий имеет 19 поворотных стеклопластиковых лопаток расположенных между корпусами, образующими проточную часть аппарата. Корпуса соединены между собой двумя рядами спиц и верхней трубчатой балкой. Механизм поворота лопаток расположен во внутреннем корпусе. Аппарат спрямляющий крепится к крыше фланцем наружнего корпуса.
Рисунок 1.6 – Жалюзи боковые [6]
Преобразователи температуры установлены в трубопроводах воды “горячего” и “холодного” контура на входе в дизель. Преобразователи температуры настроены на начало работы вентиляторов при температуре воды “горячего” контура (70±1,5) °С, воды “холодного” контура (50±1,5) °С. При достижении температуры воды первого контура на входе в дизель (77±2) °С и второго контура (57±2) °С вентиляторы вращаются с максимальной частотой.
1.3 Холодильник дизеля
Холодильник дизеля, на рисунке 1.7 предназначен для отвода и рассеивания в окружающую среду тепла от охлаждающих жидкостей (воды и масла), а также для охлаждения наддувочного воздуха дизеля. Водяная система холодильника дизеля имеет два самостоятельных контура циркуляции. Холодильник дизеля состоит из двух шахт, в которых размещены сорок семь водяных секций холодильника дизеля и одна масляная секция, двух рабочих колес вентиляторов 2, спрямляющих аппаратов (СА) вентилятора 3, боковых жалюзи 4 и их привода. Функцию верхних жалюзи в каждой шахте холодильника выполняют поворотные лопатки спрямляющего аппарата, который устанавливается соосно с вентиляторным колесом. Вращение лопаток СА осуществляется через систему рычагов и тяг от пневмоцилиндра. Секции холодильника дизеля в каждой шахте объединены в два блока секций, которые устанавливаются на резиновые амортизаторы под углом 5 к вертикальной оси тепловоза. Демонтаж секций холодильника во время ремонтных работ можно производить как блоками, так и отдельными секциями. Для улучшения обслуживания и ремонта узлов холодильника дизеля коллектор 6 устанавливается на поперечные швеллеры 8 холодильной камеры. Это позволяет демонтировать крышу над шахтой холодильника дизеля, не снимая коллектор. Для исключения потерь тепла в окружающую среду и с целью защиты секций холодильника дизеля от переохлаждения в охлаждающем устройстве тепловоза боковые жалюзи 3 выполнены с утепленными створками и предусмотрена установка зачехлений секций радиаторов в холодное время года.
Рисунок 1.7 – Охлаждающее устройство [6]:
1 – блок секций; 2 – жалюзи боковые; 3 – гидромотор; 4 – секция водяная;
5 – спрямляющий аппарат; 6 – колесо вентилятора.
1.4 Водяная система
Водяная система предназначена для отвода тепла от втулок и крышек цилиндров дизеля, выпускных коллекторов, турбокомпрессора, масла и наддувочного воздуха в холодильник дизеля. Водяная система имеет два контура циркуляции охлаждающей жидкости (в дальнейшем вода). В первом контуре вода, охлаждающая втулки цилиндров дизеля, выпускные коллектора и турбокомпрессор, отдает тепло воздуху в секциях холодильника дизеля. Во втором контуре вода, охлаждающая масло дизеля в теплообменных аппаратах и наддувочный воздух в охладителе наддувочного воздуха, отдает тепло воздуху в
В секциях холодильника дизеля каждый контур циркуляции обслуживается своим водяным насосом (установлены на дизеле), приводимыми во вращение непосредственно от дизеля. Оба контура имеют общий расширительный бак, с выносным водомерным стеклом. Кроме того, дистанционный контроль за уровнем воды в расширительном баке осуществляется с помощью датчика, установленного на боковой стенке бака. При этом его показания передаются в систему диагностики, которая в случае снижения уровня воды ниже заданного предела выдает на табло соответствующий сигнал. Водяная система дизеля работает под избыточным давлением 0,5 - 0,75 кгс/см². Давление возникает в результате выделения пара из воды и изменяется в зависимости от режима работы дизеля. Избыточное давление поддерживается предохранительным клапаном КП, находящимся в верхней части расширительного бака Б. В предохранительном клапане имеется обратный клапан, открывающийся при образовании в системе вакуума до 0,04 - 0,08 кгс/см². При необходимости дозаправки воды в систему охлаждения в пути следования тепловоза предусмотрен ручной насос для дозаправки НД. Для предотвращения размораживания секций холодильника дизеля и переохлаждения воды второго контура циркуляции в холодное время года предусмотрен перепускной трубопровод и краны между горячим и холодным контурами.
2 ПРОЕКТ ЛАБОРАТОРНОГО СТЕНДА
Проектирование - один из основных (наряду с инженерной деятельностью) способов создания техники и других изделий и сооружений. Это часть работы, связанная с расчетами и изображением на чертежах внешнего вида, строения и функционирования будущего изделия.
Разработка будущего стенда начинается с оценки предстоящей работы, т.е. определение необходимых материалов и план монтажных работ( или работ по установке).















