Пояснительная записка (1233065), страница 5
Текст из файла (страница 5)
Н2 – напор при частоте вращения рабочего колеса n2, м;
N1 – мощность при частоте вращения рабочего колеса n1, Вт;
N2 – мощность при частоте вращения рабочего колеса n2, Вт.
При уменьшении частоты вращения характеристика насоса изменится и рабочая точка сместится из положения А1 в А2 представлено в рисунке 2.10. В соответствии с формулой (2.7), при пересчете характеристик насоса с частоты вращения n1, на частоту n2 получим следующие соотношения:
Рисунок 2.10 – Совмещенная характеристика нефтепровода и насоса при изменении частоты вращения вала
1 – парабола подобных режимов; 2 – напорная характеристика магистрального насоса при частоте вращения n1; 3 – то же при частоте вращения n2.
Изменение частоты вращения вала насоса возможно в следующих случаях:
– применение двигателей с изменяемой частотой вращения;
– установка на валу насосов муфт с регулируемым коэффициентом проскальзывания (гидравлических или электромагнитных);
– применение преобразователей частоты тока при одновременном изменении напряжения питания электродвигателей.
Следует отметить, что изменять частоту вращения в широких пределах нельзя, так как при этом существенно уменьшается КПД насосов.
4) Метод дросселирования на практике применяется сравнительно часто, хотя и не является экономичным. Он основан на частичном перекрытии потока нефти на выходе из насосной станции, то есть на создании дополнительного гидравлического сопротивления. При этом рабочая точка из положения A1 смещается в точку А2 и расход уменьшается, это показано на рисунке 2.11 .
Рисунок 2.11 – Совмещенная характеристика НПС и трубопровода при регулировании дросселированием
Целесообразность применения метода можно характеризовать величиной КПД дросселирования
где: Н2 – напор, необходимый для ведения перекачки с расходом, м ;
Н1* – фактически затрачиваемый напор, м ;
С увеличением величины дросселируемого напора hдр значение ηдр уменьшается. Метод дросселирования уместно применять для насосов, имеющих пологую напорную характеристику. При этом потери энергии на дросселирование не должны превышать 2 % энергозатрат на перекачку.
В настоящее время используются методы: 1) изменения количества работающих насосов; 2)регулирования с помощью сменных роторов. Этими методами легко регулировать производительность нефтепровода и они не требуют дополнительных затрат, что положительно влияет на эксплуатацию нефтеперекачивающей системы.
3 Анализ факторов влияющих на характеристики работы энергетического оборудования
3.1 Кавитационные явления энергетического оборудования
Кавитацией – называется нарушение сплошности потока жидкости, обусловленное появлением в ней пузырьков или полостей, заполненных паром или газом. Кавитация возникает при понижении давления, в результате чего жидкость закипает или из нее выделяется растворенный газ. В потоке жидкости такое падение давления происходит обычно в области повышенных скоростей. В большинстве случаев жидкость настолько быстро проходит через область пониженного давления, что газ не успевает выделиться. В этом случае кавитацию часто называют паровой. Полости или пузырьки, заполненные паром, увлекаются потоком в область повышенного давления. Здесь пар конденсируется, и полости, заполненные паром, замыкаются.
Последствием кавитации являются следующие основные явления:
1. Эрозия материала стенок канала. При конденсации пузырьков пара давление внутри пузырька остается постоянным и равным давлению насыщенного пара, давление же жидкости повышается по мере продвижения пузырька. Частицы жидкости, окружающие пузырек, находятся под действием все возрастающей разницы давления жидкости и давления внутри пузырька и движутся к его центру ускоренно. При полной конденсации пузырька происходит столкновение частиц жидкости, сопровождающееся мгновенным местным повышением давления, достигающим сотен МПа. Это приводит к разрушению материала стенок каналов. Описанный механический процесс разрушения стенок каналов называется эрозией и является наиболее опасным следствием кавитации.
2. Звуковые явления (шум, треск, удары) и вибрация установки, являющиеся следствием колебаний жидкости, которые вызваны замыканием полостей, заполненных паром.
3. Уменьшение подачи, напора, мощности и КПД лопастного насоса. Иногда приходится иметь дело с потоком жидкости, к которой подмешаны пузырьки газа. При прохождении пузырьков через область пониженного давления происходит их интенсивный рост и, следовательно, увеличение объемной концентрации газа. Это может привести к падению подачи и напора насоса, которое предположительно объясняется следующим. Увеличение объемной концентрации газа в жидкости ведет к сильному уменьшению скорости звука. Скорость жидкости в наиболее узком сечении канала не может быть больше звуковой, поэтому уменьшение скорости звука, получающееся при увеличении объемной концентрации газа, приводит к снижению скорости жидкости и подачи насоса. Кроме того, при уменьшении скорости звука до значения, близкого к скорости жидкости, резко увеличивается гидравлическое сопротивление канала и, следовательно, уменьшается подача. Такое нарушение режима работы насоса может произойти и при дозвуковых скоростях жидкости в результате того, что в центральной части колеса скапливается газ. Такое явление часто называют газовой кавитацией.
В лопастном насосе паровая кавитация возникает на лопатке рабочего колеса обычно вблизи ее входной кромки. Давление здесь значительно ниже давления во входном патрубке насоса вследствие местного возрастания скорости при натекании на лопатку и из-за гидравлических потерь в подводе.
Кавитационный запас превышение полного напора жидкости во входном патрубке насоса над давлением ее насыщенного пара. Если весь кавитационный запас преобразуется в области минимального давления в кинетическую энергию жидкости и расходуется на преодоление гидравлического сопротивления подвода насоса, то давление понизится до давления насыщенного пара жидкости, и возникает кавитация. Кавитационный запас, при котором происходит кавитация, называется критическим.
Для определения критического кавитационного запаса производят кавитационные испытания насоса, в результате которых для каждого режима работы насоса получают кавитационную характеристику представленную на рисунке 3.1 .
Рисунок 3.1 – Кавитационная характеристика
Кавитационная характеристика представляет собой зависимость напора от кавитационного запаса при постоянной частоте вращения и подаче. При больших кавитационных запасах, кавитационные явления отсутствуют, и напор от кавитационного запаса не зависит. Возникновение кавитации ведет к образованию на входном участке тыльной стороны лопатки полости - каверны, заполненной паром, из которой потоком выносятся пузырьки пара, или же сама каверна периодически отрывается и уносится потоком. По мере уменьшения кавитационного запаса длина и толщина каверны постепенно увеличивается. При ее достаточной длине изменяется поток на выходе из колеса, что приводит к уменьшению напора насоса. Каверна представлена на рисунке 3.2 .
Рисунок 3.2 – Кавитационные каверны в рабочем колесе
Режим, при котором начинается падение напора, называют первым критическим режимом. Ему соответствует первый критический кавитационный запас.
При дальнейшем уменьшении кавитационного запаса каверна, удлиняясь, приближается к концу лопатки. Это сопровождается все более существенным изменением потока на выходе из рабочего колеса и, следовательно, все большим уменьшением напора. При втором критическом кавитационном запасе каверна теряет устойчивость и ее длина быстро увеличивается. Это вызывает уменьшение напора.
Работа насоса на режимах развитой кавитации может привести к интенсивному эрозионному износу, поэтому эксплуатировать насос в области между первым и вторым критическими режимами можно только в случаях, когда к износостойкости насоса не предъявляются повышенные требования (например, насос кратковременного действия), если при работе насоса в этой области эрозии не возникает или если работа насоса кратковременна.
Чтобы насос не работал в режиме недопустимо сильной кавитации из-за неточного учета всех факторов в расчете, назначают небольшое превышение допустимого кавитационного запаса над критическим. Обычно это превышение принимают равным от 0,1 до 0,3. Меньшее значение выбирают, если расчет ведут по первому критическому кавитационному запасу и критический кавитационный запас велик. Следовательно, допустимый кавитационный запас Δhдоп = от 1,1 до 1,3.
При эксплуатации насоса следует контролировать, не работает ли насос в режиме недопустимо сильной кавитации. Такой контроль удобно производить по показанию вакуумметра, установленного на входном патрубке насоса.[8]
3.2 Уплотнения рабочего колеса и вала насоса
Для уменьшения утечек жидкости из отвода в подвод у входа в рабочее колесо выполняют уплотнение в виде малого зазора между рабочим колесом и корпусом. Стенки этого зазора изнашиваются довольно быстро из-за большой скорости жидкости в нем, способствующей химическому и эрозионному разрушению материала. Особенно быстро они изнашиваются при наличии в жидкости абразивных частиц. Для того чтобы при износе уплотняющего зазора не пришлось менять рабочее колесо или корпус насоса, на них часто закрепляют сменные уплотнительные кольца, образующие уплотняющий зазор.
Межступенные уплотнения, уменьшающие утечки через зазоры между валом и диафрагмами, также выполняют обычно в виде щелей, образованных сменными уплотнительными кольцами.
В местах выхода вала из корпуса насоса чаще всего устанавливают сальники. Уплотнение обеспечивается набивкой, которая сжимается крышкой путем затягивания гаек шпилек. Набивку изготовляют чаще всего из специального хлопчатобумажного или асбестового шнура квадратного сечения и перед установкой пропитывают смазкой из графита и технического жира. Шнур укладывают отдельными кольцами. Его нельзя наматывать на вал одним куском, так как при этом трудно получить равномерное по окружности поджатие набивки. Тепло, выделяющееся при трении вала о набивку, в основном отводится жидкостью, просачивающейся через сальник, поэтому утечка жидкости через сальник необходима. При работе материал набивки изнашивается, перестает плотно прилегать к валу, и утечка жидкости увеличивается. Поэтому гайки сальника надо периодически подтягивать. Если повторное натяжение крышки сальника не дает уплотнения или приводит к чрезмерному нагреву сальника, то набивку необходимо сменить. Набивка работает до смены 200 – 4000 ч в зависимости от степени загрязнения жидкости и материала набивки.
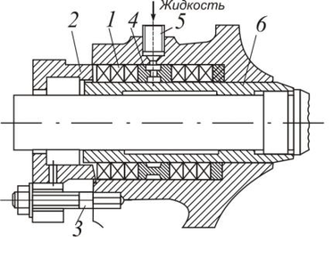
Сальники на всасывающей стороне насоса не должны допускать засасывания воздуха внутрь насоса. Даже небольшая протечка воздуха сильно снижает напор, подачу и КПД насоса. Кроме того, воздух, протекающий через сальник, не отводит тепло. Сальник греется, и набивка может сгореть, поэтому на всасывающей стороне сальники делают с гидравлическим затвором, который состоит из кольца двутаврового сечения, помещенного между кольцами набивки. К этому кольцу по трубке подводится жидкость под давлением. Через жидкостное кольцо гидравлического затвора воздух не может прорваться внутрь насоса. Жидкость из кольца вытекает наружу и внутрь насоса, отводя при этом тепло от набивки сальника. Для защиты вала от истирания в сальниках и коррозии на него надевают защитные втулки. Сальник представлен на рисунке 3.3 .
Рисунок 3.3 – Сальник
1 – набивка; 2 – крышка; 3 – шпилька; 4 – кольцо; 5 – трубка.
На рабочее колесо центробежного насоса действует осевая сила, направленная в сторону входа. Она возникает главным образом из-за неодинаковости сил давления, действующих справа и слева на рабочее колесо. Давление P2 на выходе из рабочего колеса больше давления P1 на входе в него. Увлекаемая рабочим колесом жидкость в пространстве между рабочим колесом и корпусом насоса вращается с угловой скоростью, равной приблизительно половине угловой скорости рабочего колеса.















