ВКР Сухарь К.А. 946 гр по теме Реконструкция резервуара на (1232794), страница 6
Текст из файла (страница 6)
Окрайки для днища резервуаров объемом 2000 м³ и более выполняют утолщенными по сравнению с листами центральной части. При минимальной толщине листов днища, равной 6 мм и толщине нижнего пояса – 8 мм, необходимая расчетная толщина окраек для данного резервуара составляет 7 мм (табл. 3.1.[15]). Для днища данного резервуара применяются сегментныеокрайки, радиальной шириной 1,2 м (рис. 11.1 в).
а) – из листов одинаковой толщины; б) – с прямоугольными окрайками;
в) – с сегментными окрайками.
1 – заводские швы; 2 – монтажные швы; 3 – листы центральной части днища; 4 – прямоугольные окрайки поперечные; 5 – прямоугольные окрайки продольные; 6 – сегментные окрайки
Рис. 11.1. Виды окраек днища резервуара
Полный диаметр днища больше наружного диаметра резервуара на 100 – 120 мм.
Процесс сварки днища и окраек предусматривает следующую последовательность:
-
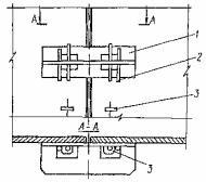
производят монтаж окраек днища, при этом собирают стыки между ними на остающейся подкладке с зазором клиновидной формы.У периферии зазор равен 4 - 6 мм, а у другого конца стыка 10 - 12 мм. Стыки сваривают на длине 200 - 250 мм в местах примыкания стенки, предварительно закрепив их гребенками(рис. 11.2);
1 - окрайка; 2 - подкладка; 3 - гребенка; 4 - сварочный шов;
5 - частичная сварка; 6 - риска установки первого пояса
Рис. 11.2. Схема сварки стыков окраек
-
затем монтируют центральную часть днища: листы днища укладывают полосами от центра к периферии, начиная с среднего листа полосы, проходящей через центр основания резервуара.Листы по короткой полосе соединяют между собой внахлестку – последующий лист на предыдущий, при этом величина нахлестки по короткой стороне составляет 30-40 мм.Сборка листов осуществляется с помощью сборочного оборудования.
Схема разделки кромок для трех листов и для четырех листов в узлах стыковки указана на рисунке11.3. Листы днища (за исключением соединений периферийных листов с примыкающими к ним листами) необходимо закрепить на прихватках для последующей их сварки.
а –для трех листов; б –для четырех листов
1 - величина нахлестки
Рис. 11.3. Подготовка кромок листов в узлах стыковки
В целях получения минимальной деформации днище разбивают на отдельные зоны (четверти). Листы в соответствии с данным проектом предполагается сваривать в следующейпоследовательности(рис. 11.4):
-
листы в зонах,
-
зоны между собой,
-
соединения периферийных листов между собой,
-
соединение периферийных листов с окрайками,
-
периферийные листы со всей средней частью днища.
1 - окраина; 2 - периферийные листы; 3 - зона; 4 - шов между зонами;
5 - шов между периферийными листами и зонами; 6 - стенка
Рис. 11.4. Схема сборки и сварки днища из листов
Предельно допустимая высота местных выпучин или вмятин на центральной части днища определяется по формуле:
f ≤ 0,1R ≤ 80 мм, (11.1)
где f-максимальная стрелка вмятины или выпучины на днище, мм;
R - радиус вписанной окружности на любом участке вмятины или выпучины, мм.
Таким образом, отметка с радиусом вписанной в нее окружности более 800 мм не допустима для центральной части днища.
Резкие перегибы и складки не допускаются.
Местные отклонения от проектной формы в зонах радиальных монтажных сварных швов кольца окраек (угловатость): ±3 мм.
Подъем окрайки в зоне сопряжения с центральной частью днищадля днищ диаметром 12-25 м определяется по формуле:
fa ≤0,03L, (11.2)
где fa-высота подъема окрайки, мм,
L - ширина окрайки, мм.
fa ≤0,03*1200 мм
fa ≤ 36мм
Для данного резервуара подъем окрайки относительно днища при ширине окрайки 1,2 м должен составлять соответственно не более 36 мм.
После проварки и проверки геометрических характеристик днища производится разметка резервуара, обозначаются монтажные оси, место установка монтажной стойки.
-
Монтаж стенки резервуара.
Стенки резервуаров поставляют на монтажную площадку в виде вальцованных листов, находящихся в специальных контейнерах, исключающих возможность развальцовки и деформации, на поверхности листов заводом-изготовителем указывается номер плавки и приложена копия сертификата соответствия.
Выбор геометрических размеров листов стали – ширина, длина, толщина – производится с учетом результатов, полученных при расчете стенки на прочность – п.7.2.1 данной пояснительной записки.
В первую очередь производится сборка и сварка первого пояса. Качество сборки и сварки первого пояса предопределяет правильность геометрической формы всей стенки резервуара, поэтому к нему предъявляются повышенные нормы контроля.
Листы первого пояса устанавливают на окрайки по нанесенной с помощью специального прибора разметке. При проведении любых работ необходимо следить за тем, чтобы расположение монтируемых частей соответствовало проекту.
Расстояние между вертикальными стыками листов первого пояса и стыками окраек днища - 200 мм, между вертикальными стыками отдельных поясов - 500 мм.
1 - тавровое стяжное приспособление; 2 - клин; 3 - проушина
Рис. 11.5. Схема сборки вертикального стыка между листами стенки
Листы первого пояса между собой(рис. 11.5) и с окрайками соединяют при помощи сборочных приспособлений (рис. 11.6), обеспечивающих проектные зазоры между кромками. В процессе сборки ведется постоянный контроль за геометрической формой стенки, совпадением кромок и характеристике зазоров. Допустимые отклонения представлены в [28].
Замыкающий лист пояса подвергают обрезке с разделом кромок, предусматривая при этом необходимый проектный зазор.
Монтаж стенки резервуара осуществляется с обеспечением устойчивости от ветровых нагрузок, применением при сборке и сварке металлических подмостков, конструкция которых рассчитана на восприятие данного вида нагрузок.
1- ограничитель; 2 - угловое стяжное приспособление;
3- проушина; 4 - клин
Рис. 11.6. Сборка листов первого пояса стенки с днищем
Монтажные стыковые соединения стенок резервуаров выполняют дуговой сваркой с применением высокопроизводительных сварочных автоматов, формирование шва при этом может быть, как свободным, так и принудительным.
Для полистового метода монтажа компоновка может быть различной (рис. 11.7), но обязательным условием является соединение в стык со смещением вертикальных сварных соединений друг относительно друга на величину, равную 8t,гдеt– толщина нижележащего пояса (рис. 11.8), подробнее эта тема раскрыта в [30].
а) встык; б) телескопическое; в) ступенчатое
Рис. 11.7. Типы соединений поясов по высоте стенки
Рис. 11.8. Компоновка листов стенки для полистового способа монтажа
В случаях отсутствия высокопроизводительных автоматов для сварки, а также с целью уменьшения количества монтажных элементов производят укрупнение листов в монтажные блоки из двух-трех листов, которые сваривают по длинной кромке автоматом под флюсом в удобном положении.
Вертикальные стыки и горизонтальный стык между поясами свариваютсянесколькими сварщиками одновременно, они располагаются равномерно по окружности и двигаются по мере сварки в одну сторону.
При полистовом монтаже днища и стенки резервуара качество швов контролируется посредством проверки соблюдения технологического процесса, внешнего осмотра, испытаний неразрушающими методами контроля, испытаний на герметичность и непроницаемость всех швов.
-
Монтаж стационарного покрытия
Для рассматриваемого резервуара объемом 4900 м³ предусматривается монтаж конической каркасной крыши (рис. 11.8), с использованием центральной монтажной стойки, диаметром 0,4 м, которая крепится к днищу анкерами или приваривается по контуру опорного кольца (для предотвращения отрыва трубчатой стойки от днища, ее заполняют песком или щебнем).Такие крыши состоят из секторных каркасов, изготавливаемых на заводе, кольцевых элементов каркаса, центрального щита и рулонируемых полотнищ настила. Монтаж каркасов выполняется по мере наращивания верхних поясов стенки.
Перед началом монтажа покрытия необходима проверка вертикальных пластин центрального щита (до установки его на монтажную стойку) на соосность пластинам, приваренным к каркасам. При установке щитов необходимо тщательно следить за вертикальным расположением центральной монтажной стойки.
После соединения каркасов между собой кольцевыми элементами на них укладываются полотнища настила, предварительно развернутые рядом с днищем резервуара. Полотнища, сваренные между собой радиальными швами, припаиваются по периметру к уторному углу стенки. Крепление полотнищ к элементам каркаса не допускается.Плоские щиты опирают вершиной на центральную стойку. После закрепления вершины щита болтами опускают основание щита на стенку резервуара. Щиты прихватывают к стенке резервуара и друг к другу.
Рис. 11.8. Схема конической каркасной крыши
Проектирование каркасных крыш осуществляется во взрывозащищенном исполнении: при аварийном превышении давления внутри резервуара,происходит отрыв сварного шва приварки настила к стене без разрушения самого резервуара и без отрыва стенки от днища, таким образом предупреждается опасность разлива нефтепродукта. Взрывозащищенная крыша выполняет роль аварийного клапана: в критический момент происходит сброс внутреннего давления, сохраняя резервуар и хранимый в нем нефтепродукт.
Перед укладкой и приваркой замыкающего щита покрытия требуется демонтировать выступающую часть лестницы монтажной стойки. После завершения монтажных и сварочных работ на покрытии его опускают в проектное положение, снимая нагрузку с монтажной стойки.
В процессе и после опускания покрытия необходимо контролировать величину просадки покрытия и резервуара в целом, которая должна соответствовать указанию проекта. Опустив покрытие в проектное положение, в течение двух-трех часов наблюдают за его состоянием. Если деформаций покрытия сверх нормативных значений не происходит, стойку демонтируют.
-
Сварочные работы и контроль сварных соединений
Сварка резервуарных конструкций производится после проверки правильности сборки конструкции или узла в соответствии с требованием проекта.Все швы должны отвечать требованиям [7].
При сварке монтажных соединений резервуарных конструкций предпочтительно применение механизированных способов сварки: автоматической и механизированной сварки под флюсом, в защитных газах и самозащитной порошковой проволокой. Для соединений днища внахлест, стационарного покрытия, таврового соединения стенки с днищем также более целесообразно применять автоматическую сварку. Для вертикальных стыковых соединений полотнищ стенки и стыковых соединений окраек днища и применяют механизированную сварку.
Перед сваркой поверхности должны быть зачищены, а также они должны быть надежно изолированы от воздействия влаги.
Диапазоны температур для каждого вида сварки, при которых возможно проведение работ без подогрева стали указаны в [28].
Вертикальные соединения стенки (за исключением монтажного стыка) выполняются стыковыми с полным проплавлением по толщине листа (рис. 11.9.)
а) без разделки кромок; б) со скосом двух кромок; в) с двумя скосами кромок; г) с криволинейным скосом кромок
Рис. 11.9. Вертикальные стыковые соединения стенки















