3. Диплом (1229806), страница 3
Текст из файла (страница 3)
Рисунок 3.2 - Изменения в электрической цепей управления
В электрической схеме цепей управления (рисунок 3.2) осуществляются следующие изменения:
-
от замыкающего контакта пневматического выключателя управления ПВУ1 (ВУП5 по пневмосхеме) отсоединяются и закорачиваются провода Н63-Н69 для сохранения цепи питания катушки вентиля регенерации ВРег (электроблокировочный клапан КЭБ по пневмосхеме) вне зависимости от уровня давления в ТМ;
-
от размыкающего контакта пневматического выключателя управления ПВУ2 (ВУП2 по пневмосхеме) отсоединяются и закорачиваются провода Э56-Н352, для сохранения цепи питания катушек контакторов возбуждения 46 и 47 вне зависимости от уровня давления в ТЦ электровоза;
-
освободившийся размыкающий контакт пневматического выключателя управления ПВУ2 (ВУП2 по пневмосхеме) врезается в цепь питания блока управления реостатным тормозом БУРТ и провода А8. Этим прерывается цепь питания блока управления реостатным тормозом БУРТ при давлениях сжатого воздуха в тормозных цилиндрах Ц3-Ц4 и управляющей камере реле давления РД свыше 0,15 МПа). В результате действующее усилие реостатного тормоза ограничивается величиной, соответствующей позиции ПТ («Предварительное торможение») тормозного вала контроллера машиниста;
-
от размыкающего контакта 267 (промежуточное реле – повторитель срыва электропневматического клапана автостопа, возбуждается при замыкании пневмоконтакта ЭПК) отсоединяется провод Н1;
-
от замыкающего контакта 272 (промежуточное реле – повторитель экстренного торможения, возбуждается при переводе ручки КМ в положение экстренного торможения) отсоединяется провод Н39 и между ним и проводом Н1 устанавливается перемычка для подготовки сохранения цепи питания катушки вентиля регенерации ВРег (электроблокировочный клапан КЭБ по пневмосхеме) вне зависимости от положений ручки КМ и действия автостопа;
-
подводящие провода к катушке электропневматического клапана 261 (КЭП9 по пневмосхеме) и диоду развязки паразитной цепи 390 отсоединяются и изолируются;
-
между проводом Э59 и Н70 устанавливается перемычка для обеспечения цепи питания катушки вентиля регенерации ВРег (электроблокировочный клапан КЭБ по пневмосхеме) вне зависимости от положений ручки КМ и действия автостопа.
3.3 Принцип работы системы ДЭПТ
При введении в работу пульта управления кабины (замыкании замыкающих контактов автоматических выключателей ВА2 и ВА3, кнопки цепей управления «ЦУ» и устройства блокировки тормозов 213) от провода Н1 получает возбуждение катушка вентиля регенерации ВРег по цепи:
провод Н1 – перемычка к проводу Н39 – диод развязки паразитной цепи 188 - перемычка между проводами Н70 и Э59 – размыкающий контакт промежуточного реле 268 (размыкается при срыве реостатного тормоза) – перемычка между проводами Н63 и Н69 – катушка ВРег – корпус электровоза (минус аккумуляторной батареи). В результате, вне зависимости от режима работы электровоза («тяга» или «реостатное торможение») катушка вентиля регенерации ВРег (электроблокировочный клапан КЭБ по пневмосхеме) остается возбужденной и действие АТ и ВТ электровоза осуществляется за счет работы КВТ (как повторителя или крана).
Включение и действие реостатного тормоза (перевод тормозного вала контроллера машиниста КМЭтв из нулевого положения на позиции торможения) не зависят от уровня давления в ТМ.
Полная мощность реостатного тормоза может реализовываться при условии непревышения избыточного давления сжатого воздуха в МВТ уровня 0,15 МПа.
В случае же превышения в МВТ упомянутого уровня давления размыкается размыкающий контакт пневматического выключателя управления ПВУ2 в проводе Э60 и блоком управления реостатным тормозом БУРТ тормозная мощность реостатного тормоза ограничивается величиной, соответствующей позиции ПТ (предварительное торможение) тормозного вала контроллера машиниста КМЭтв.
При срыве реостатного торможения – возбуждении промежуточного реле 268 его размыкающим контактом в цепи проводов Э59-Н63 прерывается цепь питания катушки вентиля регенерации ВРег (электроблокировочный клапан КЭБ по пневмосхеме). Это приводит к открытию электроблокировочного клапана КЭБ и наполнению тормозных цилиндров Ц3-Ц4 и управляющей камеры реле давления РД (а значит и тормозных цилиндров Ц5-Ц6 второй тележки) до уровня давления, определяемого редуктором давления КР1 (рисунок 4.1) по цепи:
КР1 – питательный входной отросток КЭБ – выходной отросток КЭБ –- КН20 – левый входной отросток КПР1 – выходной отросток КПР1 –тормозные цилиндры Ц3-Ц4 и одновременно управляющая камера РД.
В результате обеспечивается автоматическое замещение тормозной силы реостатного тормоза электровоза тормозной силой его пневматического тормоза. Одновременно, с замыканием замыкающего контакта 268 в цепи проводов Э59-Н65, традиционно включается звуковой сигнал ЗС, извещающий о факте срыва реостатного торможения.
В случае отказа системы «ДЭПТ» возможность продолжения работы электровоза в тяговом режиме обеспечивается отключением крана КН20. При этом левый (по пневмосхеме) входной отросток КПР1 сообщается с атмосферой и действия АТ и ВТ осуществляется за счет работы КВТ (как повторителя или крана) по цепи:
КВТ – АБТ – МВТ – правый входной отросток КПР1 - выходной отросток КПР1 – тормозные цилиндры Ц3-Ц4 и одновременно управляющая камера РД.
Для обеспечения эксплуатации системы «ДЭПТ» разработана «Памятка машинисту электровоза по пользованию системой «ДЭПТ», представленная в Приложении В.
Реализация предлагаемой системы «ДЭПТ» на тяговом подвижном составе других серий также возможна при соответствующих изменениях в их пневмосхеме тормоза и электрической схеме цепей управления. На рисунке 3.3 выполнено расположение систем: блока блокировки тормозов (ББТ); совместного совместного действия пневматического и электродинамического тормозов и нештатного торможения (НТ) (см. раздел 4) на тепловозной тяги. Причем работа систем ДЭПТ и НТ унифицированы, то есть объединены.
Внедрение системы «ДЭПТ», практически обеспечиваемое лишь изменением подключения штатных элементов пневмосхемы тормоза и электрической схемы цепей управления тягового средства, позволит:
-
повысить уровень безопасности движения поездов в результате сокращения длин тормозных путей экстренного или автостопного торможений за счет повышения эффективности использования существующего уровня тормозооснащенности тягового подвижного состава;
-
снизить эксплуатационные расходы за счет общеизвестных достоинств электродинамического тормоза в результате расширения сферы его действия;
-
реализовать при экстренном торможении более высокий коэффициент сцепления тягового средства, за счет саморегулируемости характеристик электродинамического тормоза.
Рисунок 3.3 – Принципиальная пневматическая схема тормоза
модернизированного локомотива
4. ВОЗМОЖНОСТИ ЛОКАЛИЗАЦИИ ПОСЛЕДСТВИЙ САМОРАСЦЕПА СЕКЦИЙ ЛОКОМОТИВА
4.1 Существующее положение
Сообщающиеся с атмосферой питательная магистраль(ПМ) и магистраль вспомогательного тормоза (МВТ) на ведущей и ведомой секциях двух секционного локомотива при их саморасцепе практически исключают возможность автоматического затормаживания последних (рисунок 4.1).
При этом:
-
на ведущей секции сработавший на торможение воздухораспределитель № 483 (ВР), хотя и вызывает переход крана вспомогательного тормоза в режим повторителя, но сообщившаяся в атмосферой МВТ не обеспечивает затормаживания – уровень избыточного давления в ТЦ не превышает 0,09-0,11 МПа;
-
ведомая же секция в принципе не может затормозится, т.к. её ВР, хотя и срабатывает на торможение, и кран вспомогательного тормоза переходит в режим повторителя, но наполнение МВТ невозможно из-за её отключения блокировкой № 367.
В разработке изменена схема взаимодействия цепей автоматического и вспомогательного тормозов для двух- и более секционных локомотивов.
Измененная схема предусматривает установку на каждой секции блокировочного клапана БК (пневматическая часть от электроблокировочного клапана КПЭ-99) для непосредственного сообщения ВР секции с магистралью тормозных цилиндров (МТЦ) через переключательный клапан (ПК). Использование ПК одновременно обеспечивает отсечение сообщившейся с атмосферой МВТ (смотри рисунок 2.2). При этом эффективность затормаживания секций локомотива зависит от быстродействия, режима включения и надежности действия ВР секций.
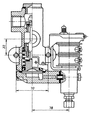
Рисунок 4.2 – Электроблокировочный клапан КПЭ-99
Изначально электроблокировочный клапан КПЭ-99 (рисунок 2.2) применяется на магистральных локомотивах вместо КП-53 служащий для подачи сжатого воздуха в систему замещения реостатного тормоза пневматическим. Площадь канала, сообщающего воздухораспределитель с тормозным цилиндром, 70 мм2 и тормозного цилиндра с атмосферой – 35 мм2
Например:
-
уровень избыточного давления, устанавливающийся в ТЦ, определяется режимом включения ВР – на порожнем режиме он может составить 0,14-0,18 МПа;
-
время наполнения ТЦ даже до упомянутого уровня избыточного давления определяется суммированием времен – срабатывания ВР на торможение; перехода крана вспомогательного тормоза в режим повторителя и наполнением МВТ.
В результате отмеченного имеет место существенное завышение тормозного пути.
4.2 Технические требования к устройству обеспечения автоматического
затормаживания секций многосекционного локомотива при их саморасцепе
Основные аспекты технических требований к устройству обеспечения автоматического затормаживания секций многосекционного локомотива при их саморасцепе [19, 20, 21, 22, 23], получившей наименование - система нештатного торможения (далее –система «НТ») могут быть сформулированы следующим образом.
-
При включённой электрической цепи управления и наличии давления в ТМ нормированного уровня (например, свыше 0,26…0,27 МПа) работа системы «НТ» должна блокироваться – система «НТ» должна оставаться в «ждущем» режиме;
-
При включённой электрической цепи управления и снижении давления в ТМ ниже нормированного уровня система «НТ» должна вступать в работу – переходить в «действующий» режим;
-
При прерывании электрической цепи управления вне зависимости уровня давления в ТМ система «НТ» должна переходить в «действующий» режим;
-
Наполнение ТЦ тягового средства сжатым воздухом при работе системы «НТ должно осуществляться до установленного уровня давления (например, до уровня 0,23…0,25 МПа, используемого при замещении электродинамического тормоза);
-
Служебные торможения автоматического или вспомогательного пневматических тормозов должны вызывать наполнение сжатым воздухом ТЦ тягового средства традиционным порядком (за счет работы крана вспомогательного тормоза (КВТ) в режимах повторителя или крана прямодействующего тормоза). В этой ситуации система «НТ» должна оставаться в «ждущем» режиме и не влиять на работу пневмосхемы тормоза тягового средства;
-
Экстренное торможение автоматического пневматического тормоза, в числе прочего вызываемое саморасцепом («разрывом») секций тягового средства должно приводить к переходу системы «НТ» в «действующий» режим;
-
После ликвидации саморасцепа секций, осуществления зарядки тормозной магистрали до нормированной величины давления должен происходить автоматический возврат системы «НТ» в «ждущий» режим;
-
При возникновении отказов системы «НТ» должна иметься возможность её отключения с сохранением работоспособности пневмосхемы тормоза тягового средства существующим порядком;
-
Схема системы «НТ» должна, как правило, собираться из штатных элементов пневмосхемы тормоза тягового средства в результате изменения их схемы включения. В случае их частичного или полного отсутствия пневмосхема тормоза тягового средства должна дополняться установкой недостающих типовых элементов, серийно выпускаемых отечественной промышленностью;
-
Масса системы «НТ», схема которой собирается в результате изменения схемы включения из штатных элементов пневмосхемы тормоза тягового средства, не лимитируется. В случае частичного или полного отсутствия необходимых для схемы системы «НТ» в числе штатных элементов пневмосхемы тягового средства, масса системы «НТ» лимитируется массой устанавливаемых недостающих типовых элементов, серийно выпускаемых отечественной промышленностью;
-
Система «НТ» в сборе и все ее детали одного назначения должны быть взаимозаменяемы;
-
С перерывами для плановых ремонтов система «НТ» должна сохранять работоспособность в течение всего срока службы;
4.3 Особенности конструкция системы НТ















