ПЗ (1229498), страница 6
Текст из файла (страница 6)
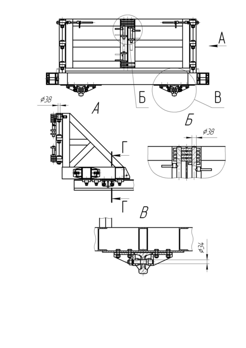
Расчетная схема поперечных сил, воспринимаемых стойками секций без учета усилия прижима, приведена на рисунке 3.7.
Рисунок 3.7 - Расчетная схема поперечных сил, воспринимаемых стойками секций без учета усилия прижима
Поперечное усилие по формуле (3.11)
Распределенная нагрузка от поперечного усилия, действующая на одну стойку секции по формуле (12)
где l = 73 см – длина поверхности стойки, на которую действует нагрузка;
n = 5 – количество стоек секций.
Поперечный изгибающий момент в опасном сечении по формуле (3.13)
Допускаемый момент сопротивления в опасном сечении для одной стойки относительно оси Х по формуле (3.14)
Момент сопротивления стойки относительно оси Х по формуле (3.15)
где Wх шв = 93,4 см3 – момент сопротивления швеллера №16;
Wх реб = 0,5∙14,32/6 = 17 см3 – момент сопротивления ребра;
Wх пл = 24∙0,82/6 = 2,56 см3 – момент сопротивления боковой пластины.
Условие прочности выполняется.
3.3 Расчет опорной балки
Пакет рельсов лежит на девяти опорных балках (пять ограничительных секций, две средних балки и две упорных балки). Расчетная схема опорной балки приведена на рисунке 3.8.
При расчете балки на изгиб деревянную подкладку, на которую укладываются рельсы, не учитываем.
Рисунок 3.8 - Расчетная схема опорной балки
Усилие, воспринимаемое одной балкой, кгс
(3.19)
где nб = 9 - количество балок.
Распределенная нагрузка, действующая на балку, кгс/см
(3.20)
Опасное сечение - в точках опор (при с > 0,207а), и в середине пролета (при с < 0,207а). Поскольку 0,207 ∙ 2140 = 443 > c = 270, максимальный изгибающий момент возникает в центре балки.
Изгибающий момент в опасном сечении, кг∙см
(3.21)
Допускаемый момент сопротивления в опасном сечении для одной балки относительно оси Х по формуле (3.14)
Момент сопротивления балки относительно оси Х по формуле (3.15)
где Wх шв = 152 см3 – момент сопротивления швеллера №16;
Wх реб = 0,6∙18,22/6 =33,12 см3 – момент сопротивления ребра;
Wх пл = 25,5∙0,62/6 =1,53 см3 –момент сопротивления опорной пластины.
Условие прочности выполняется.
3.4 Расчет прижимной балки
Расчетная схема прижимной балки приведена на рисунке 3.9.
Рисунок 3.9 - Расчетная схема прижимной балки
Распределенная нагрузка, воспринимаемая балкой, кгс/см
(3.22)
Допускаем, что рельсы действуют на балку равномерно.
Изгибающий момент в опасном сечении балки,
(3.23)
Допускаемый момент сопротивления в опасном сечении относительно оси Х по формуле (3.14), см3
Момент сопротивления балки относительно оси Х, см3
(3.24)
где WХшв=34,8 см2 – момент сопротивления швеллера №10.
Размеры в опасном сечении удовлетворяют условию прочности.
Наибольший прогиб балки, см
(3.25)
где
- модуль продольной упругости по таблице 10 [7].
Момент инерции поперечного сечения балки, см4
(3.26)
где JХшв=174 см4 – момент инерции швеллера №10.
Максимальный прогиб балки не превышает 6 мм.
3.5 Расчет прижимного винта
Прижимные винты изготовлены из стали 40Х ГОСТ 4543-71. Усилие, передаваемое одним винтом на прижимную балку, составляет 2500 кг.
Расчетная схема прижимного винта приведена на рисунке 3.10.
Рисунок 3.10 - Расчетная схема прижимного винта
3.5.1 Внутренний диаметр винта, см
(3.27)
где
- допускаемое напряжение сжатия
Принимаем винт с прямоугольной резьбой d=40 мм; d1=32 мм; d2=36 мм; P=8 мм.
3.5.2 Угол подъема винтовой линии
(2.28)
Отсюда β = 4°03'
По условию самоторможения винта угол подъема β должен быть меньше угла трения ρ.
Принимаем коэффициент трения в резьбе f = 0,12, тогда tg ρ = 0,12
Отсюда ρ = 6°51'
β < ρ
Условие самоторможения выполняется.
3.5.3 Определение усилия рабочего при зажатии груза прижимным винтом
Работа за один оборот винта, необходимая для зажатия груза и преодоления силы трения в резьбе, кгс∙см
(3.29)
Работа за один оборот винта Aт, кгс∙см, необходимая для преодоления трения на торцевой части винта при
(3.30)
Усилие рабочего при зажатии груза, кгс
(3.31)
где L - длина рукоятки; L = 50 см
3.5.4 Проверка напряжений, возникающих в винте
Расчетная длина винта, см
(3.32)
Радиус инерции круга диаметром d1=3,2 мм
(3.33)
Гибкость винта
(3.34)
При такой малой гибкости (λ<60) проверки на устойчивость не требуется.
3.5.5 Нормальное напряжение, кгс/см2
(3.35)
где
- площадь поперечного сечения винта, см2 (3.36)
Касательное напряжение, кгс/ см2
(3.37)
где Мкр – крутящий момент, кгс∙см
(3.38)
3.5.6 Приведенное напряжение, кгс/см2
(3.39)
где
3.5.7 Проверка высоты гайки
Число витков в гайке
(3.40)
Удельное давление, кгс/см2
(3.41)
где [g] = 70 кгс/см2 - допускаемое удельное давление при взаимодействии материалов сталь по стали.
3.5.8 Расчет осей закладного замка на срез
От усилия затяжки, в соответствии с рисунком 3.10, на оси закладных замков действует нагрузка в 2500 кг, по 1250 кг на каждую ось. Оси изготовлены из стали 20.
Условие прочности осей на срез
(3.42)
где
=1200 кгс/см2- допускаемое напряжение на срез по таблице 21 [1];
dос =30 мм – диаметр оси.
Условие прочности выполняется
3.5.9 Расчет ограничительной стойки на изгиб от усилия затяжки
Изгибающий момент Мс в соответствии с рисунком 3.9, кгс·см
(3.43)
Допускаемый момент сопротивления в опасном сечении для одной стойки относительно оси Х, см3, в соответствии с рисунком 3.5 по формуле (3.14)
Момент сопротивления стойки относительно оси Х по формуле (3.15) из расчета в п. 5.2.5 WХс = 223,4 см2
Условие прочности выполняется.
3.6 Расчет крепления опорных балок к направляющим устройства
Каждая из девяти поперечных опорных балок крепится к направляющим, представляющим собой перевернутые рельсы, двенадцатью клеммными сборками, в состав которых входят клеммы, болты клеммные с резьбой М22 и пружинные шайбы.
Продольную инерционную силу Fпр = 82453 кгс воспринимают 108 клеммных болтов, изготовленных из стали 20 ГОСТ 1050-88. Допускаемое напряжение растяжения для болтов из стали 20 по таблице 21 [1]
=1400 кгс/см2.
Параметры резьбы М22 по ГОСТ 9150-2002:
d=22 мм – наружный диаметр резьбы;
d1=19,29 мм – внутренний диаметр резьбы;
t=2,5 мм – шаг резьбы;
SБ=2,92 мм2 – расчетная площадь сечения болта.
Суммарное усилие прижатия 108 клеммных болтов Р, кгс, необходимое для восприятия продольной инерционной силы
(3.44)
где
=0,3 – коэффициент трения сталь по стали.
Усилие затяжки одного клеммного болта, кгс
(3.45)
где n=108 - общее количество клеммных болтов, закрепляющих поперечные опорные балки.
Напряжение растяжения, действующее на клеммный болт, кгс/см2
(3.46)
Условие прочности выполняется.
Условие прочности резьбы болта на смятие, кгс/см2
(3.47)
где Н=30 мм – высота гайки;
=2500 кгс/см2 – допускаемое напряжение смятия для стали 20 по таблице 21 [1].
Условие прочности выполняется.
Условие прочности резьбы болта на срез
(3.48)
где K=0,75 – коэффициент полноты резьбы;
=1200 кгс/см2 - допускаемое напряжение среза для стали 20 по таблице 21 [1].
Условие прочности выполняется.
3.7 Расчет торцовой секции
Торцовые секции удерживают пакет рельсов от сдвига при возникновении внештатной (аварийной) ситуации. Проводим расчет крепления створок секции и осевых кронштейнов на срез от воздействия продольного усилия ΔFпр=46210 кгс.
Расчетная схема торцовой секции приведена на рисунке 3.11.
3.7.1 Расчет крепления створок секции
Шарнирные оси и задвижки створок изготовлены из стали 20 диаметром 38 мм. Воздействие пакета на створки может быть неравномерным, поэтому проводим расчет на срез при воздействии продольного усилия отдельно на шарнирные оси и на задвижки створок секции.
Условие прочности осей на срез
(3.49)
где nср = число плоскостей среза;
dос = 38 мм – диаметр оси;
=1200 кгс/см2-допускаемое напряжение на срез по таблице 21[1].
Рисунок 3.11 - Расчетная схема торцовой секции
Напряжение среза на шесть шарнирных осей створок, кгс/см2
Условие прочности выполняется.
Двойное исполнение верхних задвижек позволяет в два раза увеличить число плоскостей среза. Общее число плоскостей среза трех задвижек, равное шести, соответствует числу плоскостей среза шарнирных осей. Соответственно, задвижки створок секции выдерживают нагрузку от сдвига полного пакета рельсов.
3.7.2 Расчет крепления торцовой секции к направляющим устройства
Торцовая секция крепится к направляющим двенадцатью клеммными сборками. Дополнительно к этому креплению на торцовой секции установлено два осевых кронштейна, оси которых проходят через имеющиеся в инвентарных рельсах отверстия для установки рельсовых накладок. Проводим расчет на срез осей кронштейнов при возникновении аварийной ситуации, не учитывая крепление клеммными сборками.
Напряжение среза осей кронштейна по формуле (3.49)
где 8 – число плоскостей среза осей двух кронштейнов (по две оси на кронштейн, две плоскости среза на каждой оси).
Условие прочности выполняется.















