1. Полный текст ВКР (1228452), страница 2
Текст из файла (страница 2)
Ротор: состоит из вала 12 на который напрессован сердечник ротора 13 с короткозамкнутой обмоткой. Вал ротора изготавливают из качественной стали марки 45. Сердечник набирают из листов электротехнической стали толщиной 0,5мм. Пазы ротора прямые . Обмотка ротора короткозамкнутая сварная выполнена из меди.
Подшипниковые щиты 14 и 20 стальные, сварные. На вал посаженные шариковый и роликовый подшипники 2 и 15. Подшипниковые щиты, подшипники с внутренними крышками 17 и наружными крышками 3 и 16 образуют подшипниковые узлы. Подшипник со стороны свободного конца вала работает как плавающий, за счёт установки прокладок.
Подшипниковые узлы имеют лабиринтные уплотнения, защищающие подшипники от пыли грязи а также вытекание смазки из подшипников. Пополнение смазки производят через маслопроводы 5.
Коробка выводов - штампованная. Панель обеспечивает крепление подводящих и выводных проводов а также контактные клеммы выводов имеют буквенно - цифровую маркировку.
Для заземления электродвигателя на лапах предусмотрены болты 19.
Основные технические данные асинхронного электродвигателя НВА-55С приведены в таблице 1.1.
Таблица 1.1 -технические данные асинхронного электродвигателя НВА-55С
| Технические данные | НВА-55С. |
| Мощность, кВт | 55 |
| Напряжение линейное, В | 380 |
| Частота тока, Гц | 50 |
Окончание таблицы 1.1
| 1 | 2 |
| Количество параллельных ветвей | 2 |
| Шаг обмотки | 1-11 |
| Количество катушечных групп | 12 |
| Количество катушек в катушечной группе | 4 |
| Количество полюсов | 4 |
| Диаметр внутренний статора, мм | 250 |
| Воздушный зазор, мм | 1,3 |
| Диаметр наружный ротора, мм | 247,4 |
| Количество пазов сердечника ротора | 36 |
| Частота вращения, об/мин | 1450 |
| Коэффициент мощности, COSφ | 0,82 |
| КПД | 0,90 |
| Соединение фаз обмотки | Y |
| Ток фазный, А | 113 |
| Класс изоляции по ГОСТ 8865-93 | Н |
| Режим работы по ГОСТ 2582-81 | продолжительный |
| Масса, кГ | 375 |
| Наибольшая частота вращения при испытаниях, об/мин | 1800 |
| Сопротивление фазы при 20°С, Ом | 0,032÷0,037 |
| Количество пазов сердечника статора | 48 |
| Количество проводников в пазу сердечника | 5+5 |
| Температура изоляции статора при несимметрии питания 5,8 %, °С | 166 |
| Температура изоляции ротора при несимметрии питания 5,8 %, °С | 145 |
| Срок службы изоляции, час | 12000 |
1.2 Основные способы защиты асинхронных двигателей
1.2.1 Первый способ защиты трёхфазных асинхронных электродвигателей
Схема первого способа защиты трёхфазных асинхронных электродвигателейприведёнана рисунке 1.2.
Рисунок 1.2 – Первый способ защиты асинхронных трехфазных двигателей
Самый распространенный способ, проверенный временем. Защита двигателя от отключения одной фазы обеспечивается применением теплового реле схемный №ТЗ. Смысл этой защиты состоит в том, что постоянная нагревания теплового реле подбирается таким же образом, что и постоянная нагревания электродвигателя. То есть, проще говоря, реле нагревается так же, как и двигатель. И при превышении температуры выше допустимой реле отключает двигатель. При отключении одной фазы ток через другие фазы резко возрастает, двигатель и тепловое реле начинают быстро нагреваться, что вызывает срабатывание теплового реле.
Достоинства способа в том, что он обеспечивает и защиту двигателя от перегрузки и пробоя одной фазы на корпус. Но для надежной защиты от пробоя на корпус двигатель обязательно должен быть заземлен или занулен.
Недостаток способа в том, что тепловое реле нужно достаточно точно подбирать и настраивать. В идеале его номинальный ток должен быть такой же, как и у двигателя, что невозможно осуществить в весенний и осенний период.
1.2.2 Второй способ защиты трёхфазных асинхронных электродвигателей
Схема второго способа защиты трёхфазных асинхронных электродвигателейприведёнана рисунке1.3.
Рисунок 1.3 – Второй способ защиты асинхронных трехфазных двигателей
В обычную систему запуска трехфазного двигателя введено дополнительное реле Р с нормально разомкнутыми контактами Р1. При наличии напряжения в трехфазной сети обмотка дополнительного реле Р постоянно находится под напряжением и контакты Р1 замкнуты. При нажатии кнопки "Пуск" через обмотку электромагнита магнитного пускателя МП проходит ток, и системой контактов МП1 электродвигатель подключается к трехфазной сети. При случайном отключении от сети провода А реле Р будет обесточено, контакты Р1 разомкнутся, отключив от сети обмотку магнитного пускателя, который системой контактов МП1 отключит двигатель от сети. При отключении от сети проводов В и С обесточивается непосредственно обмотка магнитного пускателя. В качестве дополнительного реле Р используется реле переменного тока типа МКУ-48.
Недостаток способа в том, что в данной схеме отсутствует реле тепловогоконтроля.
1.2.3 Третий способ защиты трёхфазных асинхронных электродвигателей
Схема третьего способа защиты трёхфазных асинхронных электродвигателейприведёнана рисунке 1.4.
Рисунок 1.4 – Третий способ защиты асинхронных трехфазных двигателей
Защитное устройство основано на принципе создания искусственной нулевой точки (точка 1'), образованной тремя одинаковыми конденсаторами С1-С3. Между этой точкой и нулевым проводом 0' включено дополнительное реле Р с нормально замкнутыми контактами. При нормальной работе электродвигателя напряжение в точке 0' равно нулю, и ток через обмотку реле не протекает. При отключении одного из линейных проводов сети нарушается электрическая симметрия трехфазной системы, в точке 0' появляется напряжение, реле Р срабатывает и контактами Р1 обесточивает обмотку магнитного пускателя - двигатель отключается.
Достоинства способа в том, что он обеспечивает более высокую надежность по сравнению с предыдущим. Реле типа МКУ - на рабочее напряжение 36 В. Конденсаторы С1-С3 - бумажные, емкостью 4-10 мкф, на рабочее напряжение не ниже удвоенного фазного.
Недостаток способа в том, что чувствительность устройства настолько высока, что иногда двигатель может отключиться в результате нарушения электрической симметрии, вызванного подключением посторонних однофазных потребителей, питающихся от этой сети. Чувствительность можно понизить, применив конденсаторы меньшей емкости.
1.2.4 Четвертый способ защиты трёхфазных асинхронных электродвигателей
Схема защитного устройства аналогична схеме, рассмотренной во втором способе. При нажатии кнопки "Пуск" включается реле Р, контактами Р1 замыкая цепь питания катушки магнитного пускателя МП. Магнитный пускатель срабатывает и контактами МП1 включает электродвигатель. При обрыве линейных проводов В или С отключается реле Р, при обрыве провода А или С - магнитный пускатель МП. В обоих случаях электродвигатель выключается контактами магнитного пускателя МП1. Достоинства способа в том, что по сравнению со схемой защитного устройства трехфазного двигателя, рассмотренной в первом способе, это устройство имеет преимущество: дополнительное реле Р при выключенном двигателе обесточено.Схема приведена на рисунке 1.5.
Рисунок 1.5 - Четвертый способ защиты асинхронных трехфазных двигателей
В выпускаемых в настоящее время тяговых асинхронных двигателях для контроля теплового состояния машины встраиваются датчики температуры, в частности, в электродвигателях марки НТА-1200, в пакет статора вмонтированы терморезисторы типа PT-100 [8].
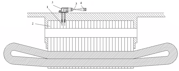
Используемый датчик температуры представляет собой два терморезистора в виде капсул 1, которые установлены в специальные гнезда в сердечнике статора 2. Соединение датчика со схемой управления электровоза осуществляется специальным кабелем 3 и штепсельным разъемом 4.Терморезисторы соединены с выводным кабелем пайкой; место присоединения закрыто специальной уплотнительной крышкой.Схема приведена на рисунке 1.6.
Рисунок 1.6 – Установка термодатчиков тягового электродвигателя НТА-1200:
1 – капсула с терморезисторами; 2 – сердечник статора; 3 – кабель;
4 – штепсельный разъем; 5 – уплотнительная крышка
В свою очередь электровозы с данными типами электродвигателей, в частности электровоз ЭП10, оснащен блоком управления, контролирующим температуру каждого двигателя, установленного на электровозе. Любое превышение температуры сердечника статора какого-либо электродвигателя выше допустимой сопровождается появлением соответствующего сообщения на дисплее пульта машиниста. При этом также происходит диагностическая запись в энергонезависимую память системы управления. В последующем это дает возможность анализа и является основой для определения остаточного ресурса электродвигателя.
Для защиты трёхфазных асинхронных электродвигателей на электровозах серий 2(3)ЭС5К используют схему приведённую на рисунке 1.7.
Рисунок 1.7 – Способ защиты асинхронных трехфазных двигателей электровозов серий 2(3)ЭС5К
Вспомогательные цепи в соответствии с рисунком 1.6. питаются от обмотки собственных нужд тягового трансформатора Т5. Напряжение холостого хода между выводами а4 - 6 обмотки - 235 В, между выводами а4 - х4 - 405 В.
Для снижения уровня атмосферных и коммутационных перенапряжений предусмотрен ограничитель перенапряжений F4, для снижения уровня радиопомех - конденсаторы С17, С18, для защиты от токов короткого замыкания - реле КА9, при включении которого отключается главный выключатель QF1.
Контроль замыкания на корпус осуществляет реле контроля "земли" KV4.
Питание электродвигателей вентиляторов М11, М12 и маслонасоса М15 может осуществляться напряжением с частотой 50 Гц непосредственно от выводов а4 - х4 обмотки собственных нужд тягового трансформатора Т5 через соответствующие контакторы КМ11, КМ12 и КМ1.
Питание электродвигателей вентилятора М13 и компрессора М14 осуществляется напряжением с частотой 50 Гц через соответствующие контакторы КМ13, КМ14.
При установившихся режимах с частотой 50 Гц преобразование числа фаз осуществляется при помощи симметрирующих конденсаторов, которые распределены таким образом, что при любом произвольном порядке включения величина симметрирующей емкости близка к оптимальной. При пусковых режимах конденсаторы С101 - С106 посредством контакторов КМ2, КМ3 подключаются к сборным шинам фаз С2, СЗ. Этим обеспечивается увеличение пускового момента электродвигателя, включаемого первым на номинальную частоту вращения.
В качестве датчика окончания процесса пуска и появления трехфазной системы напряжения на сборных шинах C1, C2, СЗ служит реле контроля напряжения KV01 панели А1, настроенное на напряжение включения 300 В + 50 В. Коэффициент возврата реле принят равным 0,8. При пусках последующих машин реле остается включенным. Необходимый пусковой момент вновь включаемых электродвигателей обеспечивается благодаря ранее включенным машинам, выполняющим функции "расщепителя фаз".
Для снятия статического заряда с конденсаторов С101 - С106 после их отключения предусмотрены резисторы R31 - R33.
От токовых перегрузок вспомогательные машины защищены тепловыми реле А30 - А34, при срабатывании которых отключается соответствующий контактор. А в цепи электродвигателя маслонасоса M15 применено реле КК15. В депо напряжение к вспомогательным машинам может быть подано через розетки Х1, Х2.
Включение питания электродвигателя компрессора на отключенной секции двухсекционного электровоза обеспечивается разъединителями QS28, которые должны быть включены на исправной и неисправной секциях.















