ДП066 Часть 1,2 готовый исправл (1227447), страница 10
Текст из файла (страница 10)
Расчет развески ведут в следующей последовательности. Составляют эскиз расположения оборудования на тепловозе. На эскизе вес каждого зла представляют в виде вертикальной силы, приложенной в его центре тяжести. Ось моментов часто совмещают с осью сцепления передней автосцепки. При симметричном расположении оборудования, например, при иловой установке из двух дизелей, ось моментов выгоднее совместить поперечной осью симметрии тепловоза. Расчет развески в этом случае короче.
Момент веса каждого узла относительно выбранной оси
– плечо силы, равное расстоянию от центра тяжести узла до оси моментов, м.
Далее определяют центр тяжести верхнего строения тепловоза, вес которого передаётся на опоры тележек. К верхнему строению относят кузов с кабинами машиниста, раму и всё оборудование, размещённое в кузове и на раме (дизель-генераторная группа; охлаждающее устройство; тормозная, масляная, топливная, водяная системы; вспомогательное оборудование; топливный бак; упряжные приборы; 2/3 запасов песка и топлива и др.).
Координаты (в м) центра тяжести верхнего строения тепловоза
Для равномерного распределения нагрузки от верхнего строения тепловоза между тележками их располагают симметрично вертикали, проходящей через центр тяжести верхнего строения. Подрессоренный вес, приходящийся на буксы одной тележки
Подрессоренный вес, приходящийся на одну ось, равен
, где
– число осей тележки. Нагрузка от каждой оси на рельсы
Оборудование тепловоза компонуют в несколько этапов, поэтому и расчет развески также уточняют несколько раз до получения требуемого результата.
По результатам окончательного расчета развески устанавливают координаты отверстий для крепления к раме тепловоза дизель-генератора и другого оборудования.
2.4 Предварительные работы, связанные с развеской тепловоза
2.4.1 Подбор и монтаж опорно-возвращающих устройств
Произвести ремонт опор согласно «Руководства» №105.80700.103-92. п.6.6.
На контрольной плите при помощи штангенрейсмаса и измерителя опоры замерить высоту опоры, (от опорной поверхности корпуса до поверхности под установку резинометаллических элементов. Размер-А). Высота опоры должна составлять А=165-9мм, для опоры А=167 -9 мм (смотри рисунок 2.8). Устанавливать опоры с разницей в высотах не более 2 мм для опор одной тележки и не более 5мм на секцию. Установка опор на тележки должна соответствовать как показано на рисунке 2.9. При этом данные замеров высот записать в таблицу 2.3.
| 1 – опора; 2 - элемент резинометаллический; 3 - шайба регулировочная; 4 – пластина; 5 - шайба регулировочная Рисунок 2.8 – Опорно-возвращающее устройство [3] |
| | |||||||
| Рисунок 2.9 – Нумерация опорно-возвращающих устройств секции тепловоза [3] | |||||||
| Таблица 2.3 – Подбор и установка прокладок на опорно-возвращающие устройства с резинометаллическими элементами | |||||||
| № опор | Размер А, мм | Размер К, мм | Кол-во прокладок/ толщина в мм | Толщина постоянных шайб, мм | Кол-во/толщина прокладок в зависимости от прострелки рам | Кол-во/толщина прокладок окончательная (перед отпуском) | |
| 1 | 2 | 3 | 4 | 5 | 6 | 7 | |
| 1 | - | - | - | - | - | - | |
| 2 | - | - | - | - | - | - | |
| 3 | - | - | - | - | - | - | |
| 4 | - | - | - | - | - | - | |
| 5 | - | - | - | - | - | - | |
| 6 | - | - | - | - | - | - | |
2.4.2 Подбор комплектов резинометаллических элементов рессорного подвешивания
Каждый комплект резинометаллических элементов (с верхней металлической опорой) проверить на прессе под статической нагрузкой (11000+ - 5О кгс) с выдержкой не менее 3 мин. Если остаточная деформация комплекта резинометаллических элементов более 8мм, комплекты заменить новыми (остаточная деформация определяется как разность замеров резинометаллических элементов по высоте до и после нагружения статической нагрузкой) Высота комплекта под нагрузкой с учётом толщины верхней металлической опоры и комплекта регулировочных шайб должна быть не менее К = 268мм для тепловоза 2ТЭ10В и не менее К= 272мм для тепловозов 2ТЭ10М, С, У. На одну тележку устанавливать комплекты резинометаллических элементов с разностью по размеру «К» не более 1,5 мм, на секцию не более 5мм (рисунок 2.8). При уменьшении высоты роликовых опор и комплектов резинометаллических элементов толщина компенсирующих элементов увеличится. Компенсирующими элементами являются регулировочные шайбы и шайбы по рисунку 2.10. Регулировочные шайбы устанавливать на верхнюю металлическую опору комплекта. Шайбы по рисунку 2.10 устанавливать между верхней профильной опорой роликового аппарата и нижней металлической опорой под установку резинометаллических элементов. Толщина шайб по рисунку 2.10 не более 12 мм, при этом хвостовик опоры должен выступать не менее чем на 5мм.
Для резинометаллических комплектов допускается установка регулировочных шайб: толщиной до 10 мм, для жестких опор до 6 мм.
Данные замеров размера «К», количество и толщину регулировочных шайб и толщину шайб на рисунке 2.10 для каждой опоры записать в таблицу 2.3
2.4.3 Проверка рамы тепловоза
Проверку рамы тепловоза производить согласно «Инструкции на проверку рамы тепловозов» 034.25.300.00001. Толщину прокладок для каждой опоры подсчитать и записать в таблицу 1.
2.4.4 Подбор пружин рессорного подвешивания тележек
Подбор пружин рессорного подвешивания производить согласно «Инструкции по проверке характеристик и подбору пружин рессорного подвешивания тележек» И.32.ВНИКТИ.02-02.
В рессорном отделении КЛЦ произвести визуальный осмотр пружин. Пружины, имеющие изломы, трещины, коррозионные повреждения более 10% площади сечения витка и просевшие больше установленной нормы отбраковать. Проверить пружины под нагрузкой. Данные записать в журнал. Высота пружин под нагрузкой должна соответствовать таблице 2. На проверенные пружины крепить бирки на которых выбит номер завода и номер группы. Бирки крепить на втором витке пружин мягкой проволокой
У тепловозов 2ТЭ10 М, С, У с бесчелюстными тележками рессорное подвешивание может быть с трехрядными и с двух рядными пружинными комплектами. В обоих случаях пружины одинаково разбиваются на три группы по высоте под статической нагрузкой. Комплекты пружин комплектуются в зависимости от группы наружной пружины представленной на рисунке 2.11. На тележку ставить комплекты пружин одной группы. На секцию тепловоза ставить тележки с комплектами пружин одной группы или со смежными группами, т. е. I и II, II и III.
В зависимости от наружных пружин устанавливать внутренние пружины и постоянные пластины в соответствии с таблицей 2.4.
Таблица 2.4
| № группы | Группа наружных пружин | Группа внутренних пружин | Общая толщина пластин |
| 1 | I | I или II | 12 |
| 2 | II | I, II или III | 6 |
| 3 | III | II или III | - |
Пружины внутренние под статической нагрузкой должны иметь высоту 214-232 мм без разбивки по группам жесткости.Количество и толщину постоянных и регулировочных прокладок (на каждый комплект пружин записать в таблицу 2.5.
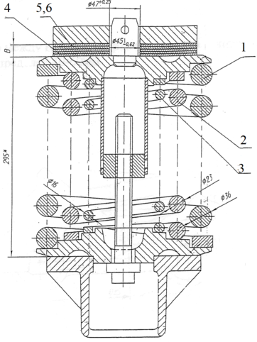
| 1 - пружина (наружная); 2 - пружина (внутренняя); 3 - пружина (внутренняя); 4 - прокладка (постоянная); 5 - регулировочная прокладка; 6 - регулировочная прокладка Рисунок 2.12 – Комплект пружин рессорного подвешивания тележки [5] |
2.4.5 Установка или снятие дополнительных прокладок в зависимости от диаметра круга катания колёсных пар
Колесный цех вместе с подачей колёсных пар на тележечный участок должен предоставить справку с указанием номеров колёсных пар и их диаметров бандажей по кругу катания.
Колёсные пары подбирать с разницей диаметров бандажей по кругу катания у комплекта колёсных пар одной секции не более 5мм для бесчелюстных тележек и 9мм для челюстных тележек. Правила капитального ремонта тепловозов ЦТВР-ЦТ\4662 п.10.19.11.
Для сохранения поколёсной развески с учётом изменения диаметра круга катания колёсных пар производить дополнительную регулировку.
Регулировку развески производить установкой прокладок на пружинные комплекты колёсных пар меньшего диаметра или съёмом прокладок с пружинных комплектов большего диаметра.
Толщину прокладок определять для каждого колеса одной тележки из расчёта: 1мм прокладок компенсирует разность по диаметру колёс 2 мм.














