работа2 (1223965), страница 5
Текст из файла (страница 5)
Высоту штабеля сырого песка принимают 3-4 метра. При низких горизонтах грунтовых вод разрешается делать заглубления основания склада до 1 м. Современные склады сухого песка сооружают в виде крытых цилиндрической формы железобетонных хранилищ башенного типа (плакат ДП190301.65.КТ14-Л-096.08) вместимостью 3000, 800 и 120м
Они отличаются компактностью , удобны и надёжны в эксплуатации. Загрузка их выполняется элеватором или пневмотранспорёрными устройствами.
5.3.5 Оборудование для сушки и транспортирования песка
Для просушивания песка получили распространение барабанные сушила СОБУ – 1, (сушило огневое, барабанное, угольное). Они различаются диаметром и длиной барабана, частотой его вращения и производительностью. Унифицированные сушила с барабаном диаметром 1000мм и длиной 5000 имеют производительность по сухому песку 3225кг/ч (рисунок5.2)
Для транспортирования сырого песка со склада к сушильной печи и загрузки его в приёмный бункер сушильного устройства применяют скреперные устройства. Хорошо зарекомендовали себя также скиповые подъёмники, ленточные транспортеры, а для сушилок малой производительности – электро тельферы.
Просушенный песок просеивается в разгрузочной камере через сито с размером отверстий 2 мм и поступает в пневмотранспортную установку для подачи в башенный склад, а затем с помощью дополнительных баков – к раздаточным бункерам. Барабанные сушила типовых конструкций работают по прямоточному принципу, при котором направление движения песка и горячих газов совпадает, чем достигается более эффективное использование тепла продуктов сгорания.
1 –компрессорная установка; 2–резервуар сжатого воздуха; 3–дымососная установка; 4 – патрубок для загрузки сухого песка; 5 – дутьевой вентилятор; 6– топка; 7– опорное устройство; 8– сушильный барабан; 9–приводной механизм; 10–бункер сухого песка; 11–приемные патрубки; 12– патрубок дымо-вытяжной системы; 13–разгрузочная камера; 14–карман отсева песка
Рисунок5.2 – Пескосушилка с унифицированным барабанным сушилом.
На малодеятельных пунктах экипировки встречаются жаротрубные устройства для сушки песка, производительность которых не превышает 0,5м
/ч. Возможно использование для сушки песка электропечей.
5.3.6 Подача песка на локомотивы.
Сухой песок транспортируется к раздаточным устройствам пневматическим способом. В этом случае применяют установки (устройства) выжимного типа, работающие на сжатом воздухе от компрессора, и вентиляторные действующие по принципу эжекции. В выжимных установках песок из сушила через систему сит поступает самотёком в выжимной бак (рисунок5.3)
1, 2 –верхние и нижние днища; 3- труба сжатого воздуха; 4 – пескоподводящий патрубок; 5 – автоматический клапан; 6 – люк; 7- отросток пескопровода; 8- цилиндрическая обечайка; 9 – опора бака; 10- заглушка
Рисунок 5.3– Выжимной бак
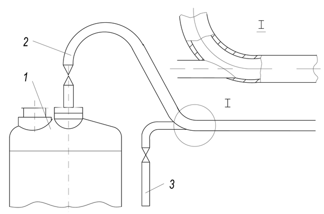
Песок вытесняется сжатым воздухом давлением 0,6 – 0,7МПа, и подаётся по трубам на склад сухого песка или непосредственно в раздаточные бункера. Песок поступает в выжимной бак по пескопроводному патрубку 4 через клапан 5, который автоматически закрывается при вытеснении песка сжатым воздухом через отросток 7 в пескопровод к раздаточному бункеру.
При вентиляторнойпескоподаче (плакат ДП190301.65.КТ14-Л-096.08) песок из сушила поступает через загружатель 2 в нагнетательный трубопровод 3, захватывается воздухом, подоваемым от вентилятора 4 высокого давления с напором 3,5 – 4кПа, и далее транспортируется так же, как и при выжимной системе.
Наибольшее распространение получили песко подающие устройства выжимного типа. К числу их главных достоинств относится возможность транспортировки песка на значительное расстояние – до 200 метров по трубам сравнительно малого диаметра. Для обеспечения устойчивой работы установки при потере напора с увеличением длины пескопровода ( в связи с чем могут образоваться песочные пробки), а также для поддержания производительности пескоподачи 2000 кг/ч и более рекомендуется при длине пескопровода 100 – 150 метров и выше применять дополнительный подвод воздуха в магистраль (рисунок 5.4).
.
1 –выжимной бак; 2 – пескопровод; 3 – воздухопровод; І – место дополнительного подвода воздуха.
Рисунок 5.4 – Система дополнительного подвода воздуха(под давлением) в пескопровод.
Вентиляторная система отличается простотой устройства и обслуживанием требует меньших капитальных затрат на строительство и потребляет меньше электроэнергии, но обеспечивает подачу песка на расстояние всего лишь 50 – 70 метров с производительностью 1300 – 1500 кг/ч.
Пескораздаточные устройства (плакат ДП190301.65.КТ14-Л-096.08) устанавливают в междупутьях экипировочных позиций на железобетонных центрифугированных опорах, а также на порталах и эстакадах, перекрывающих пути, преднозначеные для экипировки локомотивов. Вместимость пескораздаточных бункеров должна обеспечивать запас песка в количестве не менее трёх часового расхода. В зависимости от этого подбирается нужное число бункеров.
Высокаяобразивность песка приводит интенсивный износ пескопровода.
Основным способом повышения надёжности коммуникаций пескоснабжения являются: прокладка кротчайших по длине трасс с минимальным колличеством изгибов и поворотов, точный монтаж труб, использование буферных труб.
5.4Смазочное хозяйство
5.4.1 Функции и основное оборудование смазочного хозяйства
В функции смазочного хозяйства входит: снабжение локомотивов и мотор-вагонного подвижного состава смазочными и обтирочными материалами, приёмка и хранение необходимого количества соответствующих материалов, регенерация отработавшего масла. Для обеспечения нормальной работы трущихся деталей механизмов, агрегатов и приборов локомотивного парка требуется около 15 сортов различных смазочных материалов.
К числу основного оборудования смазочного хозяйства относятся: устройства для выгрузки, слива и подогрева смазочных материалов, оборудование для выдачи смазок на локомотивы, аппаратура для учёта расхода и анализа качества смазочных материалов, регенерационная установка, помещение для обслуживающего персонала.
5.4.2 Нормирование расхода и установление запаса смазочных материалов
В наибольших количествах расходуются дизельное, индустриальное (машинное) масло, осевое, трансмиссионное, автотракторное (нигрол) и компрессорные масла.Осернённая смазка, солидол, пластичные смазочные составы.
На выполнение маневровой работы тепловозами потребное количество остальных сортов смазочных материалов, т, определяется по нормированию на одну секцию при выполнении технического обслуживания ТО – 2 по сериям тепловозов.
Если на маневровой работе используются электровозы, то суточный расход смазок для них рассчитывается на условный пробег по поездным нормам.
Суточный расход смазочных материалов на хозяйственные нужды депо и других потребителей Eсмх определяется по конкретным местным потребностям.
Запас смазочных материалов на складе устанавливается в зависимости от дальности их подвоза и обычно принимается в размере от месячной до двухмесячной величины расхода,
Основной запас обтирочных и фильтрующих материалов содержится, как правило на дорожном или участковом материальном складе. В кладовой раздаточной экипировочного хозяйства имеется только трёх суточный запас.
5.4.3 Устройства для слива, приёмки, хранения и выдачи смазочных материалов
Смазочные масла как более вязкие по сравнению с дизельным топливом (дизельное, осевое, компрессорное, трансмиссионное, индустриальное) перевозят в железнодорожных цистернах с нижними сливными приборами, через которые происходит слив масел самотёком. Масло можно откачивать через верхний люк цистерны с использованием оборудования эстакады, сливного стояка или передвижного насоса, размещенного на тележке.
Значительный запас масел на складе хранят в наземных, полуподземных и подземных металлических или железобетонных резервуарах вместимостью 10 – 150м³. Резервуары для хранения дизельного, компрессорного, трансмиссионного, индустриального масла размещаются как правило, вместе с топливными хранилищами на площади единого резервуарного парка. Насосы для перекачки масла устанавливают на общей насосной станции. Смазочные материалы и керосин, расходуемых в небольшом количестве – до 50 кг в сутки (приборное масло, нигрол, консистентные смазки и др.) и доставляемые на склад в бочках, ящиках хранятся в этой таре в кладовой или специальном хранилище смазочного хозяйства со стеллажами и необходимым подъёмным устройством.
Снабжение тепловозов дизельным маслом и заправка моторно-осевых подшипников электровозов индустриальным маслом производится через раздаточные колонки, устанавливаемые в междупутьях экипировочных позициях.
Раздаточные колонки оборудованы расходным счётчиком и устройством дистанционного управления насосами. Все остальные смазочные материалы выдают по массе заранее расфасованном виде или в специальную посуду. В отделение входят так же по подготовке тары для смазочных материалов, расфасовке смазок, приготовлению сернистого нигрола.
Вязкость масла при сливе и перекачке снижают при помощи подогрева, используя для этого паровые подогреватели (змеевики). Применение огневого или электрического способа разогрева не допускается
Жидкие масла перед выдачей подвергаются фильтрации. Качество масла регулярно контролируется химико-технической лабораторией перед сливом и приёмкой в хранилища и при выдаче.
Отработавшие масла собирают по сортам и маркам в раздельные тары для последующей регенерации на специальных заводах. Нормы сбора масел для регенерации: осевое – 3 %. Дизельное и компрессорное масло -25%. Восстановленное дизельное масло используется в виде добавки к свежему в количестве 20 – 25%, а компрессорное и индустриальное – наравне со свежим.
Для набивки топливных и масленых фильтров, а также для обтирки деталей в тепловозном хозяйстве в больших количествах потребляют фильтрующие (набивочные) и обтирочные материалы, которые после первичного использования подвергаются регенерации. Регенерационные установки могут размещаться в депо или в специальных вагонах (передвижные устройства).
6 РАСЧЕТ УСТРОЙСТВ ДЕПО
6.1 Расчета количества специализированных стойл
В локомотивных депо в зависимости от выполняемой работы по обслуживанию локомотивов строят специализированные стойла: для ТО-2, ТО-3, Количество специализированных стойл для обслуживания определяют в соответствии с годовой программой, продолжительностью простоя в каждом из них на специализированном стойле и организацией работы в депо. Количество специализированных стойл для технического обслуживания составляет 4 шт. Депо ЖДЦ является так же теплой стоянкой тепловозов и число стоил соответствует количеству локомотивов приписанных к депо.
Габаритные размеры стойл депо указаны в нормах.
Рассчитать число экипировочных мест для экипировки, совмещенной с ТО-2 можно по формуле (6.1):
| | (6.1) |
.
Число мест экипировки определяется по формуле:
| | (6.2) |
Общее потребное число мест определим по формуле (6.2):
.
Для ТО-2 и экипировку принимаем 1 место.
Расстояние от нижней габаритной точки крана до крыши локомотива не менее 2 м.
Основные размеры ремонтных участков принимают с учетом условий установки на стойлах наибольших по длине локомотивов, размещения поточных механизированных ремонтных линий и позиций, необходимого оборудования, наличия проходов и проездов.
При проектировании новых депо и реконструкции существующих размеры зданий ремонтных участков устанавливают с учетом размеров перспективного тягового подвижного состава.
Размеры новых зданий унифицируются: длина принимается кратной шагу колонны 6 или 12 м, пролет зданий кратным 6 м (размером от 12 до 30 м), а высота зданий (отметка от пола до низа несущих конструкций перекрытия) мостовым краном — 8,4; 9,6; 10,8 и кратной 1,8 м при большей высоте.
Длину зданий принимают кратной шагу колонны (6 или 12 м). Ширину зданий ремонтных цехов для локомотивов и принимают равной для участка ТР-3 — 30 м, для остальных цехов — 24 м.
6.2 Тяговая территория локомотивного депо
Все устройства и сооружения железнодорожного транспорта, необходимые для перевозок грузов, размещают на так называемой «полосе отчуждения». Часть територии полосы отчуждения занимают устройства локомотивного хозяйства. На этой территории, называемой тяговой или деповской, располагаются здания локомотивного депо и все сооружения, необходимые для нормальной работы.
План тяговой территории с размещением всех сооружений, обустройств и тракционных путей называют генеральным (плакат ДП190301.65.КТ14-Л-096.02).
Здания депо и служебно-бытовые помещения размещают с учетом максимального использования естественного освещения и влияния направления господствующих ветров. Тяговую территорию благоустраивают: озеленяют, хорошо освещают, проезжую часть дорог безрельсового транспорта и пешеходные дорожки асфальтируют.
На деповской территории укладывают рельсовые пути для прохода локомотивов на станцию и со станции, заезда на специализированные стойла в здании депо.
,
,














