2.Описание конструкции МПТ-4 (1222818)
Текст из файла
2. Описание конструкции и работы узлов и агрегатов МПТ-4
2.1. Назначение и общее устройство мотовоза МПТ-4
Мотовоз предназначен для:
1. Погрузки, выгрузки грузов, перевозки грузов на собственной платформе;
2. Перевозки грузов на прицепных платформах;
3. Перевозки длинномерных грузов, в том числе и рельсов длиной 25 м на собственной и прицепной платформах;
4.Перевозки рабочих бригад к месту работ;
5. Проведения маневровых работ на станционных путях;
6. Проведения сварочных работ в полевых условиях;
7. Питания эл. энергией 380/220В, 50Гц — потребителей до 50 кВт;
8. Питания воздухом 8 атм. — потребителей;
9. Использования в качестве головной машины в составе комплекса для текущего содержания пути.
Мотовоз МПТ-4 представляет собой самоходный двухосный экипаж. На передней консоли расположена несущая кабина с грузоподъёмным краном. На задней консоли под капотом силовая установка (дизель ЯМЗ-238 Б-14), передающая мощность через клиноременную передачу на трехфазный генератор, а через гидропередачу и карданный привод на осевые редукторы колесных пар и компрессор. На конец 2014 г. построено более 1300 единиц в различных модификациях (отличаются силовой установкой, формой капота и т.д.).
1 – тяговая лебедка; 2 – привод поворота стрелы; 3 –грузовая тележка; 4, 7 – крайние положения крюковой обоймы; 5 – транспортное положение крюковой обоймы; 6 – стрела крана; 8 – поводок; 9 – обводной блок; 10 – ограничитель грузоподъемности; 11 – транспортные распорки; 12 – дизель-генератор; 13 – автосцепки; 14 – катушки КЛУБ-УП; 15 – топливный бак; 16 – песочница; 17, 23 – приводные колесные пары; 18 – карданные валы; 19 – универсальная гидропередача ГП-300; 20 – платформа; 21 – промежуточная опора; 22 – пневмосистема; 24 – аутригеры; 25 – кабина управления; 26 – промежуточная опора крана; 27 – основание крана; 28 – грузовая лебедка.
Рисунок 2.1 - Мотовоз погрузочно-транспортный МПТ-4 (общий вид)
Экипажная часть мотовоза содержит сварную раму 20, которая опирается через буксовое рессорное подвешивание на переднюю 23 и заднюю 17 колесные пары. Привод колесных пар мотовоза осуществляется от дизеля 12 ЯМЗ-238Б-14 мощностью 220 кВт через гидромеханическую коробку перемены передач 19, карданные валы 18, промежуточную опору 21 и осевые редукторы. Сущность привода аналогична приводу полноприводных автомобилей, с той разницей, что здесь отсутствует межосевой дифференциал, и, как показывает опыт эксплуатации, ходовая часть при этом испытывает более существенные динамические нагрузки. Мотовоз имеет тормозную систему 22, автосцепки 13 и систему безопасности движения КЛУБ-УП 14. На раме размещается кабина управления 25, которая позволяет также перевозить персонал в количестве до 11 чел.
Мотовоз оборудован генератором переменного тока.
Кабина имеет жесткий стальной каркас, на котором через опорно-поворотный круг 26 устанавливается поворотный грузоподъемный консольный кран с зоной обслуживания в радиусе до 7,5 м.
Кран монтируется на платформе 22, которая поворачивается механизмом поворота 2 с электроприводом. Грузовое оборудование крана содержит консольную стрелу 6 с направляющими для грузовой тележки 3.
Захватный крюк, имеющий крайние 3, 7 и транспортное 5 положения, подвешен через двукратный полиспаст. Один конец грузового троса закреплен на ограничителе грузоподъемности 10, а другой – на барабане грузовой лебедки 28 с приводом от электродвигателя через червячный редуктор. Для перемещения груза вдоль стрелы применена двухбарабанная тяговая лебедка 1 с закреплением тросов за тележку 3 с использованием обводного блока 9. Управление краном может производиться из кабины управления или с выносного пульта.
Аутригеры приводятся гидроцилиндрами 2, а их выдвижная часть фиксируется пальцем 5. Зависимость грузоподъемности крана от вылета для мотовозов МПТ-4 и для сравнения МПТ-6 показана на рисунке 2.2.
Рисунок 2.2 - Характеристика грузоподъемности крана от вылета стрелы
1 – балка; 2 – гидроцилиндр опорный; 3 – кронштейн; 4 – аутригер; 5 – палец; 6 – башмак; 7 – подкладка.
Рисунок 2.3 – Аутригеры.
При работе крана производится блокировка буксового рессорного подвешивания колесной пары 23 и одновременно для дополнительного повышения поперечной устойчивости дрезины опускаются на предварительно установленные на балласт подкладки 7 башмаки 6 аутригеров 4 (Рисунок 2.3).
Режимно-реверсивный осевой редуктор предназначен для изменения режима (скорости) и напрвления движения.
Через него производится отбор мощности для привода генератора переменного тока, питающего электродвигатели крана и прикрепленных к мотовозу механизмов. От этого же редуктора получает вращение генератор постоянного , служащий для питания электроэнергией электромагнита грузоподъемностью 250 кг тока (если предусмотрена такая система компоновкой мотовоза).
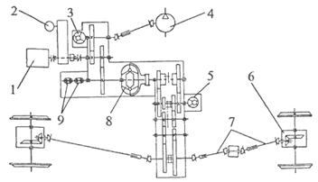
На рисунке 2.4. приведена кинематическая схема трансмиссии мотовоза.
1 – дизель; 2 – генератор; 3 – импульсный насос; 4 – компрессор; 5 – импульсный насос; 6 – осевой редуктор; 7 – карданные передачи; 8 – гидромеханическая передача; 9 – блок питающего и отсасывающего насосов.
Рисунок 2.4 - Кинематическая схема трансмиссии мотовоза МПТ-4.
2.2 Технические характеристики и принцип действия МПТ-4.
Технические характеристики мотовоза МПТ-4 приведена в таблице 2.1.
Таблица 2.1. Технические характеристики мотовоза МПТ-4.
| Общие | |
| мощность силовой установки, кВт (л.с.) | 220 |
| тип и модель двигателя | ЯМЗ-238 Б-14 |
| тип и модель трансмиссии | гидромеханика |
| УГП-300 | |
| грузоподъемность собственной платформы, т | 8 |
| скорость максимальная, км/ч | 100 |
| прицепная нагрузка макс. в маневровом режиме, т | 300 |
| прицепная нагрузка макс. в поездном режиме, т | 60 |
| пассажировместимость, чел. | 10 |
| масса конструктивная, т | 31 – 32 |
| минимальный радиус проходных кривых, м | 150 |
| сила тяги при трогании, кН (тс) | 70 (7) |
| нагрузка колесной пары на рельсы, кН (тс) | |
| Передней | 177,5 (17,75) |
| Задней | 142,5 (14,25) |
| Генератор перемненного тока | |
| Тип | ЕСС-91-04-01У2 |
| мощность, кВт | 50 |
| напряжение, В | 400 |
| Крановая установка | |
| тип крановой установки | консольная |
| грузоподъемность без дополнительных опор на мин. вылете, т | 5 |
| грузоподъемность без дополнительных опор на макс. вылете, т | 1,2 |
| грузоподъемность с дополнительными опорами на мин. вылете, т | 5 |
| грузоподъемность с дополнительными опорами на макс. вылете, т | 2,2 |
| высота подъема крюка грузоподъемного от УВГР, м | 4 |
| вылет крюка грузоподъемного от оси пути макс., м | 7,5 |
| вылет крюка грузоподъемного от оси пути мин., м | 1,8 |
| наличие съемных люлек крана | нет |
| угол поворота крана | 3600 |
| Снегоуборочное оборудование | |
| Марка | ТМЗ |
| Тип | плуг-снегоочиститель таранного типа |
| Продолжение Таблицы 2.1. | |
| Габаритные размеры изделия | |
| расстояние по осям автосцепок, мм | 12960 |
| ширина, мм | 3150 |
| высота, мм | 5250 |
| база, мм | 7000 |
Принцип работы мотовоза МПТ-4 представлен графиком режимов движения на Рисунке 2.5.
Участок Оа – происходит разгон с постоянным по величине ускорением a= const; участок ab – сила тяги уменьшается; участок графика bc – движение равномерное, fM = const; при выключенном тяговом двигателе мотовоз двигается по инерции – участок cd; на участке de – движение происходит в тормозном режиме до остановки.
Рисунок 2.5 - График режимов движения мотовоза
2.3. Выводы.
Моторно-рельсовый транспорт занимает большую часть парка путевых машин ОАО АК «ЖДЯ» - 30% от всех машин, а именно:
-
Автомотрисы – 2 единицы (АС-5).
-
Мотовозы – 5 единиц (МПТ-4).
Несколько мотовозов морально устарели, выпущены в 80-х годах 20 века, часто происходят поломки. В данной работе будет представлен вариант модернизации крановой установки мотовоза МПТ-4. Модернизация мотовоза гораздо дешевле, чем покупка нового.
Характеристики
Тип файла документ
Документы такого типа открываются такими программами, как Microsoft Office Word на компьютерах Windows, Apple Pages на компьютерах Mac, Open Office - бесплатная альтернатива на различных платформах, в том числе Linux. Наиболее простым и современным решением будут Google документы, так как открываются онлайн без скачивания прямо в браузере на любой платформе. Существуют российские качественные аналоги, например от Яндекса.
Будьте внимательны на мобильных устройствах, так как там используются упрощённый функционал даже в официальном приложении от Microsoft, поэтому для просмотра скачивайте PDF-версию. А если нужно редактировать файл, то используйте оригинальный файл.
Файлы такого типа обычно разбиты на страницы, а текст может быть форматированным (жирный, курсив, выбор шрифта, таблицы и т.п.), а также в него можно добавлять изображения. Формат идеально подходит для рефератов, докладов и РПЗ курсовых проектов, которые необходимо распечатать. Кстати перед печатью также сохраняйте файл в PDF, так как принтер может начудить со шрифтами.
















