диплом для архива (1222348), страница 4
Текст из файла (страница 4)
Жидкое котельное топливо (топочный котельный мазут) по своему элементарному составу мало отличается от сырой нефти. Мазут обычно содержит некоторое количество воды, увеличивающееся после водных перевозок, а также при разогреве в цистернах острым паром. Согласно ГОСТ 10585 — 75 мазут подразделялся на шесть марок: Ф5, Ф12, М40, М100, М200 и МП, из них в стационарных котельных установках сжигают мазут трех марок — М40, М100 и М200. Характеристика котельного мазута разных марок приведена в таблице 2.1 [26].
Таблица 2.1
Характеристика котельного мазута
| Показатель | Марка мазута | ||||
| малосернистый | высокосернистый | ||||
| М-10 | М100 | М40 | М100 | М200 | |
| Условная вязкость, град: при 80 оС при 100 оС Температура, оС: Вспышки Застывания | 8 - 90 10 | 15,5 - 110 25 | 8 - 90 10 | 15,5 - 110 25 | - 6,5-9,5 140 35 |
Одним из основных загрязнителей поверхностных вод является нефть и нефтепродукты. Нефть может попадать в воду в результате естественных ее выходов в районах залегания. Но основные источники загрязнения связаны с человеческой деятельностью: нефтедобычей, транспортировкой, переработкой и использованием нефти в качестве топлива и промышленного сырья[27].
Среди продуктов промышленного производства особое место по своему отрицательному воздействию на водную среду и живые организмы занимают токсичные синтетические вещества. Они находят все более широкое применение в промышленности, на транспорте, в коммунально-бытовом хозяйстве. Концентрация этих соединений в сточных водах, как правило, составляет 5-15мг/л при ПДК - 0,1 мг/л. Эти вещества могут образовывать в водоёмах слой пены, особенно хорошо заметный на порогах, перекатах, шлюзах. Способность к пенообразованию у этих веществ появляется уже при концентрации 1-2 мг/л.
Наиболее распространенными загрязняющими веществами в поверхностных водах являются фенолы, легко окисляемые органические вещества, соединения меди, цинка, а в отдельных регионах страны – аммонийный и нитритный азот, анилин, метил меркаптан, формальдегид и др [26]. Огромное количество загрязняющих веществ вносится в поверхностные воды со сточными водами предприятий черной и цветной металлургии, нефтехимической, нефтяной, химической, газовой, лесной, целлюлозно-бумажной промышленности, угольной, предприятий сельского и коммунального хозяйства, поверхностным стоком с прилегающих территорий.
2.2 Анализ экологичности использования мазута в котельных на предприятиях железнодорожного транспорта и схем приготовления водомазутных эмульсий
Железнодорожный транспорт имеет относительно малый удельный вес в валовом объеме загрязнения воздуха. По данным [10], стационарными источниками железнодорожных предприятий ежегодно выбрасывается в атмосферу около 400 тыс. т вредных веществ, что составляет около 1 % общего объема выбросов. Распределение вредных выбросов загрязняющих веществ, %, котельными по предприятиям ОАО «РЖД» приведено в таблице 2.2 [9].
Таблица 2.2
Распределение выбросов вредных веществ, %,
по предприятиям ОАО «РЖД»
| Наименование предприятия | Оксиды азота | Оксиды серы | Сажа | Оксид углерода |
| Дистанции гражданских сооружений | 37,1 | 63,1 | 37,8 | 30,0 |
| Локомотивные депо | 41,1 | 15,6 | 20,7 | 28,9 |
| Вагонные депо | 7,9 | 4,0 | 10,4 | 10,4 |
| Заводы по ремонту | 10,3 | 11,4 | 20,2 | 25,0 |
| подвижного состава | ||||
| Предприятия других служб | 3,3 | 5,9 | 10,9 | 5,7 |
Системами газоочистки и пылеулавливания, эксплуатируемыми на предприятиях ОАО «РЖД», ежегодно обезвреживается лишь 30 % примесей, основную часть которых составляют твердые вещества (сажа, зола, пыль), что, к сожалению, недостаточно для обеспечения необходимых санитарных норм по качеству атмосферного воздуха [25].
Основные проблемы загрязнения воздуха связаны, прежде всего, со сжиганием топлива в стационарных тепловых агрегатах, так как на долю котельных приходится до 90 % всех вредных выбросов. На предприятиях ОАО «РЖД» эксплуатируется около 18 тыс. паровых и водогрейных котлов, работающих на всех видах топлива.
На предприятиях Дальневосточной железной дороги эксплуатируется более 900 котельных, в которых установлено около 1 тыс. паровых и водогрейных котлов малой и средней мощности, сжигающих ежегодно около 100 тыс. т удельного топлива (у.т.) (мазута – 30 %, угля – 70 %). В котельных локомотивных и вагонных депо, хозяйств гражданских сооружений наряду с современными котлами типа ДЕ, Е-1/9 и др. [11] (рисунок 2.2 и 2.3) эксплуатируются малоэкономичные и устаревшие конструкции котлов Ревокатова, Шухова, Шухова – Берлина и др. [12]. Всего насчитывается около 25 типов паровых и водогрейных котлоагрегатов. Нельзя не отметить, что продолжают эксплуатироваться морально и технически устаревшие паровозные котлы различных серий Еа и Ел, которые имеют величину кпд на 15...20 % ниже современных котлоагрегатов аналогичной мощности. Во многих котельных установлены разнотипные котельные агрегаты, в некоторых одновременно эксплуатируются и водогрейные, и паровые котлы. Характерной особенностью стационарных теплоэнергетических установок на железнодорожном транспорте следует считать небольшую (по сравнению с другими промышленными предприятиями) единичную мощность и паропроизводительность – от 1 до 10 т/ч.
Кпд котлов должен быть не менее 60...79 % (нижний предел соответствует котлоагрегатам, работающим на буром угле, верхний – на антраците). Кроме того, содержание вредного вещества (оксида углерода) по объему в сухих уходящих газах в пересчете на коэффициент избытка воздуха, равный единице, не должно превышать 0,3 % для котлов с механическими топками. Таким образом, котельное хозяйство большинства предприятий ОАО «РЖД» находится в достаточно тяжелом техническом состоянии: до сих пор применяются несовершенные методы сжигания топлива (на простых колосниковых решетках с ручным обслуживанием и т. д.).
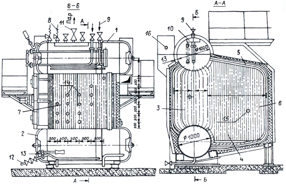
Рисунок 2.2 Схема котла ДЕ-6,5-14ГМ: 1 – верхний барабан; 2 – нижний барабан; 3 – конвективный пучок; 4 – топочная камера; 5 – экран потолка; 6 – задний экран; 7 – перегородки конвективного газохода; 8 – предохранительные клапаны; 9 – ввод питательной воды; 10 – сепарационное устройство; 11 – отвод пара; 12 – трубопровод продувки; 13 – устройство парового обогрева при растопке; 14,15 – лючки для наблюдений,16 – штуцер для отбора проб
Использование устаревших котлоагрегатов приводит к перерасходу топлива и, следовательно, к повышенному уровню загрязнения воздушного бассейна городов и поселков [12].
Рисунок 2.3 Паровой котел Е-1/9: 1 – нижний барабан;
2 – колосниковая решетка; 3, 4 – нижний и верхний
коллекторы бокового экрана; 5 – коллектор потолочно-
фронтового экрана; 6, 7 – боковой и потолочный фронтовые
экраны; 8 – верхний барабан; 9 – устройство для обдувки;
10 – конвективный пучок
Поскольку котельные установки являются мощными источниками загрязнения воздуха, в целях стабилизации экологической обстановки важнейшими задачами, стоящими перед специалистами, являются внедрение в котельных предприятий железнодорожного транспорта малоотходных технологий сжигания топлива и мероприятий по снижению вредных выбросов в атмосферу, включая очистку дымовых газов [12].
В исследованиях, посвященных вопросу схем приготовления ВМЭ [13-16], установлено, что для достижения поставленной задачи ВМЭ должна быть приготовлена в виде однородной смеси мазута и добавляемой влаги по типу "вода-масло", в которой вода как дисперсная фаза в виде частиц диаметром несколько микрометров находится внутри топливной оболочки. Только при соблюдении этого условия и влажности ВМЭ до 20% обеспечиваются надежное воспламенение и устойчивое ее горение с высокой полнотой сгорания.
Повышенная эффективность процесса горения эмульсии (даже при предельно низких избытках воздуха) обусловлена микровзрывом ее капель вследствие различия температур кипения воды и мазута [13-16]. При дополнительном дроблении капель эмульсии достигается ускорение их испарения и улучшается процесс перемешивания топлива с воздухом, в результате чего с учетом наличия в зоне горения продуктов диссоциации воды процесс сгорания мазута существенно интенсифицируется. Для приготовления кондиционных ВМЭ требуемых влажности, дисперсности, вязкости и др. должны применяться соответствующие устройства - эмульгаторы.
Использование в качестве добавочной воды сточных вод дает возможность подвергнуть огневому обезвреживанию значительный их объем (примерно до 20% расхода топлива на котел). Это позволяет перевести котельную на малоотходную технологию (по крайней мере, путем утилизации всех сточных вод, загрязненных нефтепродуктами) [13-16].















